TOP
|
特許
|
意匠
|
商標
特許ウォッチ
Twitter
他の特許を見る
公開番号
2025140430
公報種別
公開特許公報(A)
公開日
2025-09-29
出願番号
2024039834
出願日
2024-03-14
発明の名称
コントローラ及び送風システム
出願人
三菱電機株式会社
代理人
個人
主分類
F04D
27/00 20060101AFI20250919BHJP(液体用容積形機械;液体または圧縮性流体用ポンプ)
要約
【課題】送風対象域における凍結を抑制できるコントローラを得ること。
【解決手段】自動制御運転において送風対象域の温度が高いほど大きい風量で送風機を動作させる温度範囲の下限であり、最小風量で送風機を動作させる温度である最小風量温度を設定する最小風量温度設定入力装置2aと、温度範囲の上限であり最大風量で送風機を動作させる温度である最大風量温度を設定する最大風量温度設定入力装置2bと、送風機を停止させる低温休止制御を開始する上限の温度である低温休止温度を設定する低温休止温度設定入力装置2eと、送風機を制御する制御部60とを備え、制御部60は、自動制御運転中に送風対象域の温度が低温休止温度以下であるとき、低温休止制御によって送風機を停止させる。
【選択図】図2
特許請求の範囲
【請求項1】
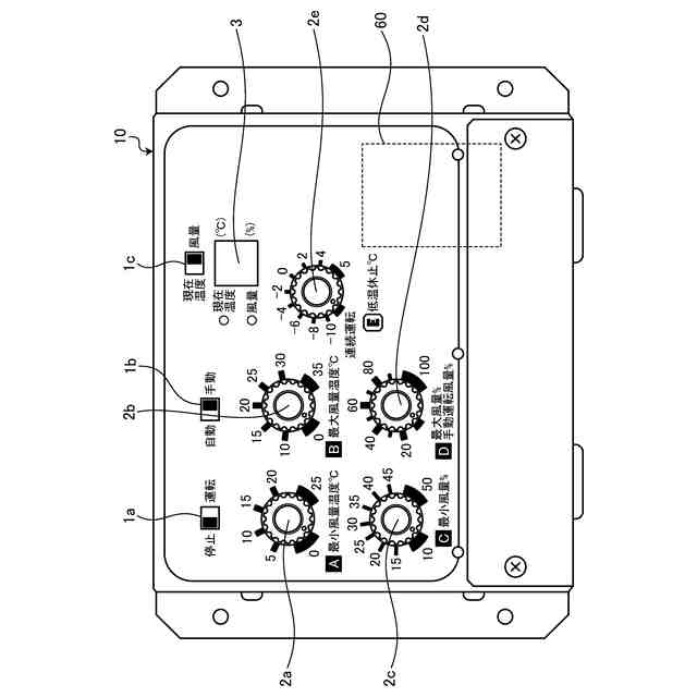
自動制御運転において送風対象域の温度が高いほど大きい風量で送風機を動作させる温度範囲の下限であり、最小風量で前記送風機を動作させる温度である最小風量温度を設定する最小風量温度設定入力装置と、
前記温度範囲の上限であり最大風量で前記送風機を動作させる温度である最大風量温度を設定する最大風量温度設定入力装置と、
前記送風機を停止させる低温休止制御を開始する上限の温度である低温休止温度を設定する低温休止温度設定入力装置と、
前記送風機を制御する制御部とを備え、
前記制御部は、前記自動制御運転中に前記送風対象域の温度が前記低温休止温度以下であるとき、前記低温休止制御によって前記送風機を停止させることを特徴とするコントローラ。
続きを表示(約 290 文字)
【請求項2】
前記低温休止制御を行うか否かを設定する設定入力装置を備えることを特徴とする請求項1に記載のコントローラ。
【請求項3】
予め設定された風量で前記送風機を動作させる手動制御運転と前記自動制御運転とを切り替える制御切替設定入力装置を備えることを特徴とする請求項1に記載のコントローラ。
【請求項4】
送風対象域の温度を検出する温度センサと、
前記送風対象域に設置された少なくとも一つの送風機と、
前記送風機を制御する請求項1から3のいずれか1項に記載のコントローラとを備えることを特徴とする送風システム。
発明の詳細な説明
【技術分野】
【0001】
本開示は、送風機用のコントローラ及び送風システムに関する。
続きを表示(約 1,500 文字)
【背景技術】
【0002】
家畜の飼育に使用される畜舎には、暑熱対策、臭気対策及び敷物の乾燥といった目的のために、送風機が設置されることがある。特許文献1には、畜舎に設置された複数の送風機の運転を一括又は個別に制御するコントローラを有する送風システムが開示されている。特許文献1に開示される送風システムにおいて、コントローラは、温度検出センサによって検出された温度に対応して、送風機を同一又は個別に設定した風量により駆動させる。
【0003】
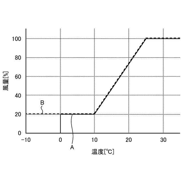
特許文献1に開示される送風システムは、温度に対応した送風機の風量を設定するために、温度範囲の下限と上限とが設定される。特許文献1に開示される送風システムでは、温度の上昇に伴い風量を増加させることにより、温度範囲の下限の時には最小風量で運転し、温度範囲の上限の時には最大風量で運転する。温度範囲の上限以上の温度では、送風の目的は主に暑熱対策であるため、最大風量運転を継続する。温度範囲の下限以下の温度においては、臭気対策又は家畜の疾病対策又は藁などの敷物の乾燥といった目的のために、最小風量運転を継続することが一般的である。
【先行技術文献】
【特許文献】
【0004】
特許第4234413号公報
【発明の概要】
【発明が解決しようとする課題】
【0005】
上記特許文献1に開示される送風システムでは、温度範囲の下限以下の温度においても最小風量運転を継続することにより、寒冷地における冬季の朝方など温度が氷点下近くになった場合には、床、家畜の糞及び搾乳機などに風が当たることで熱が奪われ、床、家畜の糞及び搾乳機などの凍結を促進してしまうという問題があった。
【0006】
本開示は、上記に鑑みてなされたものであって、送風対象域における凍結を抑制できるコントローラを得ることを目的とする。
【課題を解決するための手段】
【0007】
上述した課題を解決し、目的を達成するために、本開示に係るコントローラは、自動制御運転において送風対象域の温度が高いほど大きい風量で送風機を動作させる温度範囲の下限であり、最小風量で送風機を動作させる温度である最小風量温度を設定する最小風量温度設定入力装置と、温度範囲の上限であり最大風量で送風機を動作させる温度である最大風量温度を設定する最大風量温度設定入力装置と、送風機を停止させる低温休止制御を開始する上限の温度である低温休止温度を設定する低温休止温度設定入力装置と、送風機を制御する制御部とを備える。制御部は、自動制御運転中に送風対象域の温度が低温休止温度以下であるとき、低温休止制御によって送風機を停止させる。
【発明の効果】
【0008】
本開示によれば、送風対象域における凍結を抑制できるコントローラを得られるという効果を奏する。
【図面の簡単な説明】
【0009】
実施の形態1に係るコントローラを用いた送風システムの構成を模式的に示す図
実施の形態1に係るコントローラの正面図
実施の形態1に係るコントローラの機能ブロック図
実施の形態1に係るコントローラの運転設定動作の流れを示すフローチャート
実施の形態1に係るコントローラを用いた送風システムの自動制御運転での風量制御例を示す図
実施の形態1に係るコントローラが備える制御部を実現するハードウェア構成の一例を示す図
【発明を実施するための形態】
【0010】
以下に、実施の形態に係るコントローラ及び送風システムを図面に基づいて詳細に説明する。
(【0011】以降は省略されています)
この特許をJ-PlatPat(特許庁公式サイト)で参照する
関連特許
三菱電機株式会社
増幅器
17日前
三菱電機株式会社
換気扇
26日前
三菱電機株式会社
冷蔵庫
13日前
三菱電機株式会社
換気扇
26日前
三菱電機株式会社
扇風機
11日前
三菱電機株式会社
換気扇
26日前
三菱電機株式会社
電子機器
27日前
三菱電機株式会社
収集装置
24日前
三菱電機株式会社
照明装置
4日前
三菱電機株式会社
半導体装置
12日前
三菱電機株式会社
保護リレー
12日前
三菱電機株式会社
空気調和機
19日前
三菱電機株式会社
半導体装置
1か月前
三菱電機株式会社
光源デバイス
4日前
三菱電機株式会社
点検管理装置
11日前
三菱電機株式会社
炊飯システム
13日前
三菱電機株式会社
貯湯式給湯機
13日前
三菱電機株式会社
調理システム
13日前
三菱電機株式会社
制御システム
4日前
三菱電機株式会社
照明システム
1か月前
三菱電機株式会社
貯湯式給湯機
4日前
三菱電機株式会社
貯湯式給湯機
14日前
三菱電機株式会社
空調システム
17日前
三菱電機株式会社
空調システム
6日前
三菱電機株式会社
ねじ締め装置
17日前
三菱電機株式会社
誘導加熱調理器
26日前
三菱電機株式会社
樹脂成形用金型
17日前
三菱電機株式会社
移動体監視装置
3日前
三菱電機株式会社
道路情報補正装置
19日前
三菱電機株式会社
ヒートポンプ装置
20日前
三菱電機株式会社
レンズモジュール
24日前
三菱電機株式会社
運転支援システム
11日前
三菱電機株式会社
全館空調システム
24日前
三菱電機株式会社
電流切替型DAC
1か月前
三菱電機株式会社
空気調和システム
4日前
三菱電機株式会社
回転電機ユニット
3日前
続きを見る
他の特許を見る