TOP
|
特許
|
意匠
|
商標
特許ウォッチ
Twitter
他の特許を見る
10個以上の画像は省略されています。
公開番号
2025138291
公報種別
公開特許公報(A)
公開日
2025-09-25
出願番号
2024037299
出願日
2024-03-11
発明の名称
半導体装置及びヒートシンク
出願人
三菱電機株式会社
代理人
個人
,
個人
,
個人
主分類
H01L
23/40 20060101AFI20250917BHJP(基本的電気素子)
要約
【課題】半導体モジュールとヒートシンクとを締結部材によって締結する際に、放熱材の内部に応力差が発生することを抑制し、半導体モジュールの絶縁基板等に応力によるクラックが発生することを抑制できる半導体装置を提供することを目的とする。
【解決手段】本開示に係る半導体装置は、放熱板を有する半導体モジュールと、半導体モジュールが実装される実装面を有するヒートシンクと、放熱板とヒートシンクとの間に介在し、柔軟性を有する放熱材と、を備え、半導体モジュール及びヒートシンクは、締結部材によって締結され、半導体モジュール及びヒートシンクは、それぞれ締結部材が取り付けられる締結部を有し、締結部において半導体モジュールとヒートシンクとの間にスペーサを有する。
【選択図】図1
特許請求の範囲
【請求項1】
放熱板を有する半導体モジュールと、
前記半導体モジュールが実装される実装面を有するヒートシンクと、
前記放熱板と前記ヒートシンクとの間に介在し、柔軟性を有する放熱材と、を備え、
前記半導体モジュール及び前記ヒートシンクは、締結部材によって締結され、
前記半導体モジュール及び前記ヒートシンクは、それぞれ前記締結部材が取り付けられる締結部を有し、
前記締結部において前記半導体モジュールと前記ヒートシンクとの間にスペーサを有する半導体装置。
続きを表示(約 630 文字)
【請求項2】
前記スペーサの高さは、前記放熱材の最大厚さ以下である請求項1に記載の半導体装置。
【請求項3】
前記スペーサは、前記ヒートシンクの前記実装面に接して設けられる請求項1に記載の半導体装置。
【請求項4】
前記スペーサは前記ヒートシンクと一体的に設けられる請求項3に記載の半導体装置。
【請求項5】
前記半導体モジュールは外周にケース材を有し、
前記半導体モジュール側の前記締結部は前記ケース材に設けられる請求項1に記載の半導体装置。
【請求項6】
前記半導体モジュール側の前記締結部は前記放熱板に設けられる請求項1に記載の半導体装置。
【請求項7】
前記締結部は、少なくとも2か所以上設けられる請求項1に記載の半導体装置。
【請求項8】
前記半導体モジュールは半導体チップを有し、
前記ヒートシンクは、前記実装面のうち前記半導体チップと対応する位置において、凸部を有し、
前記凸部の高さは、前記スペーサの高さ以下である請求項1に記載の半導体装置。
【請求項9】
前記凸部は、前記半導体モジュールの中心部に向かうにつれて高くなるように設けられる請求項8に記載の半導体装置。
【請求項10】
前記凸部は、階段状に設けられる請求項9に記載の半導体装置。
(【請求項11】以降は省略されています)
発明の詳細な説明
【技術分野】
【0001】
本開示は、半導体装置及びヒートシンクに関する。
続きを表示(約 1,800 文字)
【背景技術】
【0002】
ヒートシンクと半導体モジュールとの間に放熱シートまたはグリース等の柔軟性を有する放熱材を介在させることで、半導体モジュールの発する熱を放熱させる従来技術が知られている。また、半導体モジュールとヒートシンクとをねじ等の締結部材によって締結する従来技術が知られている。
【0003】
従来の半導体モジュールとヒートシンクの構造は、例えば特許文献1に記載されている。特許文献1には、ベースプレートを有する半導体モジュールと半導体モジュールが実装される実装面を有するヒートシンクとが設けられたパワー半導体モジュールが開示されている。また、半導体モジュールの下面に設けられたベースプレートとヒートシンクとの間には放熱材である熱伝導グリースが介在しており、半導体モジュールとヒートシンクとは、ねじによって締結されている。
【先行技術文献】
【特許文献】
【0004】
特開2023-129号公報
【発明の概要】
【発明が解決しようとする課題】
【0005】
特許文献1に記載されたパワー半導体モジュールは、半導体モジュールとヒートシンクとをねじによって締結する際に軸力が発生し、締結箇所において軸力が集中する。軸力が締結箇所に集中することによって、半導体モジュールの締結個所が、締結個所から離れた半導体モジュールの中心部に対して沈み込む。そうすると、半導体モジュールの下面に設けられたベースプレートとヒートシンクとの間に介在する放熱材の内部において締結個所付近と締結個所から離れた中心部とで応力差が発生する。放熱材内部に発生した応力差によって、半導体モジュールを構成する絶縁基板等の比較的柔軟性がない部材にクラックが生じる課題があった。
【0006】
本開示は上記した問題点を解決するためになされたものであり、半導体モジュールとヒートシンクとを締結部材によって締結する際に、放熱材の内部に応力差が発生することを抑制し、半導体モジュールの絶縁基板等に応力によるクラックが発生することを抑制できる半導体装置を提供することを目的とする。
【課題を解決するための手段】
【0007】
本開示に係る半導体装置は、放熱板を有する半導体モジュールと、前記半導体モジュールが実装される実装面を有するヒートシンクと、前記放熱板と前記ヒートシンクとの間に介在し、柔軟性を有する放熱材と、を備え、前記半導体モジュール及び前記ヒートシンクは、締結部材によって締結され、前記半導体モジュール及び前記ヒートシンクは、それぞれ前記締結部材が取り付けられる締結部を有し、前記締結部において前記半導体モジュールと前記ヒートシンクとの間にスペーサを有する。
【発明の効果】
【0008】
本開示に係る半導体装置によれば、半導体モジュールとヒートシンクとを締結部材によって締結する際に、放熱材の内部に応力差が発生することを抑制し、半導体モジュールの絶縁基板等に応力によるクラックが発生することを抑制できる。
【図面の簡単な説明】
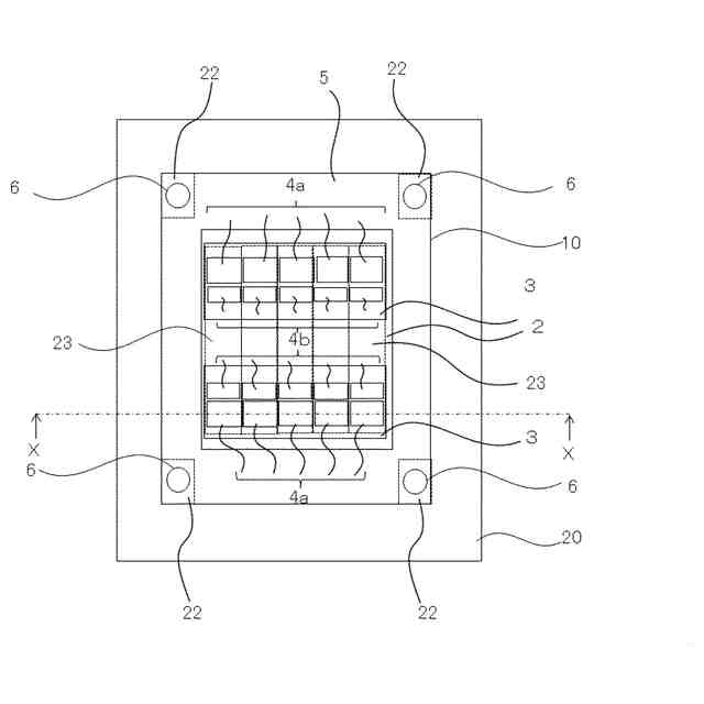
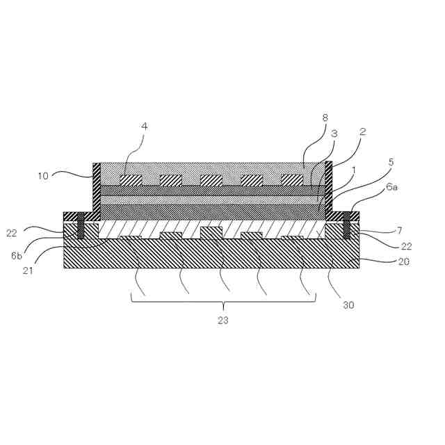
【0009】
実施の形態1に係る半導体装置の概略断面図である。
実施の形態1に係る半導体装置の概略上面図である。
実施の形態1に係る半導体装置の概略断面図である。
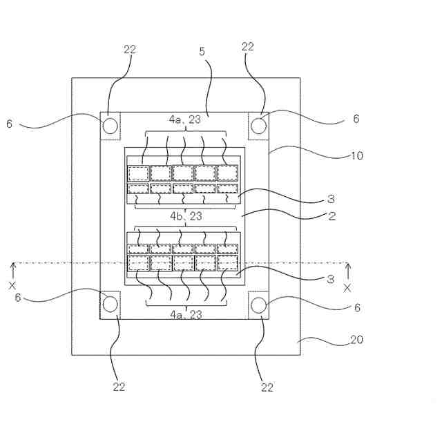
実施の形態2に係る半導体装置の概略断面図である。
実施の形態2に係る半導体装置の概略上面図である。
実施の形態2の変形例1に係る半導体装置の概略断面図である。
実施の形態2の変形例1に係る半導体装置の概略上面図である。
実施の形態2の変形例2に係る半導体装置の概略断面図である。
実施の形態2の変形例2に係る半導体装置の概略上面図である。
実施の形態2の変形例3に係る半導体装置の概略断面図である。
実施の形態2の変形例3に係る半導体装置の概略上面図である。
【発明を実施するための形態】
【0010】
<はじめに>
半導体装置の深さ方向と平行な方向における一方の側を「上」、他方の側を「下」と称する。基板、層またはその他の部材の2つの主面のうち、一方の面を上面、他方の面を下面と称する。「上」、「下」の方向は、重力方向または半導体装置の実装時における方向に限定されない。
(【0011】以降は省略されています)
この特許をJ-PlatPat(特許庁公式サイト)で参照する
関連特許
三菱電機株式会社
回転電機
1か月前
三菱電機株式会社
照明装置
20日前
三菱電機株式会社
回転電機
1か月前
三菱電機株式会社
回転電機
20日前
三菱電機株式会社
換気装置
1か月前
三菱電機株式会社
照明器具
1か月前
三菱電機株式会社
回転電機
10日前
三菱電機株式会社
照明装置
1か月前
三菱電機株式会社
半導体装置
1か月前
三菱電機株式会社
加熱調理器
13日前
三菱電機株式会社
半導体装置
20日前
三菱電機株式会社
半導体装置
今日
三菱電機株式会社
半導体装置
14日前
三菱電機株式会社
半導体装置
1か月前
三菱電機株式会社
半導体装置
1か月前
三菱電機株式会社
空気調和装置
21日前
三菱電機株式会社
車両制御装置
22日前
三菱電機株式会社
ネジ取出機構
21日前
三菱電機株式会社
電力変換装置
1か月前
三菱電機株式会社
貯湯式給湯機
10日前
三菱電機株式会社
給湯システム
13日前
三菱電機株式会社
電力変換装置
20日前
三菱電機株式会社
回転電機装置
1か月前
三菱電機株式会社
照明システム
今日
三菱電機株式会社
給湯機システム
1か月前
三菱電機株式会社
電動機制御装置
6日前
三菱電機株式会社
送電線保護装置
20日前
三菱電機株式会社
非常用照明装置
13日前
三菱電機株式会社
はんだ処理装置
1か月前
三菱電機株式会社
屋外設置用筐体
1か月前
三菱電機株式会社
風力発電システム
10日前
三菱電機株式会社
照明制御システム
7日前
三菱電機株式会社
換気空調システム
10日前
三菱電機株式会社
照明制御システム
20日前
三菱電機株式会社
ウエハテスト装置
20日前
三菱電機株式会社
変圧器の診断方法
28日前
続きを見る
他の特許を見る