TOP
|
特許
|
意匠
|
商標
特許ウォッチ
Twitter
他の特許を見る
10個以上の画像は省略されています。
公開番号
2025135743
公報種別
公開特許公報(A)
公開日
2025-09-19
出願番号
2024033678
出願日
2024-03-06
発明の名称
半導体装置および電力変換装置
出願人
三菱電機株式会社
代理人
弁理士法人深見特許事務所
主分類
H01L
25/07 20060101AFI20250911BHJP(基本的電気素子)
要約
【課題】ショート不良の発生が抑制された半導体装置を提供する。
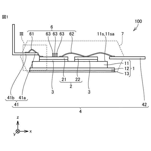
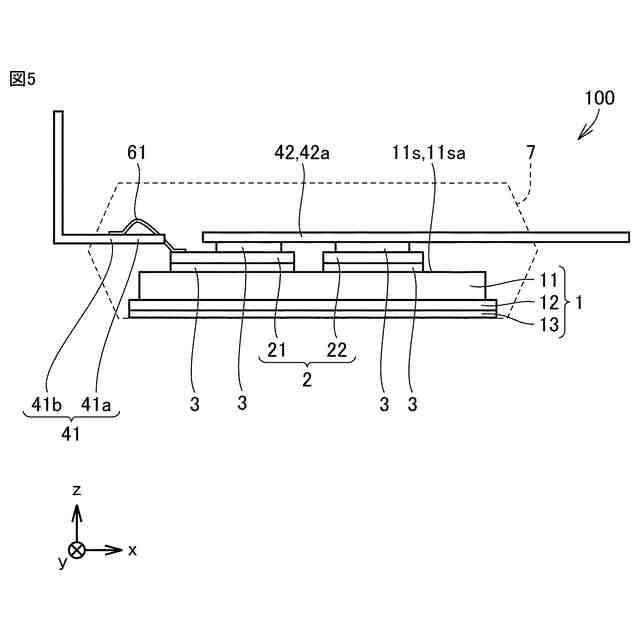
【解決手段】半導体装置100は、基材1と、半導体素子2と、端子4と、金属ワイヤ6とを備える。半導体素子2は、基材1の上に配置されている。端子4は、基材1からみて半導体素子2より遠い位置に配置されている。金属ワイヤ6は、半導体素子2と端子4とを接続する。端子4には切欠部hが設けられている。金属ワイヤ6の一部は、切欠部hに挿通されている。
【選択図】図1
特許請求の範囲
【請求項1】
基材と、
前記基材の上に配置されている半導体素子と、
前記基材からみて前記半導体素子より遠い位置に配置されている端子と、
前記半導体素子と前記端子とを接続する金属ワイヤとを備え、
前記端子には切欠部が設けられており、
前記金属ワイヤの一部は、前記切欠部に挿通されている、半導体装置。
続きを表示(約 750 文字)
【請求項2】
前記半導体素子は、主電極と信号電極とを有し、
前記端子は、前記主電極と接合部を介して接続されている主端子と、前記信号電極と前記金属ワイヤを介して接続されている信号端子とを有している、請求項1に記載の半導体装置。
【請求項3】
前記端子は、前記基材の平面視において前記基材に重なっている先端領域と、前記先端領域以外の外部領域とを含み、
前記金属ワイヤは、前記外部領域に接続されている、請求項1または請求項2に記載の半導体装置。
【請求項4】
前記切欠部は、前記端子の幅方向における中央に設けられている、請求項1または請求項2に記載の半導体装置。
【請求項5】
前記切欠部は、前記中央に向かって傾斜している傾斜面を有する、請求項4に記載の半導体装置。
【請求項6】
前記切欠部は、前記中央に向かって突出している返し面を有する、請求項4に記載の半導体装置。
【請求項7】
前記切欠部は、前記端子の幅方向における端に設けられている、請求項1または請求項2に記載の半導体装置。
【請求項8】
前記金属ワイヤは、前記半導体素子から最も遠い頂点部と、前記端子に接している接続部とを有し、
前記端子は、前記基材の主面に対して垂直な方向において前記接続部と前記頂点部との間に位置する傾斜部を有する、請求項1または請求項2に記載の半導体装置。
【請求項9】
請求項1または請求項2に記載の半導体装置を有し、入力される電力を変換して出力する主変換回路と、
前記主変換回路を制御する制御信号を前記主変換回路に出力する制御回路とを備えた、電力変換装置。
発明の詳細な説明
【技術分野】
【0001】
本開示は、半導体装置および電力変換装置に関する。
続きを表示(約 1,300 文字)
【背景技術】
【0002】
従来、半導体装置における内部配線を形成する方法として、金属ワイヤを用いたワイヤボンディング法が知られている(例えば、実全平1‐163345号公報参照)。実全平1‐163345号公報では、端子が延在する方向に沿って金属ワイヤが形成されている。
【先行技術文献】
【特許文献】
【0003】
実全平1‐163345号公報
【発明の概要】
【発明が解決しようとする課題】
【0004】
しかし、トランスファーモールドタイプの半導体装置において、封止樹脂としてモールド樹脂を注入する際に、当該モールド樹脂によって金属ワイヤが変形することがある。その結果、金属ワイヤの変形によってショート不良が発生するおそれがある。
【0005】
本開示は、上記のような課題を解決するために成されたものであり、本開示の目的は、ショート不良の発生が抑制された半導体装置を提供することである。
【課題を解決するための手段】
【0006】
本開示に従った半導体装置は、基材と、半導体素子と、端子と、金属ワイヤとを備える。半導体素子は、基材の上に配置されている。端子は、基材からみて半導体素子より遠い位置に配置されている。金属ワイヤは、半導体素子と端子とを接続する。端子には切欠部が設けられている。金属ワイヤの一部は、切欠部に挿通されている。
【0007】
本開示に従った電力変換装置は、主変換回路と、制御回路とを備える。主変換回路は、上記半導体装置を有し、入力される電力を変換して出力する。制御回路は、主変換回路を制御する制御信号を主変換回路に出力する。
【発明の効果】
【0008】
上記によれば、ショート不良の発生が抑制された半導体装置を得ることができる。
【図面の簡単な説明】
【0009】
実施の形態1に係る半導体装置の側面図である。
実施の形態1に係る半導体装置の平面図である。
図1の領域IIIにおける部分拡大側面図である。
実施の形態1に係る信号端子の平面図である。
実施の形態2に係る半導体装置の側面図である。
実施の形態2に係る半導体装置の平面図である。
実施の形態3に係る半導体装置の側面図である。
実施の形態3に係る半導体装置の平面図である。
実施の形態3に係る信号端子の平面図である。
実施の形態4に係る半導体装置の側面図である。
図10の領域XIにおける部分拡大側面図である。
実施の形態5に係る信号端子の平面図である。
実施の形態6に係る信号端子の平面図である。
実施の形態7に係る電力変換装置を適用した電力変換システムの構成を示すブロック図である。
【発明を実施するための形態】
【0010】
以下、本開示の実施の形態を説明する。なお、特に言及しない限り、以下の図面において同一または対応する部分には同一の参照番号を付し、その説明は繰り返さない。
(【0011】以降は省略されています)
この特許をJ-PlatPat(特許庁公式サイト)で参照する
関連特許
三菱電機株式会社
換気扇
今日
三菱電機株式会社
換気扇
今日
三菱電機株式会社
換気扇
今日
三菱電機株式会社
照明装置
26日前
三菱電機株式会社
回転電機
16日前
三菱電機株式会社
電子機器
1日前
三菱電機株式会社
回転電機
26日前
三菱電機株式会社
加熱調理器
19日前
三菱電機株式会社
半導体装置
20日前
三菱電機株式会社
半導体装置
26日前
三菱電機株式会社
半導体装置
6日前
三菱電機株式会社
半導体装置
1か月前
三菱電機株式会社
照明システム
6日前
三菱電機株式会社
電力変換装置
26日前
三菱電機株式会社
ネジ取出機構
27日前
三菱電機株式会社
空気調和装置
27日前
三菱電機株式会社
給湯システム
19日前
三菱電機株式会社
車両制御装置
28日前
三菱電機株式会社
貯湯式給湯機
16日前
三菱電機株式会社
電力変換装置
1か月前
三菱電機株式会社
送電線保護装置
26日前
三菱電機株式会社
電動機制御装置
12日前
三菱電機株式会社
屋外設置用筐体
1か月前
三菱電機株式会社
誘導加熱調理器
今日
三菱電機株式会社
非常用照明装置
19日前
三菱電機株式会社
風力発電システム
16日前
三菱電機株式会社
電流切替型DAC
6日前
三菱電機株式会社
換気空調システム
16日前
三菱電機株式会社
ウエハテスト装置
26日前
三菱電機株式会社
変圧器の診断方法
1か月前
三菱電機株式会社
照明制御システム
26日前
三菱電機株式会社
照明制御システム
13日前
三菱電機株式会社
空気清浄システム
19日前
三菱電機株式会社
コントロールセンタ
26日前
三菱電機株式会社
照明器具及び照明装置
26日前
三菱電機株式会社
保護継電器及び配電盤
今日
続きを見る
他の特許を見る