TOP
|
特許
|
意匠
|
商標
特許ウォッチ
Twitter
他の特許を見る
10個以上の画像は省略されています。
公開番号
2025150068
公報種別
公開特許公報(A)
公開日
2025-10-09
出願番号
2024050747
出願日
2024-03-27
発明の名称
超音速飛翔環境模擬装置および超音速飛翔環境模擬方法
出願人
三菱電機株式会社
,
学校法人日本大学
代理人
弁理士法人ぱるも特許事務所
主分類
G01M
9/00 20060101AFI20251002BHJP(測定;試験)
要約
【課題】極超音速中のプラズマを評価が可能な超音速飛翔環境を小型な装置で模擬する。
【解決手段】測定室2、測定空間2sに連通する加速空間3sを有する誘電体容器31と、誘電体容器31の外周に設けられ、軸Xが加速空間3sのなかで測定空間2sに向かって延びるコイル32とを有する加速室3、およびコイル32に電流を印加する電源、を備え、コイル32に電源から電流が印加された際に、加速空間3sのなかで軸Xに沿って測定空間2sに近い側が低くなる磁気圧勾配を形成し、加速空間3s内のプラズマPを測定空間2sに向けて加速するように構成した。
【選択図】図1
特許請求の範囲
【請求項1】
被測定物体を設置する測定空間を有する測定室、
前記測定空間に連通する加速空間を有する誘電体容器と、前記誘電体容器の外周に設けられ、軸が前記加速空間のなかで前記測定空間に向かって延びるコイルとを有する加速室、および
前記コイルに電流を印加する電源、を備え、
前記コイルに前記電源から電流が印加された際に、前記加速空間のなかで前記軸に沿って前記測定空間に近い側が低くなる磁気圧勾配を形成し、前記加速空間内のプラズマを前記測定空間に向けて加速することを特徴とする超音速飛翔環境模擬装置。
続きを表示(約 810 文字)
【請求項2】
前記コイルは、前記軸に沿って前記測定空間に近づくほど、径が大きくなっていることを特徴とする請求項1に記載の超音速飛翔環境模擬装置。
【請求項3】
前記コイルは、前記軸に沿って前記測定空間に近づくほど、巻線密度が小さくなっていることを特徴とする請求項1に記載の超音速飛翔環境模擬装置。
【請求項4】
前記電源は前記コイルへの印加電流を急変させる機能を有し、
前記コイルへの印加電流が変化した際の電磁誘導により、前記加速空間に供給されたガスからプラズマを生成することを特徴とする請求項1から3のいずれか1項に記載の超音速飛翔環境模擬装置。
【請求項5】
前記加速空間にプラズマを供給するプラズマ供給部を備えたことを特徴とする請求項1から3のいずれか1項に記載の超音速飛翔環境模擬装置。
【請求項6】
前記コイルに電流が印加されるタイミングに応じて動作する高周波送受信機、および
前記高周波送受信機に接続され、前記測定空間に向けての電磁波の放射と反射波の受信を行うアンテナ、
を備えたことを特徴とする請求項1から3のいずれか1項に記載の超音速飛翔環境模擬装置。
【請求項7】
前記測定室は誘電体の壁材で形成され、前記アンテナが前記測定空間の外側に設けられていることを特徴とする請求項6に記載の超音速飛翔環境模擬装置。
【請求項8】
被測定物体が設置された測定空間に連通する加速空間のなかで、前記測定空間に近い側が低くなる磁気圧勾配を形成し、前記加速空間内のプラズマを前記測定空間に向けて加速することを特徴とする超音速飛翔環境模擬方法。
【請求項9】
電磁誘導により、前記加速空間に供給されたガスからプラズマを生成することを特徴とする請求項8に記載の超音速飛翔環境模擬方法。
発明の詳細な説明
【技術分野】
【0001】
本開示は、超音速飛翔環境模擬装置および超音速飛翔環境模擬方法に関するものである。
続きを表示(約 1,800 文字)
【背景技術】
【0002】
各種流体機械、飛行機、宇宙ロケット等の開発において、例えば、被測定物体が超音速で飛翔する環境を模擬する装置、つまり超音速飛翔環境模擬装置が必要とされる。そのような装置として、被測定物体に対して、高エンタルピーの気流を極超音速に加速して噴射するアーク放電部を有する超音速風洞装置が開示されている(例えば、特許文献1参照。)。
【先行技術文献】
【特許文献】
【0003】
特開平08-271373(段落0003、図3)
【発明の概要】
【発明が解決しようとする課題】
【0004】
しかしながら、超音速中に熱平衡垂直衝撃波によって被測定物体の表面に形成されるプラズマの影響を評価しようとする場合、非常に大型の装置が必要になったりする。あるいは、風洞または被測定物体として用いる模型の強度の制約から、測定自体が困難になったりするという問題があった。
【0005】
本開示は、上記の課題を解決するものであり、極超音速中のプラズマによる影響の評価が可能な超音速飛翔環境を小型な装置で模擬できるようにすることを目的とする。
【課題を解決するための手段】
【0006】
本開示の超音速飛翔環境模擬装置は、被測定物体を設置する測定空間を有する測定室、前記測定空間に連通する加速空間を有する誘電体容器と、前記誘電体容器の外周に設けられ、軸が前記加速空間のなかで前記測定空間に向かって延びるコイルとを有する加速室、および前記コイルに電流を印加する電源、を備え、前記コイルに前記電源から電流が印加された際に、前記加速空間のなかで前記軸に沿って前記測定空間に近い側が低くなる磁気圧勾配を形成し、前記加速空間内のプラズマを前記測定空間に向けて加速することを特徴とする。
【0007】
本開示の超音速飛翔環境模擬方法は、被測定物体が設置された測定空間に連通する加速空間のなかで、前記測定空間に近い側が低くなる磁気圧勾配を形成し、前記加速空間内のプラズマを前記測定空間に向けて加速することを特徴とする。
【発明の効果】
【0008】
本開示の超音速飛翔環境模擬装置あるいは超音速飛翔環境模擬方法によれば、磁気圧勾配によってプラズマを加速するので、小型な装置で極超音速中のプラズマによる影響の評価が可能な超音速飛翔環境を模擬できる。
【図面の簡単な説明】
【0009】
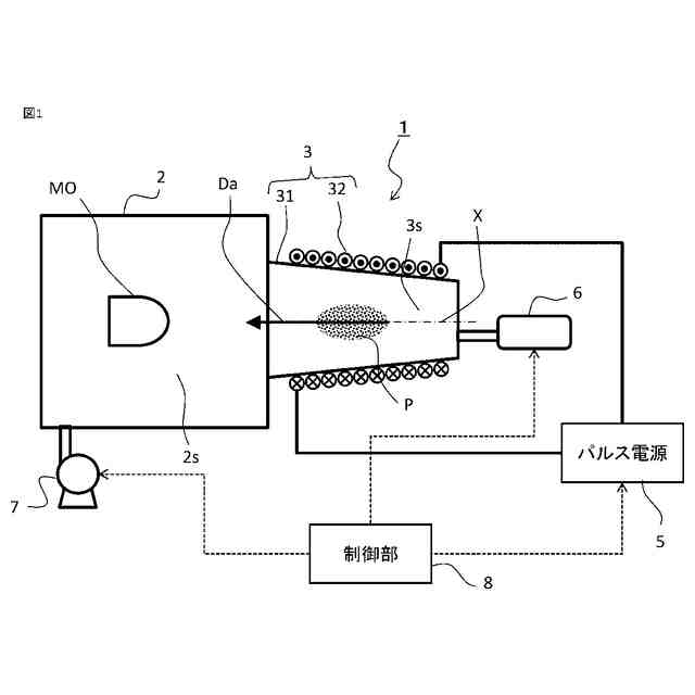
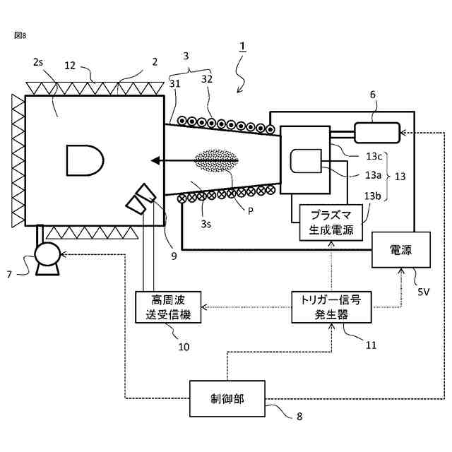
実施の形態1にかかる超音速飛翔環境模擬装置の構成を示す模式図である。
図2A~図2Dは、実施の形態1にかかる超音速飛翔環境模擬装置の動作原理を説明するための、それぞれ段階ごとの測定室と加速室の状態を示す模式図である。
実施の形態1にかかる超音速飛翔環境模擬装置の動作を説明するためのフローチャートである。
本開示の超音速飛翔環境模擬装置の制御部のハードウエア構成を示すブロック図である。
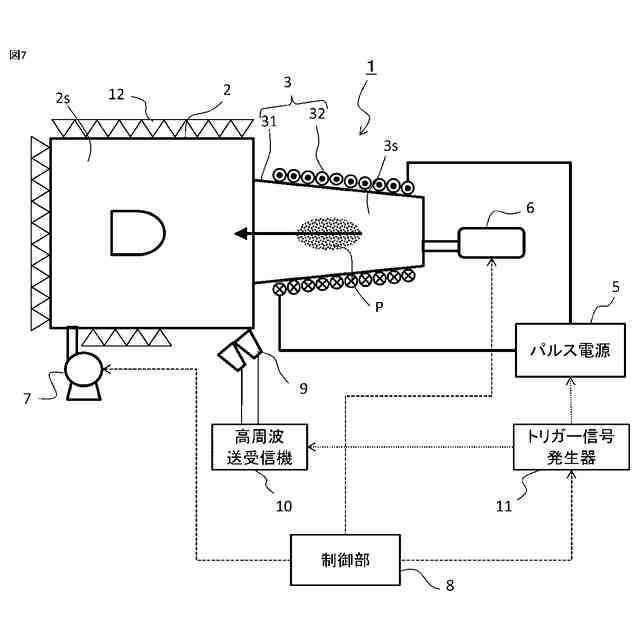
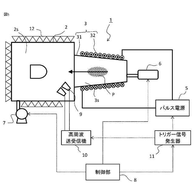
実施の形態2にかかる超音速飛翔環境模擬装置の構成を示す模式図である。
実施の形態2にかかる超音速飛翔環境模擬装置の動作を説明するためのフローチャートである。
実施の形態2の変形例にかかる超音速飛翔環境模擬装置の構成を示す模式図である。
実施の形態3にかかる超音速飛翔環境模擬装置の構成を示す模式図である。
実施の形態3にかかる超音速飛翔環境模擬装置の動作を説明するためのフローチャートである。
【発明を実施するための形態】
【0010】
実施の形態1.
図1~図3は実施の形態1にかかる超音速飛翔環境模擬装置の構成と動作、あるいは超音速飛翔環境模擬方法について説明するためのもので、図1は超音速飛翔環境模擬装置の構成を示すために測定室と加速室を断面表示したブロック図形式の模式図である。そして、図2A~図2Dは、超音速飛翔環境模擬装置の動作原理を説明するための、それぞれ段階ごとの測定室と加速室を含む主要部分の状態を示す断面を模擬した模式図、図3は超音速飛翔環境模擬装置の動作、つまり超音速飛翔環境模擬方法を説明するためのフローチャートである。
(【0011】以降は省略されています)
この特許をJ-PlatPat(特許庁公式サイト)で参照する
関連特許
三菱電機株式会社
換気扇
1か月前
三菱電機株式会社
冷蔵庫
19日前
三菱電機株式会社
増幅器
23日前
三菱電機株式会社
換気扇
1か月前
三菱電機株式会社
扇風機
17日前
三菱電機株式会社
換気扇
1か月前
三菱電機株式会社
照明装置
10日前
三菱電機株式会社
収集装置
1か月前
三菱電機株式会社
電子機器
1か月前
三菱電機株式会社
回転電機
1か月前
三菱電機株式会社
半導体装置
1か月前
三菱電機株式会社
半導体装置
18日前
三菱電機株式会社
保護リレー
18日前
三菱電機株式会社
加熱調理器
4日前
三菱電機株式会社
回路遮断器
4日前
三菱電機株式会社
空気調和機
25日前
三菱電機株式会社
照明システム
1か月前
三菱電機株式会社
ねじ締め装置
23日前
三菱電機株式会社
点検管理装置
17日前
三菱電機株式会社
空調システム
23日前
三菱電機株式会社
炊飯システム
19日前
三菱電機株式会社
空調システム
12日前
三菱電機株式会社
調理システム
19日前
三菱電機株式会社
光源デバイス
10日前
三菱電機株式会社
貯湯式給湯機
10日前
三菱電機株式会社
制御システム
10日前
三菱電機株式会社
貯湯式給湯機
19日前
三菱電機株式会社
貯湯式給湯機
20日前
三菱電機株式会社
空気清浄装置
4日前
三菱電機株式会社
貯湯式給湯機
1か月前
三菱電機株式会社
移動体監視装置
9日前
三菱電機株式会社
電動機制御装置
1か月前
三菱電機株式会社
樹脂成形用金型
23日前
三菱電機株式会社
誘導加熱調理器
1か月前
三菱電機株式会社
風力発電システム
1か月前
三菱電機株式会社
照明制御システム
1か月前
続きを見る
他の特許を見る