TOP
|
特許
|
意匠
|
商標
特許ウォッチ
Twitter
他の特許を見る
公開番号
2025153032
公報種別
公開特許公報(A)
公開日
2025-10-10
出願番号
2024055291
出願日
2024-03-29
発明の名称
エレベータ装置
出願人
三菱電機ビルソリューションズ株式会社
,
三菱電機株式会社
代理人
個人
,
個人
,
個人
主分類
B66B
7/12 20060101AFI20251002BHJP(巻上装置;揚重装置;牽引装置)
要約
【課題】短時間かつ必要最小限の洗浄液にて清掃することができるエレベータ装置を提供する。
【解決手段】昇降路内を昇降する乗りかごの移動経路に沿って設けられ、昇降路内の位置情報を有するリニアスケールと、乗りかごに設けられリニアスケールから位置情報を読み取る読取手段と、読取手段により読み取られた位置情報に基づいて、乗りかごの運転を制御するエレベータ制御手段と、を備えるエレベータ装置であって、リニアスケールに洗浄液を放水する放水手段と、読取手段により読み取られた位置情報に基づいて、放水手段に放水させる放水制御手段とを備える。
【選択図】図2
特許請求の範囲
【請求項1】
昇降路内を昇降する乗りかごの移動経路に沿って設けられ、前記昇降路内の位置情報を有するリニアスケールと、前記乗りかごに設けられ前記リニアスケールから前記位置情報を読み取る読取手段と、前記読取手段により読み取られた前記位置情報に基づいて、前記乗りかごの運転を制御するエレベータ制御手段と、を備えるエレベータ装置であって、
前記リニアスケールに洗浄液を放水する放水手段と、前記読取手段により読み取られた前記位置情報に基づいて、前記放水手段に放水させる放水制御手段と、を備えるエレベータ装置。
続きを表示(約 140 文字)
【請求項2】
前記乗りかごが昇降するときの走行風を集める集風手段と、前記集風手段で集められた前記走行風を前記リニアスケールに吹き出す第1のノズルと、前記集風手段で集められた前記走行風を前記読取手段に吹き出す第2のノズルと、を備える請求項1に記載のエレベータ装置。
発明の詳細な説明
【技術分野】
【0001】
本開示は、エレベータの昇降路内の全長にわたって設けられたリニアスケールの値を、乗りかごの読取装置で読み取り、位置情報を取得して乗りかごを運転制御するエレベータ装置における、リニアスケールの清掃に関するものである。
続きを表示(約 1,600 文字)
【背景技術】
【0002】
リニアスケールを適用したエレベータ装置としては、例えば特許文献1のような技術があるが、リニアスケールの清掃については考慮されていない。
また、清掃対象がリニアスケールとは異なるが、昇降路内に配設されたロープの清掃に関しては、乗りかごが最上階から最下階に移動する際に、ロープに洗浄液を吹きかける技術が開示されている。(例えば、特許文献2)。
【先行技術文献】
【特許文献】
【0003】
特許第6167885号公報
特開第2002-362852号公報
【発明の概要】
【発明が解決しようとする課題】
【0004】
エレベータの昇降路内の全長にわたって設けられたリニアスケールに対して、特許文献2のようなロープの清掃を適用しようとすると、リニアスケールの清掃では、エレベータの昇降路の全長にわたって清掃するための作業時間と洗浄液が大量に必要となるといった課題がある。
【0005】
本開示は、上記した問題点を解決するためになされたものであり、エレベータ装置は、昇降路内の全長にわたって清掃するのではなく、リニアスケールに付着する埃により読み取れなかった箇所を特定し、短時間かつ必要最小限の洗浄液にて清掃することを目的とする。
【課題を解決するための手段】
【0006】
本開示に係るエレベータ装置は、昇降路内を昇降する乗りかごの移動経路に沿って設けられ、昇降路内の位置情報を有するリニアスケールと、乗りかごに設けられリニアスケールから位置情報を読み取る読取手段と、読取手段により読み取られた位置情報に基づいて、乗りかごの運転を制御するエレベータ制御手段と、を備えるエレベータ装置であって、リニアスケールに洗浄液を放水する放水手段と、読取手段により読み取られた位置情報に基づいて、放水手段に放水させる放水制御手段と、を備えることを特徴とする。
【発明の効果】
【0007】
本開示によれば、エレベータ装置は、昇降路内の全長にわたって清掃するのではなく、リニアスケールに付着する埃により読み取れなかった箇所を特定し、短時間かつ必要最小限の洗浄液にて清掃できるという効果を奏する。
【図面の簡単な説明】
【0008】
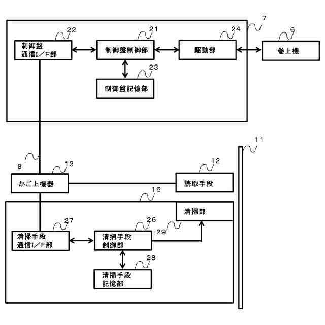
実施の形態1におけるエレベータの全体構成図である。
実施の形態1におけるエレベータ装置のブロック図である。
実施の形態1におけるエレベータ装置の制御盤の位置情報を記憶するフローチャートである。
実施の形態1におけるエレベータ装置の制御盤の位置情報を記憶した結果である。
実施の形態1におけるエレベータ装置のリニアスケールを清掃するフローチャートである。
実施の形態2におけるエレベータ装置の全体構成図である。
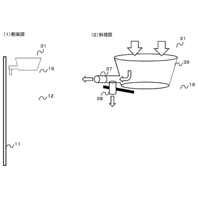
実施の形態2におけるエレベータ装置の乾燥部の外観図である。
【発明を実施するための形態】
【0009】
実施の形態1.
図1を用いて実施の形態1におけるエレベータの全体構成図を説明する。図1は、エレベータ装置が設置されるエレベータの全体構成図である。
【0010】
エレベータは、乗りかご1、主ロープ2、釣合おもり3、巻上機6、制御盤7を備える。
乗りかご1の上端には、主ロープ2の一端が接続され、主ロープ2の他端には、釣合おもり3が接続されている。巻上機6は、乗りかご1と釣合おもり3とが互いに相反する方向に昇降するよう主ロープ2の中間部に設置されている。
エレベータの乗りかご1が昇降する昇降路(図示せず)には、乗りかご1の移動経路に沿って設けられ、昇降路内の位置情報を有するリニアスケール11が設置されている。
(【0011】以降は省略されています)
この特許をJ-PlatPat(特許庁公式サイト)で参照する
関連特許
個人
自走手摺
4か月前
個人
転落防止階段
17日前
個人
小型クレーン
11日前
ユニパルス株式会社
吊具
5か月前
個人
海上コンテナ昇降装置
11か月前
ユニパルス株式会社
荷役装置
10か月前
ユニパルス株式会社
吊具装置
11か月前
株式会社豊田自動織機
荷役車両
10か月前
株式会社豊田自動織機
産業車両
2か月前
株式会社豊田自動織機
荷役車両
9か月前
株式会社いうら
車椅子用昇降機
3か月前
ユニパルス株式会社
リフト装置
5か月前
株式会社豊田自動織機
産業車両
12か月前
水戸工業株式会社
吊り具
7か月前
ユニパルス株式会社
荷役助力装置
6か月前
ユニパルス株式会社
荷役助力装置
4か月前
個人
垂直自動搬送機
2か月前
株式会社伊藤
滑り止め装置
3か月前
株式会社大林組
安全支援システム
2か月前
愛知製鋼株式会社
受け架台
2か月前
岐阜工業株式会社
運搬台車
18日前
白山工業株式会社
バランサ
8か月前
大栄産業株式会社
クランプ
6か月前
ユニパルス株式会社
荷役助力装置
5か月前
個人
エアバック式レスキュー用品
1か月前
個人
アウトリガー用転倒防止ベース
10日前
株式会社キトー
タイヤ用吊具
6か月前
株式会社ユピテル
システム等
7か月前
大和ハウス工業株式会社
吊上具
3か月前
株式会社五十鈴製作所
搬送装置
5か月前
株式会社豊田自動織機
フォークリフト
1か月前
株式会社豊田自動織機
フォークリフト
8か月前
新英運輸株式会社
自動車用台車
6か月前
フジテック株式会社
エレベータ
10か月前
中国計量大学
電子安全クランプ
1か月前
山崎産業株式会社
手摺り拭用器具
2か月前
続きを見る
他の特許を見る