TOP
|
特許
|
意匠
|
商標
特許ウォッチ
Twitter
他の特許を見る
公開番号
2025155150
公報種別
公開特許公報(A)
公開日
2025-10-14
出願番号
2024058726
出願日
2024-04-01
発明の名称
作業人員計画装置、作業人員計画方法およびプログラム
出願人
三菱電機株式会社
代理人
個人
,
個人
,
個人
,
個人
,
個人
,
個人
主分類
G06Q
10/0631 20230101AFI20251006BHJP(計算;計数)
要約
【課題】ライン外作業者にライン外作業の作業時間を適正に割り付ける。
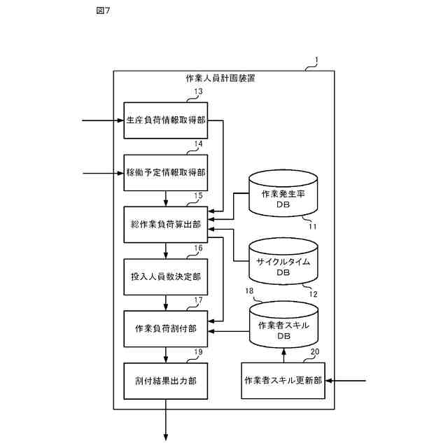
【解決手段】作業人員計画装置1は、生産ライン外の作業であるライン外作業を、作業時間がサイクルタイムに依存するサイクル作業と、作業時間がサイクルタイムに依存しない非サイクル作業とに分類し、サイクル作業の作業時間をサイクルタイムに基づいて算出し、非サイクル作業の作業時間を作業発生率に基づいて算出し、サイクル作業および非サイクル作業の作業時間の合計である総作業負荷を算出する総作業負荷算出部15と、総作業負荷に基づいて、ライン外作業への投入人員数を決定する投入人員数決定部16と、ライン外作業に対するライン外作業者のスキルに基づいて、決定された投入人員数のライン外作業者にライン外作業の作業時間を、作業負荷が最も均等に近づく配分で割り付ける作業負荷割付部17と、割り付け結果を示す割付結果情報を出力する割付結果出力部19と、を備える。
【選択図】図1
特許請求の範囲
【請求項1】
生産ライン外の作業であるライン外作業を、作業時間がサイクルタイムに依存するサイクル作業と、作業時間がサイクルタイムに依存しない非サイクル作業とに分類し、
前記サイクル作業の作業時間をサイクルタイムに基づいて算出し、前記非サイクル作業の作業時間を作業発生率に基づいて算出し、前記サイクル作業および前記非サイクル作業の作業時間の合計である総作業負荷を算出する総作業負荷算出部と、
前記総作業負荷に基づいて、前記ライン外作業への投入人員数を決定する投入人員数決定部と、
前記ライン外作業に対するライン外作業者のスキルに基づいて、決定された投入人員数の前記ライン外作業者に前記ライン外作業の作業時間を、作業負荷が最も均等に近づく配分で割り付ける作業負荷割付部と、
割り付け結果を示す割付結果情報を出力する割付結果出力部と、
を備える、
作業人員計画装置。
続きを表示(約 1,800 文字)
【請求項2】
前記サイクル作業の作業台数1台あたりのサイクルタイムを記憶するサイクルタイムデータベースと、
前記非サイクル作業の作業発生率を記憶する作業発生率データベースと、
1日の生産台数を示す生産負荷情報を取得する生産負荷情報取得部と、
1日のライン外作業者1人あたりの稼働時間を示す稼働時間予定情報を取得する稼働予定情報取得部と、
をさらに備え、
前記総作業負荷算出部は、
前記生産負荷情報および前記サイクルタイムデータベースに基づいて、前記サイクル作業の作業時間を算出し、前記稼働予定情報および前記作業発生率データベースに基づいて、前記非サイクル作業の作業時間を算出し、前記サイクル作業および前記非サイクル作業の作業時間を合算して前記総作業負荷を算出する、
請求項1に記載の作業人員計画装置。
【請求項3】
前記作業負荷割付部は、
数理最適化アルゴリズムを用いて、前記ライン外作業者へ割り付ける前記ライン外作業の分配時間を変数として変化させながら、制約条件を満たしつつ、各ライン外作業者へ割り付けた前記ライン外作業の作業時間の標準偏差が0に最も近くなる変数の値を計算する数理最適化処理を実行する、
請求項1または2に記載の作業人員計画装置。
【請求項4】
前記作業負荷割付部は、
前記ライン外作業者が前記ライン外作業を実施可であることを第1の制約条件に設定し、前記ライン外作業者に割り付けた前記ライン外作業の分配時間の合計値が前記ライン外作業の作業時間と一致することを第2の制約条件に設定し、前記ライン外作業者に割り付けた作業時間の標準偏差が0に最も近づくことを第3の制約条件に設定する、
請求項3に記載の作業人員計画装置。
【請求項5】
前記ライン外作業者の前記ライン外作業に対するスキルを示す作業者スキルデータベースと、
ユーザからの前記ライン外作業者のスキルの変更の入力を受け付け、前記作業者スキルデータベースを更新する作業者スキル更新部と、
さらに備え、
前記作業負荷割付部は、
前記作業者スキルデータベースに基づいて、前記ライン外作業者ごとの前記ライン外作業の実施可否を判定し、前記作業者スキル更新部が前記作業者スキルデータベースを更新するごとに、前記数理最適化処理を繰り返す、
請求項4に記載の作業人員計画装置。
【請求項6】
作業人員計画装置が実行する、
生産ライン外の作業であるライン外作業を、作業時間がサイクルタイムに依存するサイクル作業と、作業時間がサイクルタイムに依存しない非サイクル作業とに分類し、
前記サイクル作業の作業時間をサイクルタイムに基づいて算出し、前記非サイクル作業の作業時間を作業発生率に基づいて算出し、前記サイクル作業および前記非サイクル作業の作業時間の合計である総作業負荷を算出するステップと、
前記総作業負荷に基づいて、前記ライン外作業への投入人員数を決定するステップと、
前記ライン外作業に対するライン外作業者のスキルに基づいて、決定された投入人員数の前記ライン外作業者に前記ライン外作業の作業時間を、作業負荷が最も均等に近づく配分で割り付けるステップと、
を備える作業人員計画方法。
【請求項7】
コンピュータを、
生産ライン外の作業であるライン外作業を、作業時間がサイクルタイムに依存するサイクル作業と、作業時間がサイクルタイムに依存しない非サイクル作業とに分類し、
前記サイクル作業の作業時間をサイクルタイムに基づいて算出し、前記非サイクル作業の作業時間を作業発生率に基づいて算出し、前記サイクル作業および前記非サイクル作業の作業時間の合計である総作業負荷を算出する総作業負荷算出部、
前記総作業負荷に基づいて、前記ライン外作業への投入人員数を決定する投入人員数決定部、ならびに、
前記ライン外作業に対するライン外作業者のスキルに基づいて、決定された投入人員数の前記ライン外作業者に前記ライン外作業の作業時間を、作業負荷が最も均等に近づく配分で割り付ける作業負荷割付部、
として機能させるプログラム。
発明の詳細な説明
【技術分野】
【0001】
本開示は、作業人員計画装置、作業人員計画方法およびプログラムに関する。
続きを表示(約 2,300 文字)
【背景技術】
【0002】
一般に、製品を組み立てる生産ラインには、組立作業者が複数人配置されている。組立作業者によって実施される作業工程を含む生産ラインにおいて、組立作業者の作業配分を適正に行うために、ラインバランスを管理するシステムが提案されている。例えば特許文献1には、作業者間の作業負荷バランスを整え、作業者間の熟練度の差異を考慮して作業人員の削減および有効活用を行い、ラインバランスの向上を図るシステムが開示されている。
【先行技術文献】
【特許文献】
【0003】
特開2007-317103号公報
【発明の概要】
【発明が解決しようとする課題】
【0004】
工場には、生産ラインで製品を組み立てる組立作業者の他、組立作業者を管理する「管理作業者」、ラインアウトした製品を手直しする「手直し作業者」など、生産ライン外で作業する「ライン外作業者」が存在する。特許文献1の記載のシステムでは、組立作業者に特化してラインバランスを最適化する手法を提案しているため、ライン外作業者へ適用することができない。生産ライン外の作業であるライン外作業には、作業負荷が製品のサイクルタイムに依存しないものもあり、多岐にわたる作業が発生する。このため、勘、経験などに基づいて人員が投入され、余剰に人員を投入してしまう可能性、ライン外作業者間で作業負荷にばらつきが生じる恐れなどがある。
【0005】
本開示は、上記のような問題点を解決するためになされたものであり、ライン外作業者にライン外作業の作業時間を適正に割り付けることを目的とする。
【課題を解決するための手段】
【0006】
上記目的を達成するため、本開示に係る作業人員計画装置は、総作業負荷算出部と、
投入人員数決定部と、作業負荷割付部と、割付結果出力部とを備える。作業人員計画装置は、生産ライン外の作業であるライン外作業を、作業時間がサイクルタイムに依存するサイクル作業と、作業時間がサイクルタイムに依存しない非サイクル作業とに分類する。総作業負荷算出部は、サイクル作業の作業時間をサイクルタイムに基づいて算出し、非サイクル作業の作業時間を作業発生率に基づいて算出し、サイクル作業および非サイクル作業の作業時間の合計である総作業負荷を算出する。投入人員数決定部は、総作業負荷に基づいて、ライン外作業への投入人員数を決定する。作業負荷割付部は、ライン外作業に対するライン外作業者のスキルに基づいて、決定された投入人員数のライン外作業者にライン外作業の作業時間を、作業負荷が最も均等に近づく配分で割り付ける。割付結果出力部は、割り付け結果を示す割付結果情報を出力する。
【発明の効果】
【0007】
本開示によれば、総作業負荷に基づいて投入人員数を決定し、ライン外作業者のスキルに基づいて、決定された投入人員数のライン外作業者にライン外作業の作業時間を、作業負荷が最も均等に近づく配分で割り付けることで、ライン外作業者にライン外作業の作業時間を適正に割り付けることが可能になる。
【図面の簡単な説明】
【0008】
実施の形態1に係る作業人員計画装置の構成例を示す図
実施の形態1に係る作業発生率DBの例を示す図
実施の形態1に係るサイクルタイムDBの例を示す図
実施の形態1に係る作業者スキルDBの例を示す図
実施の形態1に係る割付結果情報の例を示す図
実施の形態1に係る作業人員計画処理1を示すフローチャート
実施の形態2に係る作業人員計画装置の構成例を示す図
実施の形態2に係る割付結果情報の例を示す図
実施の形態2に係る作業人員計画処理2を示すフローチャート
実施の形態1および2に係る作業人員計画装置のハードウェア構成の一例を示す図
【発明を実施するための形態】
【0009】
以下に、本実施の形態に係る作業人員計画装置、作業人員計画方法およびプログラムについて図面を参照して詳細に説明する。なお、図中同一または相当する部分には同じ符号を付す。
【0010】
本実施の形態では、工場でのライン外作業に作業人員計画装置を適用し、作業開始前にライン外作業の一日の作業負荷を算出して、投入するライン外作業者を決定し、ライン外作業者にライン外作業の作業時間を割り付ける例について説明する。ライン外作業には、生産台数によって決まるライン外作業者の作業台数とサイクルタイムにより作業負荷が決まる「サイクル作業」と、日常的に一定の割合で発生する「非サイクル作業」が存在する。例えば、生産ライン外で製品のサブアセンブリを組み立てる「サブ組立作業」は、生産台数が作業台数であり、作業台数とサブアセンブリ組立のサイクルタイムによって作業負荷が決まるため、サイクル作業に分類される。また、ラインアウトした不良品の手直し作業は、生産台数と不良率によって作業台数が決まり、作業台数と手直し作業のサイクルタイムによって作業負荷が決まるために、サイクル作業に分類される。一方で、トラブルへの対応、他部門からの依頼事項への対応、製品および部品の搬送作業、改善活動など、突発的な業務であって日々発生するが生産台数により負荷が変動しない作業は非サイクル作業に分類される。
(【0011】以降は省略されています)
この特許をJ-PlatPat(特許庁公式サイト)で参照する
関連特許
三菱電機株式会社
換気扇
1か月前
三菱電機株式会社
増幅器
23日前
三菱電機株式会社
換気扇
1か月前
三菱電機株式会社
換気扇
1か月前
三菱電機株式会社
扇風機
17日前
三菱電機株式会社
冷蔵庫
19日前
三菱電機株式会社
照明装置
10日前
三菱電機株式会社
電子機器
1か月前
三菱電機株式会社
収集装置
1か月前
三菱電機株式会社
回転電機
1か月前
三菱電機株式会社
保護リレー
18日前
三菱電機株式会社
回路遮断器
4日前
三菱電機株式会社
空気調和機
25日前
三菱電機株式会社
加熱調理器
1か月前
三菱電機株式会社
半導体装置
1か月前
三菱電機株式会社
半導体装置
18日前
三菱電機株式会社
半導体装置
1か月前
三菱電機株式会社
加熱調理器
4日前
三菱電機株式会社
調理システム
19日前
三菱電機株式会社
空調システム
12日前
三菱電機株式会社
貯湯式給湯機
20日前
三菱電機株式会社
貯湯式給湯機
1か月前
三菱電機株式会社
光源デバイス
10日前
三菱電機株式会社
点検管理装置
17日前
三菱電機株式会社
制御システム
10日前
三菱電機株式会社
炊飯システム
19日前
三菱電機株式会社
貯湯式給湯機
19日前
三菱電機株式会社
ねじ締め装置
23日前
三菱電機株式会社
照明システム
1か月前
三菱電機株式会社
給湯システム
1か月前
三菱電機株式会社
空気清浄装置
4日前
三菱電機株式会社
空調システム
23日前
三菱電機株式会社
貯湯式給湯機
10日前
三菱電機株式会社
誘導加熱調理器
1か月前
三菱電機株式会社
非常用照明装置
1か月前
三菱電機株式会社
送電線保護装置
1か月前
続きを見る
他の特許を見る