TOP
|
特許
|
意匠
|
商標
特許ウォッチ
Twitter
他の特許を見る
10個以上の画像は省略されています。
公開番号
2025153579
公報種別
公開特許公報(A)
公開日
2025-10-10
出願番号
2024056122
出願日
2024-03-29
発明の名称
選択支援装置、方法、及びプログラム
出願人
三菱電機株式会社
代理人
個人
,
個人
,
個人
,
個人
,
個人
,
個人
主分類
G06F
30/10 20200101AFI20251002BHJP(計算;計数)
要約
【課題】ユーザによる製品の最適な加工方法の選択を支援することができる選択支援装置を提供する。
【解決手段】
選択支援装置2は、見積りの対象となる部品の三次元モデルの設計情報データと切削加工に関する情報のデータとに基づいて、切削加工における部品の第1製造条件を見積る切削加工見積処理部253と、部品の三次元モデルの設計情報データと付加製造に関する情報のデータとに基づいて、付加製造における部品の第2製造条件を見積る付加製造見積処理部254と、第1製造条件と第2製造条件とを比較し、評価する見積結果比較部255と、見積結果比較部255で評価した評価結果をユーザに提示するために出力する比較結果出力部256と、を備える。
【選択図】図1
特許請求の範囲
【請求項1】
見積りの対象となる部品の三次元モデルの設計情報データと切削加工に関する情報のデータとに基づいて、前記切削加工における前記部品の第1製造条件を見積る切削加工見積処理部と、
前記部品の三次元モデルの設計情報データと付加製造に関する情報のデータとに基づいて、前記付加製造における前記部品の第2製造条件を見積る付加製造見積処理部と、
前記第1製造条件と前記第2製造条件とを比較し、評価する見積結果比較部と、
前記見積結果比較部で評価した評価結果をユーザに提示するために出力する比較結果出力部と、
を備える、
選択支援装置。
続きを表示(約 1,200 文字)
【請求項2】
前記見積結果比較部は、前記第1製造条件と前記ユーザの入力した製造条件および前記第2製造条件とを比較した比較結果に応じて前記第1製造条件の評価を設定し、前記第2製造条件と前記ユーザの入力した製造条件および前記第1製造条件とを比較した比較結果に応じて前記第2製造条件の評価を設定する、
請求項1に記載の選択支援装置。
【請求項3】
前記見積結果比較部は、前記第1製造条件が前記ユーザの入力した製造条件未満である場合、前記第1製造条件に第1評価を設定し、前記第1製造条件が前記ユーザの入力した製造条件以上、且つ、前記第2製造条件未満である場合、前記第1製造条件に第2評価を設定し、前記第1製造条件が前記ユーザの入力した製造条件以上、且つ、前記第2製造条件以上である場合、前記第1製造条件に第3評価を設定する、
請求項2に記載の選択支援装置。
【請求項4】
前記見積結果比較部は、前記第2製造条件が前記ユーザの入力した製造条件未満である場合、前記第2製造条件に第1評価を設定し、前記第2製造条件が前記ユーザの入力した製造条件以上、且つ、前記第1製造条件未満である場合、前記第2製造条件に第2評価を設定し、前記第2製造条件が前記ユーザの入力した製造条件以上、且つ、前記第1製造条件以上である場合、前記第2製造条件に第3評価を設定する、
請求項2または3に記載の選択支援装置。
【請求項5】
前記第1製造条件は、前記部品を前記切削加工で加工する場合の加工コスト、納期または難易度であり、
前記第2製造条件は、前記部品を前記付加製造で製造する場合の加工コスト、納期または難易度である、
請求項1または2に記載の選択支援装置。
【請求項6】
選択支援装置が実行する方法であって、
見積りの対象となる部品の三次元モデルの設計情報データと切削加工に関する情報のデータとに基づいて、前記切削加工における前記部品の第1製造条件を見積り、
前記部品の三次元モデルの設計情報データと付加製造に関する情報のデータとに基づいて、前記付加製造における前記部品の第2製造条件を見積り、
前記第1製造条件と前記第2製造条件とを比較し、評価し、
評価した評価結果をユーザに提示するために出力する、
方法。
【請求項7】
コンピュータに、
見積りの対象となる部品の三次元モデルの設計情報データと切削加工に関する情報のデータとに基づいて、前記切削加工における前記部品の第1製造条件を見積る処理、
前記部品の三次元モデルの設計情報データと付加製造に関する情報のデータとに基づいて、前記付加製造における前記部品の第2製造条件を見積る処理、
前記第1製造条件と前記第2製造条件とを比較し、評価する処理、
評価した評価結果をユーザに提示するために出力する処理、
を実行させるためのプログラム。
発明の詳細な説明
【技術分野】
【0001】
本開示は、選択支援装置、方法、及びプログラムに関する。
続きを表示(約 2,000 文字)
【背景技術】
【0002】
近年、3Dプリンタといった付加製造装置の技術が確立されたことにより、材料から不要部分を取り除いていく切削加工に比べて、低コスト、製造期間の短期化といった効果が得られている。しかしながら、切削加工は、製品の強度、面精度の点で付加製造装置に比べて非常に高い精度を出すことができる。そこで、製品の利用目的に合わせて、両者を上手く使い分けていくことが望ましい。ユーザが製品を切削加工および付加製造のどちらで製造するのかを判断するための判断手法として、両者の製造コストを見比べる手法が考えられる。例えば、特許文献1には、三次元CAD(computer-aided design)で設計した三次元モデルのデータから読み取った設計情報に基づいて製造コストを算出する技術が開示されている。
【先行技術文献】
【特許文献】
【0003】
特開2019-3698号公報
【発明の概要】
【発明が解決しようとする課題】
【0004】
しかしながら、特許文献1に開示された技術は、切削加工用の製造コストを算出することを目的とした技術であるため、そのまま付加製造装置に適用しても精度良く付加製造用の製造コストを算出ことは難しい。また、特許文献1に開示された技術には、複数の製造コストを統一した比較基準で比較する機能は備えられていない。したがって、ユーザは、特許文献1に開示された技術を使用して、製品を切削加工および付加製造のどちらで製造するのが適切であるかを判断することは難しい。
【0005】
本開示は、上述の問題を解決するためになされたものであり、ユーザによる製品の最適な加工方法の選択を支援することができる選択支援装置、方法、プログラムを提供することを目的とする。
【課題を解決するための手段】
【0006】
上述の目的を達成するために、本開示に係る選択支援装置は、見積りの対象となる部品の三次元モデルの設計情報データと切削加工に関する情報のデータとに基づいて、切削加工における部品の第1製造条件を見積る切削加工見積処理部と、部品の三次元モデルの設計情報データと付加製造に関する情報のデータとに基づいて、付加製造における部品の第2製造条件を見積る付加製造見積処理部と、第1製造条件と第2製造条件とを比較し、評価する見積結果比較部と、見積結果比較部で評価した評価結果をユーザに提示するために出力する比較結果出力部と、を備える。
【発明の効果】
【0007】
本開示によれば、三次元モデルの設計情報データから、切削加工および付加製造における製造条件をそれぞれ見積り、比較した結果をユーザに提示することができるため、ユーザによる製品の最適な加工方法の選択を支援することができる選択支援装置を提供することができる。
【図面の簡単な説明】
【0008】
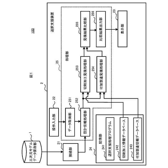
本開示の実施の形態に係る選択支援装置を含む選択支援システムの概要を示す図
実施の形態に係る選択支援装置のハードウエア構成の一例を示す図
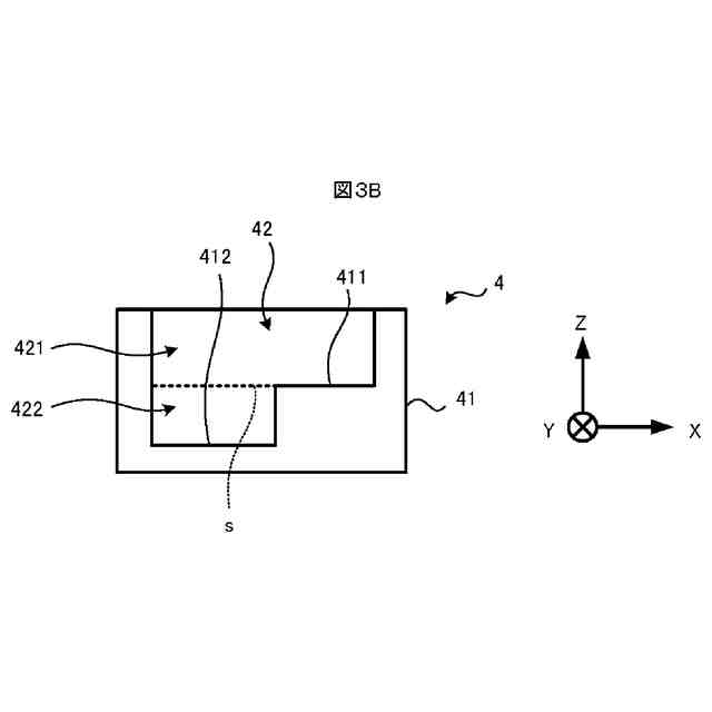
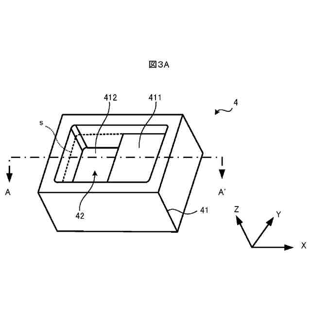
実施の形態に係る切削加工用の三次元モデルの一例を示す図
図3Aに示した切削加工用の三次元モデルの断面図
実施の形態に係る付加製造用の三次元モデルの一例を示す図
図3Cに示した付加製造用の三次元モデルの断面図
実施の形態に係る切削加工情報データベースのテーブルを示す図
実施の形態に係る付加製造情報データベースのテーブルを示す図
実施の形態に係る比較結果のテーブルを示す図
実施の形態に係る選択支援処理のフローチャート
図6Aに示した選択支援処理の続きのフローチャート
実施の形態に係る切削加工見積処理のフローチャート
実施の形態に係る付加製造見積処理のフローチャート
実施の形態に係る見積結果比較処理のフローチャート
【発明を実施するための形態】
【0009】
以下、本開示の実施の形態に係る選択支援装置2および選択支援装置2を含む選択支援システム100について、図面を参照しつつ説明する。なお、同一または同等の部分に同一の符号を付す。
【0010】
選択支援装置2は、三次元モデルの設計情報データから、切削加工および付加製造における製造条件である加工コスト、納期、難易度をそれぞれ見積り、比較結果をユーザに提示することができため、ユーザによる製品の最適な加工方法の選択を支援することができる装置である。さらに、選択支援システム100は、選択支援装置2を含むシステムである。なお、以下では、付加製造装置を3Dプリンタとして説明する。
(【0011】以降は省略されています)
この特許をJ-PlatPat(特許庁公式サイト)で参照する
関連特許
三菱電機株式会社
扇風機
10日前
三菱電機株式会社
冷蔵庫
12日前
三菱電機株式会社
増幅器
16日前
三菱電機株式会社
換気扇
25日前
三菱電機株式会社
換気扇
25日前
三菱電機株式会社
換気扇
25日前
三菱電機株式会社
収集装置
23日前
三菱電機株式会社
電子機器
26日前
三菱電機株式会社
照明装置
3日前
三菱電機株式会社
半導体装置
11日前
三菱電機株式会社
保護リレー
11日前
三菱電機株式会社
空気調和機
18日前
三菱電機株式会社
空調システム
5日前
三菱電機株式会社
貯湯式給湯機
13日前
三菱電機株式会社
点検管理装置
10日前
三菱電機株式会社
ねじ締め装置
16日前
三菱電機株式会社
炊飯システム
12日前
三菱電機株式会社
貯湯式給湯機
12日前
三菱電機株式会社
調理システム
12日前
三菱電機株式会社
制御システム
3日前
三菱電機株式会社
空調システム
16日前
三菱電機株式会社
光源デバイス
3日前
三菱電機株式会社
貯湯式給湯機
3日前
三菱電機株式会社
樹脂成形用金型
16日前
三菱電機株式会社
移動体監視装置
2日前
三菱電機株式会社
誘導加熱調理器
25日前
三菱電機株式会社
レンズモジュール
23日前
三菱電機株式会社
回転電機ユニット
2日前
三菱電機株式会社
加熱調理システム
2日前
三菱電機株式会社
回転電機ユニット
2日前
三菱電機株式会社
道路情報補正装置
18日前
三菱電機株式会社
空気調和システム
3日前
三菱電機株式会社
ヒートポンプ装置
19日前
三菱電機株式会社
運転支援システム
10日前
三菱電機株式会社
全館空調システム
23日前
三菱電機株式会社
電子機器の冷却装置
3日前
続きを見る
他の特許を見る