TOP
|
特許
|
意匠
|
商標
特許ウォッチ
Twitter
他の特許を見る
10個以上の画像は省略されています。
公開番号
2025158200
公報種別
公開特許公報(A)
公開日
2025-10-17
出願番号
2024060510
出願日
2024-04-04
発明の名称
制御装置、制御方法、および、プログラム
出願人
三菱電機株式会社
代理人
弁理士法人山王内外特許事務所
主分類
B60Q
1/076 20060101AFI20251009BHJP(車両一般)
要約
【課題】移動体の乗員が見ようとしている方向に対する照射の遅れを抑制する。
【解決手段】制御装置は、移動体における乗員の視線方向を取得する視線情報取得部と、視線情報取得部により取得された視線方向を用いて導出された視野範囲に基づいて灯火装置による照射範囲を変化させるよう指令する照射制御部と、を備える。
【選択図】図1
特許請求の範囲
【請求項1】
移動体における乗員の視線方向を取得する視線情報取得部と、
前記視線情報取得部により取得された視線方向を用いて導出した視野範囲に基づいて灯火装置による照射範囲を変化させるよう指令する照射制御部と、
を備える、制御装置。
続きを表示(約 1,500 文字)
【請求項2】
前記照射制御部は、
前記視線方向を用いて乗員の有効視野の範囲であろう前記視野範囲を導出する視野範囲設定部と、
前記灯火装置による現在の照射範囲を取得する照射範囲取得部と、
前記視野範囲および前記現在の照射範囲を用いて、照射範囲を変化させるかを判定する配光変化判定部と、
前記配光変化判定部による判定結果に基づいて配光形状を決定する配光形状決定部と、
前記配光形状に基づいて前記灯火装置へ指令する配光指令部と、
を備える、
ことを特徴とする、請求項1に記載の制御装置。
【請求項3】
前記移動体の進行状況を含む移動体情報を取得する移動体情報取得部、をさらに備え、
前記視野範囲設定部は、
前記視線方向および前記移動体情報を用いて、前記移動体の進行状況に応じて視野範囲を導出する、
ことを特徴とする、請求項2に記載の制御装置。
【請求項4】
照射範囲に応じて照射する光の出力レベルを調整する出力調整部、をさらに備えた、
ことを特徴とする、請求項1から請求項3のうちのいずれか1項に記載の制御装置。
【請求項5】
前記出力調整部は、
対向車線方向へ照射範囲を広げる場合、前記出力レベルを下げるように調整する、
ことを特徴とする、請求項4に記載の制御装置。
【請求項6】
前記移動体の乗員の生体情報を取得する生体情報取得部と、
前記生体情報に示される乗員の年齢または体調に応じて、照射範囲を変化させる条件を調整する第1変化条件調整部と、
をさらに備えた、
ことを特徴とする、請求項1から請求項3のうちのいずれか1項に記載の制御装置。
【請求項7】
照射範囲を変化させる条件である変化条件を受け付ける操作用画像を出力する変化条件受付部と、
前記操作用画像を介して受け付けた変化条件に基づいて、照射範囲を変化させる条件を調整する第2変化条件調整部と、
をさらに備えた、
ことを特徴とする、請求項1から請求項3のうちのいずれか1項に記載の制御装置。
【請求項8】
前記移動体の乗員を個人単位に識別する個人認証情報を取得する個人認証部と、
前記個人認証情報と前記操作用画像を介して受け付けた変化条件とを関連付けて記憶させておき、前記個人認証部により取得された個人認証情報に対応する変化条件を取得する設定管理部と、
をさらに備え、
前記第2変化条件調整部は、
前記個人認証部により取得された個人認証情報に対応する変化条件を用いて、照射範囲を変化させる条件を調整する、
ことを特徴とする、請求項7に記載の制御装置。
【請求項9】
前記照射制御部は、
視野範囲が移動した方向である移動方向および前記移動方向に対する反対方向に照射範囲を拡張させる、
ことを特徴とする、請求項1から請求項3のうちのいずれか1項に記載の制御装置。
【請求項10】
制御装置による制御方法であって、
前記制御装置の視線情報取得部が、移動体における乗員の視線方向を取得する視線情報取得ステップと、
前記制御装置の照射制御部が、前記視線情報取得ステップにより取得された視線方向を用いて導出した視野範囲に基づいて灯火装置による照射範囲を変化させるよう指令する照射制御ステップと、
を備える、
ことを特徴とする制御方法。
(【請求項11】以降は省略されています)
発明の詳細な説明
【技術分野】
【0001】
本開示技術は、灯火装置を制御する制御技術に関する。
続きを表示(約 2,400 文字)
【背景技術】
【0002】
灯火装置を制御する従来技術の中には、灯火装置による照射範囲を変化させる技術がある。
特許文献1には、照射範囲を変化させる「車両用ランプ制御システム」が開示されている。
具体的には、特許文献1に記載の「車両用ランプ制御システムは、車両に設けられた照明用のランプの点灯状態を制御するためのランプ制御システムであって、車両の運転者の顔向き方向を検出する顔向き方向検出手段と、検出した顔向きが継続して所定の状態にあることを判定する顔向き状態判定手段と、検出した顔向き方向と判定した顔向き状態とに基づいて顔向き方向の照明を行うようにランプの照明状態を制御するランプ制御手段とを備えることを特徴とする。ここで、ランプ制御手段はランプの照明状態の制御として、当該ランプの光度を顔向きの継続時間に応じて変化制御する。」(特許文献1の段落[0005])
これにより、特許文献1に記載の「車両用ランプ制御システム」は、「運転者の顔向き角度に追従して照明範囲を変化させる」(特許文献1の段落[0021])。なお、特許文献1の「照明」は、「照射」に相当するものとする。
【先行技術文献】
【特許文献】
【0003】
特開2009-120148号公報
【発明の概要】
【発明が解決しようとする課題】
【0004】
しかし、特許文献1に記載の「車両用ランプ制御システム」は、運転者の顔向きといった方向を基準に、当該方向が変化した後に追従して照明範囲が変化するため、乗員が実際に見ようとしている範囲を照射するタイミングに遅れが生じてしまう場合があるといった課題があった。
【0005】
本開示は、上記課題を解決するもので、移動体の乗員が見ようとしている方向に対する照射の遅れを抑制することを目的とする。
【課題を解決するための手段】
【0006】
本開示の制御装置は、
移動体における乗員の視線方向を取得する視線情報取得部と、
前記視線情報取得部により取得された視線方向を用いて導出された視野範囲に基づいて灯火装置による照射範囲を変化させるよう指令する照射制御部と、
を備える。
【発明の効果】
【0007】
本開示によれば、移動体の乗員が見ようとしている方向に対する照射の遅れを抑制させることを可能にする、という効果を奏する。
【図面の簡単な説明】
【0008】
図1は、本開示の実施の形態1に係る制御装置100の基本的な構成例を示す図である。
図2は、本開示の実施の形態1に係る制御装置100Aを含む制御システム1Aの構成例を示す図である。
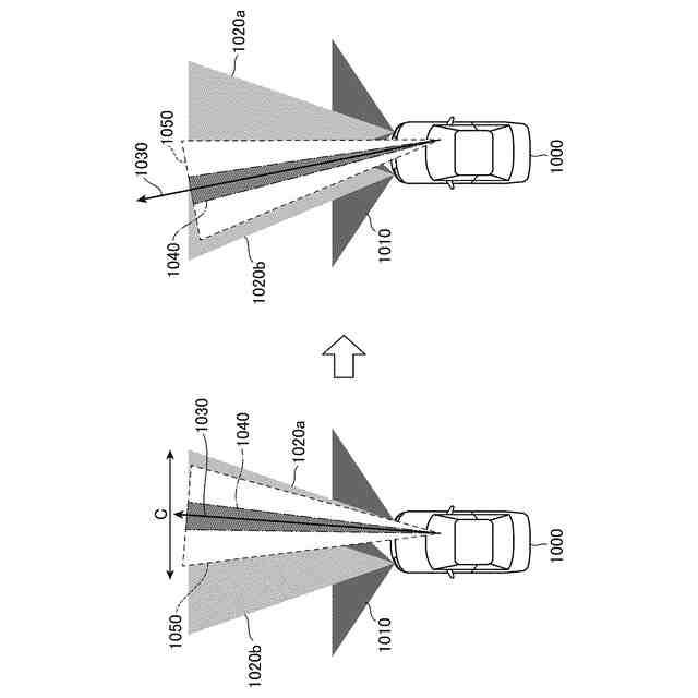
図3は、本開示における視線と視野と照射範囲との関係を説明する図である。
図4は、本開示の実施の形態1に係る制御装置100Aの制御による照射範囲の変化イメージを示す図である。
図5は、本開示の実施の形態1に係る制御装置100Aの処理の一例を示すフローチャートである。
図6は、本開示の実施の形態2に係る制御装置100Bを含む制御システム1Bの構成例を示す図である。
図7は、実施の形態2に係る制御装置100Bの制御による照射範囲の第1の変化イメージを示す図である。
図8は、実施の形態2に係る制御装置100Bの制御による照射範囲の第2の変化イメージを示す図である。
図9は、本開示の実施の形態2に係る制御装置100Bの処理の一例を示すフローチャートである。
図10は、本開示の実施の形態3に係る制御装置100Cを含む制御システム1Cの構成例を示す図である。
図11は、本開示の実施の形態3に係る制御装置100Cの処理の一例を示すフローチャートである。
図12は、本開示の実施の形態4に係る制御装置100Dを含む制御システム1Dの構成例を示す図である。
図13は、本開示の実施の形態4に係る制御装置100Dの処理の一例を示すフローチャートである。
図14は、本開示の実施の形態5に係る制御装置100Eを含む制御システム1Eの構成例を示す図である。
図15は、本開示の実施の形態5に係る制御装置100Eの処理の一例を示すフローチャートである。
図16は、本開示の実施の形態6に係る制御装置100Fを含む制御システム1Fの構成例を示す図である。
図17は、実施の形態6に係る制御装置100Fが入力操作を受け付ける操作領域の一例を示す図である。
図18は、本開示の実施の形態6に係る制御装置100Fの処理の一例を示すフローチャートである。
図19は、本開示の実施の形態7に係る制御装置100Gを含む制御システム1Gの構成例を示す図である。
図20は、本開示の実施の形態7に係る制御装置100Gの処理の一例を示すフローチャートである。
図21は、本開示の構成による機能を実現するためのハードウェア構成の第1の例を示す図である。
図22は、本開示の構成による機能を実現するためのハードウェア構成の第2の例を示す図である。
【発明を実施するための形態】
【0009】
以下、本開示をより詳細に説明するために、本開示の実施の形態について、添付の図面に従って説明する。
【0010】
実施の形態1.
実施の形態1においては、本開示の基本的な形態を説明する。
本開示の実施の形態1に係る制御装置の構成例を説明する。
(【0011】以降は省略されています)
この特許をJ-PlatPat(特許庁公式サイト)で参照する
関連特許
三菱電機株式会社
換気扇
5日前
三菱電機株式会社
換気扇
5日前
三菱電機株式会社
換気扇
5日前
三菱電機株式会社
照明装置
1か月前
三菱電機株式会社
回転電機
1か月前
三菱電機株式会社
電子機器
6日前
三菱電機株式会社
回転電機
21日前
三菱電機株式会社
収集装置
3日前
三菱電機株式会社
半導体装置
1か月前
三菱電機株式会社
半導体装置
11日前
三菱電機株式会社
加熱調理器
24日前
三菱電機株式会社
半導体装置
25日前
三菱電機株式会社
電力変換装置
1か月前
三菱電機株式会社
貯湯式給湯機
21日前
三菱電機株式会社
照明システム
11日前
三菱電機株式会社
ネジ取出機構
1か月前
三菱電機株式会社
車両制御装置
1か月前
三菱電機株式会社
給湯システム
24日前
三菱電機株式会社
空気調和装置
1か月前
三菱電機株式会社
非常用照明装置
24日前
三菱電機株式会社
誘導加熱調理器
5日前
三菱電機株式会社
送電線保護装置
1か月前
三菱電機株式会社
電動機制御装置
17日前
三菱電機株式会社
換気空調システム
21日前
三菱電機株式会社
電流切替型DAC
11日前
三菱電機株式会社
空気清浄システム
24日前
三菱電機株式会社
照明制御システム
1か月前
三菱電機株式会社
ウエハテスト装置
1か月前
三菱電機株式会社
風力発電システム
21日前
三菱電機株式会社
照明制御システム
18日前
三菱電機株式会社
全館空調システム
3日前
三菱電機株式会社
レンズモジュール
3日前
三菱電機株式会社
コントロールセンタ
1か月前
三菱電機株式会社
照明器具及び照明装置
1か月前
三菱電機株式会社
保護継電器及び配電盤
5日前
三菱電機株式会社
点灯装置および照明器具
3日前
続きを見る
他の特許を見る