TOP
|
特許
|
意匠
|
商標
特許ウォッチ
Twitter
他の特許を見る
10個以上の画像は省略されています。
公開番号
2025158571
公報種別
公開特許公報(A)
公開日
2025-10-17
出願番号
2024061249
出願日
2024-04-05
発明の名称
学習環境提案装置および学習環境提案方法
出願人
三菱電機株式会社
代理人
個人
,
個人
主分類
G06Q
50/20 20120101AFI20251009BHJP(計算;計数)
要約
【課題】本開示は、オンラインで講義を受講する受講者により適した学習環境を提案することが可能な学習環境提案装置および学習環境提案方法を提供することを目的とする。
【解決手段】
本開示による学習環境提案装置は、受講者に学習教材を提示して講義を実行するオンライン学習システムと連携する学習環境提案装置であって、受講者の学習環境に関する学習環境情報を取得する学習環境情報取得部と、講義の受講中における受講者の生体情報を取得する生体情報取得部と、生体情報に基づいて、受講者の感情、積極性、および疲労度のうち少なくとも1つを含む心理状態を判断する心理状態判断部と、受講者のプロファイルである受講者情報を取得する受講者情報取得部と、学習環境情報、心理状態、および受講者情報に基づいて、受講者の学習環境に対する適合度合いを評価する評価部と、評価の結果を提示する制御を行う提示制御部とを備える。
【選択図】図1
特許請求の範囲
【請求項1】
受講者に学習教材を提示して講義を実行するオンライン学習システムと連携する学習環境提案装置であって、
前記受講者の学習環境に関する学習環境情報を取得する学習環境情報取得部と、
前記講義の受講中における前記受講者の生体情報を取得する生体情報取得部と、
前記生体情報に基づいて、前記受講者の感情、積極性、および疲労度のうち少なくとも1つを含む心理状態を判断する心理状態判断部と、
前記受講者のプロファイルである受講者情報を取得する受講者情報取得部と、
前記学習環境情報、前記心理状態、および前記受講者情報に基づいて、前記受講者の学習環境に対する適合度合いを評価する評価部と、
前記評価の結果を提示する制御を行う提示制御部と、
を備える、学習環境提案装置。
続きを表示(約 1,200 文字)
【請求項2】
前記評価部は、前記学習環境情報、前記心理状態、および前記受講者情報を説明変数とし、前記適合度合いを目的変数とする機械学習モデルで構成される、請求項1に記載の学習環境提案装置。
【請求項3】
前記学習環境情報は、複数の教材IDおよびその教材属性を含む教材情報であり、
前記評価部は、前記受講者が受講する複数の学習教材に対する前記適合度合いを評価し、
前記提示制御部は、前記受講者の各前記学習教材に対する前記適合度合いを比較できる態様で提示、または前記受講者にとって最適な学習教材を提示する制御を行う、請求項1に記載の学習環境提案装置。
【請求項4】
前記学習環境情報は、複数の講師IDおよびその講師属性を含む講師情報であり、
前記評価部は、前記受講者が受講する講義を担当する各講師に対する前記適合度合いを評価し、
前記提示制御部は、前記受講者の各前記講師に対する前記適合度合いを比較できる態様で提示、または前記受講者にとって最適な講師を提示する制御を行う、請求項1に記載の学習環境提案装置。
【請求項5】
前記学習環境情報は、複数の塾IDおよびその塾属性を含む塾情報であり、
前記評価部は、前記受講者の各塾に対する前記適合度合いを評価し、
前記提示制御部は、前記受講者の各塾に対する前記適合度合いを比較できる態様で提示、または前記受講者にとって最適な塾を提示する制御を行う、請求項1に記載の学習環境提案装置。
【請求項6】
前記学習環境情報は、複数の学校IDおよびその学校属性を含む学校情報であり、
前記評価部は、前記受講者の各学校に対する前記適合度合いを評価し、
前記提示制御部は、前記受講者の各学校に対する前記適合度合いを比較できる態様で提示、または前記受講者にとって最適な学校を提示する制御を行う、請求項1に記載の学習環境提案装置。
【請求項7】
前記提示制御部は、前記講義の受講中における前記受講者の前記心理状態の変化を視覚的に判別可能な態様で提示する制御を行う、請求項1に記載の学習環境提案装置。
【請求項8】
前記評価部は、前記受講者の前記講義に対する理解度を考慮して前記適合度合いを評価する、請求項1に記載の学習環境提案装置。
【請求項9】
前記評価部は、前記受講者の前記講義に対する集中度を考慮して前記適合度合いを評価する、請求項1に記載の学習環境提案装置。
【請求項10】
前記提示制御部は、前記講義の受講中における前記受講者の前記心理状態の時系列に基づいて、前記学習教材をリアルタイムに変更する制御を行う、請求項1に記載の学習環境提案装置。
(【請求項11】以降は省略されています)
発明の詳細な説明
【技術分野】
【0001】
本開示は、オンラインで講義を受講する受講者に適した学習環境を提案する学習環境提案装置および学習環境提案方法に関する。
続きを表示(約 1,700 文字)
【背景技術】
【0002】
従来、オンラインで講義を受講する受講者の状態から集中度または理解度を評価し、評価した集中度または理解度を受講者または講師側に提示することによって学習の質を向上させることを目的とした技術が開示されている(例えば、特許文献1参照)。
【先行技術文献】
【特許文献】
【0003】
国際公開第2022-024742号
【発明の概要】
【発明が解決しようとする課題】
【0004】
特許文献1の技術では、受講者の集中度または理解度を学習環境の評価に反映させているが、受講内容に対する受講者の意欲を学習環境の評価に反映させることができないという課題がある。
【0005】
本開示は、このような課題を解決するためになされたものであり、オンラインで講義を受講する受講者により適した学習環境を提案することが可能な学習環境提案装置および学習環境提案方法を提供することを目的とする。
【課題を解決するための手段】
【0006】
上記の課題を解決するために、本開示による学習環境提案装置は、受講者に学習教材を提示して講義を実行するオンライン学習システムと連携する学習環境提案装置であって、受講者の学習環境に関する学習環境情報を取得する学習環境情報取得部と、講義の受講中における受講者の生体情報を取得する生体情報取得部と、生体情報に基づいて、受講者の感情、積極性、および疲労度のうち少なくとも1つを含む心理状態を判断する心理状態判断部と、受講者のプロファイルである受講者情報を取得する受講者情報取得部と、学習環境情報、心理状態、および受講者情報に基づいて、受講者の学習環境に対する適合度合いを評価する評価部と、評価の結果を提示する制御を行う提示制御部とを備える。
【発明の効果】
【0007】
本開示によれば、オンラインで講義を受講する受講者により適した学習環境を提案することが可能となる。
【図面の簡単な説明】
【0008】
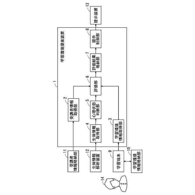
実施の形態1に係る学習環境提案装置の構成の一例を示すブロック図である。
実施の形態1に係る学習環境提案装置の動作の一例を示すフローチャートである。
実施の形態1に係る学習環境提案装置の動作の一例を示すフローチャートである。
実施の形態1に係る評価結果の一例を示す図である。
実施の形態1の変形例5に係る評価結果の一例を示す図である。
実施の形態1の変形例6に係る評価結果の一例を示す図である。
実施の形態1の変形例6に係る評価結果の一例を示す図である。
実施の形態2に係る学習環境提案装置の構成の一例を示すブロック図である。
実施の形態2に係る学習環境提案装置の動作の一例を示すフローチャートである。
実施の形態2に係る学習教材の変更を説明するための図である。
実施の形態1,2に係る学習環境提案装置のハードウェア構成の一例を示す図である。
実施の形態1,2に係る学習環境提案装置のハードウェア構成の一例を示す図である。
【発明を実施するための形態】
【0009】
<実施の形態1>
<構成>
図1は、実施の形態1に係る学習環境提案装置1の構成の一例を示すブロック図である。学習環境提案装置1は、学習端末9、受講者情報格納部11、生体情報解析装置12、および提示装置13に通信可能に接続されている。また、学習端末9および学習環境情報格納部10は、受講者14に学習教材を提示して講義を実行するオンライン学習システムを構成している。すなわち、学習環境提案装置1は、オンライン学習システムと連携して受講者14に適した学習環境を提案する。
【0010】
学習環境提案装置1は、受講者情報取得部2と、学習環境情報取得部3と、生体情報取得部4と、心理状態判断部5と、評価部6と、評価結果格納部7と、提示制御部8とを備えている。
(【0011】以降は省略されています)
この特許をJ-PlatPat(特許庁公式サイト)で参照する
関連特許
三菱電機株式会社
換気扇
5日前
三菱電機株式会社
換気扇
5日前
三菱電機株式会社
換気扇
5日前
三菱電機株式会社
回転電機
1か月前
三菱電機株式会社
照明器具
1か月前
三菱電機株式会社
換気装置
1か月前
三菱電機株式会社
照明装置
1か月前
三菱電機株式会社
照明装置
1か月前
三菱電機株式会社
回転電機
1か月前
三菱電機株式会社
収集装置
3日前
三菱電機株式会社
回転電機
1か月前
三菱電機株式会社
回転電機
21日前
三菱電機株式会社
電子機器
6日前
三菱電機株式会社
回路遮断器
1か月前
三菱電機株式会社
半導体装置
1か月前
三菱電機株式会社
電気掃除機
1か月前
三菱電機株式会社
半導体装置
11日前
三菱電機株式会社
半導体装置
1か月前
三菱電機株式会社
半導体装置
1か月前
三菱電機株式会社
加熱調理器
24日前
三菱電機株式会社
半導体装置
1か月前
三菱電機株式会社
半導体装置
25日前
三菱電機株式会社
電力変換装置
1か月前
三菱電機株式会社
照明システム
11日前
三菱電機株式会社
電力変換装置
1か月前
三菱電機株式会社
貯湯式給湯機
21日前
三菱電機株式会社
車両制御装置
1か月前
三菱電機株式会社
回転電機装置
1か月前
三菱電機株式会社
ネジ取出機構
1か月前
三菱電機株式会社
空気調和装置
1か月前
三菱電機株式会社
給湯システム
24日前
三菱電機株式会社
送電線保護装置
1か月前
三菱電機株式会社
電動機制御装置
17日前
三菱電機株式会社
屋外設置用筐体
1か月前
三菱電機株式会社
給湯機システム
1か月前
三菱電機株式会社
非常用照明装置
24日前
続きを見る
他の特許を見る