TOP
|
特許
|
意匠
|
商標
特許ウォッチ
Twitter
他の特許を見る
10個以上の画像は省略されています。
公開番号
2025134264
公報種別
公開特許公報(A)
公開日
2025-09-17
出願番号
2024032056
出願日
2024-03-04
発明の名称
太陽電池
出願人
株式会社デンソー
,
国立大学法人東海国立大学機構
代理人
弁理士法人かいせい特許事務所
主分類
H10K
30/50 20230101AFI20250909BHJP()
要約
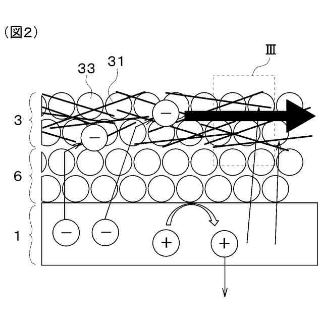
【課題】材料コストを削減しつつ、高いエネルギ変換効率を実現可能な太陽電池を提供する。
【解決手段】一対の電極2、3と、一対の電極間2、3に位置するとともに、光を吸収して電子および正孔を発生させる活性層1と、備える太陽電池において、一対の電極は、電子を捕集する電子捕集電極3と、正孔を捕集する正孔捕集電極2と、により構成されており、電子捕集電極3は、カーボンナノチューブ31と、電子供与材料32と、を含有する。
【選択図】図2
特許請求の範囲
【請求項1】
一対の電極(2、3)と、
前記一対の電極間に位置するとともに、光を吸収して電子および正孔を発生させる活性層(1)と、備える太陽電池であって、
前記一対の電極は、前記電子を捕集する電子捕集電極(3)と、前記正孔を捕集する正孔捕集電極(2)と、により構成されており、
前記電子捕集電極は、カーボンナノチューブ(31)と、電子供与材料(32)と、を含有する太陽電池。
続きを表示(約 2,400 文字)
【請求項2】
前記電子捕集電極のゼーベック係数がマイナスである請求項1に記載の太陽電池。
【請求項3】
前記電子捕集電極は、電子輸送材料(33)を含有する請求項1または2に記載の太陽電池。
【請求項4】
前記電子供与材料は、電子のローンペアまたはアニオン性部位の性質により電子を他の材料に部分的に供与可能な物質、および、アルカリ金属またはアルカリ土類金属により電子を他の材料に供与可能な物質の少なくとも一方である請求項1または2に記載の太陽電池。
【請求項5】
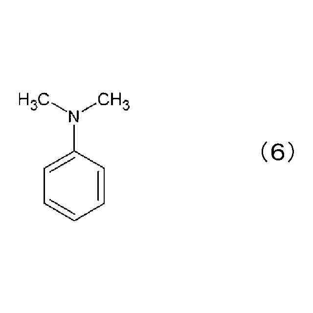
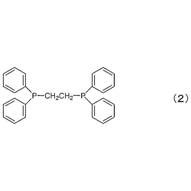
前記電子供与材料は、下記化学式1ないし8で表される化合物からなる群より選択される少なくとも1つの化合物である請求項1または2に記載の太陽電池。
TIFF
2025134264000033.tif
30
131
TIFF
2025134264000034.tif
28
131
TIFF
2025134264000035.tif
50
131
TIFF
2025134264000036.tif
29
131
TIFF
2025134264000037.tif
32
135
TIFF
2025134264000038.tif
29
135
TIFF
2025134264000039.tif
48
135
TIFF
2025134264000040.tif
48
135
【請求項6】
前記電子輸送材料は、電子移動度が1×10
-8
cm
2
/Vs以上の物質、および、フラーレンまたはフラーレン誘導体を含むn型有機半導体の少なくとも一方である請求項3に記載の太陽電池。
【請求項7】
前記電子輸送材料は、CdS、GaN、In
2
S
3
、InGaZnO
4
、SnO
2
、SnS
2
、SrSnO
3
、SrTiO
3
、TiO
2
、Zn
2
SO
4
、ZnO、ZnTiO
3
、ZrSnO
4
、C
60
フラーレン、C
70
フラーレン、ジフェニルメタノフラーレン(DPM)、オリゴエーテル(OE)、C
60
誘導体、C
70
誘導体、および、下記化学式9ないし30で表される化合物からなる群より選択される少なくとも1つの化合物である請求項3に記載の太陽電池。
TIFF
2025134264000041.tif
43
128
TIFF
2025134264000042.tif
43
128
TIFF
2025134264000043.tif
44
128
TIFF
2025134264000044.tif
44
128
TIFF
2025134264000045.tif
27
135
TIFF
2025134264000046.tif
56
135
TIFF
2025134264000047.tif
56
135
TIFF
2025134264000048.tif
29
135
TIFF
2025134264000049.tif
56
135
TIFF
2025134264000050.tif
45
135
TIFF
2025134264000051.tif
47
135
TIFF
2025134264000052.tif
40
122
TIFF
2025134264000053.tif
49
122
TIFF
2025134264000054.tif
36
122
TIFF
2025134264000055.tif
54
122
TIFF
2025134264000056.tif
57
135
TIFF
2025134264000057.tif
29
135
TIFF
2025134264000058.tif
64
135
TIFF
2025134264000059.tif
42
124
TIFF
2025134264000060.tif
45
124
TIFF
2025134264000061.tif
46
124
TIFF
2025134264000062.tif
31
118
ただし、前記化学式30中、R
2
は下記化学式31で表される基である。
TIFF
2025134264000063.tif
28
118
【請求項8】
前記活性層は、ペロブスカイト化合物により構成されている請求項1または2に記載の太陽電池。
発明の詳細な説明
【技術分野】
【0001】
本発明は、太陽電池に関する。
続きを表示(約 1,300 文字)
【背景技術】
【0002】
従来、太陽電池には、透明で電気を通す性質の透光性電極が利用されている。中でもインジウムスズ酸化物(ITO)が、現在、主流の透光性電極材料として広く利用されている。しかしながら、インジウムは希少金属であるため、コストや供給の安定性に不安がある。
【0003】
これに対し、特許文献1には、透光性電極としてカーボンナノチューブ膜を用いた太陽電池が開示されている。透光性電極としてカーボンナノチューブ膜を採用することで、低コストで、高いエネルギ変換効率を実現することができる。
【先行技術文献】
【特許文献】
【0004】
特許第7191310号公報
【発明の概要】
【発明が解決しようとする課題】
【0005】
カーボンナノチューブは、特に大気中で取り扱う場合にはp型半導体となり、正孔を輸送・捕集する能力は有している。このため、一般的に、太陽電池において、カーボンナノチューブ膜は正孔を捕集する正孔捕集電極に用いられている。
【0006】
これに対し、本発明者らは、電子を捕集する電子捕集電極にカーボンナノチューブ膜を用いることを検討した。しかしながら、カーボンナノチューブ膜を電子輸送電極に用いる場合、電子を輸送・捕集する能力が不足するおそれがあることが明らかとなった。このため、電子捕集電極としてカーボンナノチューブ膜を採用することは難しく、材料コストの削減効果が十分に得られなくなる可能性がある。
【0007】
本発明は、上記点に鑑みて、材料コストを削減しつつ、高いエネルギ変換効率を実現可能な太陽電池を提供することを目的とする。
【課題を解決するための手段】
【0008】
上記目的を達成するため、請求項1に記載の太陽電池は、一対の電極(2、3)と、
一対の電極間に位置するとともに、光を吸収して電子および正孔を発生させる活性層(1)と、備える太陽電池において、
一対の電極は、電子を捕集する電子捕集電極(3)と、正孔を捕集する正孔捕集電極(2)と、により構成されており、
電子捕集電極は、カーボンナノチューブ(31)と、電子供与材料(32)と、を含有する。
【0009】
これによれば、電子捕集電極に、カーボンナノチューブおよび電子供与材料を含有させることで、電子捕集電極の主要キャリアを正孔から電子に変化させることができる。このため、電子捕集電極としてカーボンナノチューブを用いても、活性層で発生した電子を捕集することができる。したがって、電子捕集電極としてカーボンナノチューブを採用できるので、材料コストを削減しつつ、高いエネルギ変換効率を実現することが可能となる。
【0010】
なお、この欄および特許請求の範囲で記載した各手段の括弧内の符号は、後述する実施形態に記載の具体的手段との対応関係を示すものである。
【図面の簡単な説明】
(【0011】以降は省略されています)
特許ウォッチbot のツイートを見る
この特許をJ-PlatPat(特許庁公式サイト)で参照する
関連特許
株式会社デンソーウェーブ
筐体
1日前
株式会社デンソー
回転機
1日前
株式会社デンソー
検出装置
今日
株式会社デンソー
電流センサ
1日前
株式会社デンソー
電力変換装置
2日前
株式会社デンソー
画像処理装置
1日前
株式会社デンソー
はんだ付け装置
2日前
株式会社デンソー
巻線界磁ロータ
2日前
株式会社デンソー
ブラシレスモータ
今日
株式会社デンソー
スイッチング素子
今日
株式会社デンソーウェーブ
レーザレーダ装置
今日
株式会社デンソーウェーブ
レーザレーダ装置
今日
株式会社デンソー
ステータ及びモータ
3日前
株式会社デンソー
スイッチング制御装置
3日前
株式会社デンソー
検出装置、検出装置の製造方法
今日
株式会社デンソー
検出装置、検出装置の製造方法
今日
株式会社デンソー
検出装置、検出装置の製造方法
今日
株式会社デンソー
検出装置、プログラム、及び算出方法
今日
株式会社デンソー
接触センサおよび接触センサを備えたヒータ
今日
株式会社デンソー
シザーズギア、アクチュエータ及び反力付与装置
今日
株式会社デンソー
半導体モジュール、半導体装置、半導体モジュールの製造方法
今日
株式会社デンソー
電力変換器の制御装置、プログラム、及び電力変換器の制御方法
1日前
株式会社デンソー
物標検出装置、物標検出方法、物標検出プログラム、および記録媒体
7日前
株式会社デンソー
電界効果トランジスタ
今日
株式会社豊田中央研究所
演算処理方法、演算処理プログラム、及び演算処理装置
1日前
株式会社デンソー
携帯型またはウェアラブル型で構成された電子機器
2日前
株式会社デンソー
車両用表示制御装置、車両用表示制御システム、車両用表示制御方法、及び車両用表示制御プログラム
今日
株式会社デンソー
車両用表示制御装置、車両用表示制御システム、車両用表示制御方法、及び車両用表示制御プログラム
今日
株式会社豊田中央研究所
ガス吸着用複合材料基板、それを備えるガスセンサ、及びガス吸着用複合材料基板の製造方法
1日前
個人
半導体装置
9日前
東レ株式会社
太陽電池モジュール
9日前
エイブリック株式会社
半導体装置
15日前
富士電機株式会社
半導体装置
18日前
エイブリック株式会社
縦型ホール素子
3日前
エイブリック株式会社
縦型ホール素子
3日前
ローム株式会社
半導体装置
10日前
続きを見る
他の特許を見る