TOP
|
特許
|
意匠
|
商標
特許ウォッチ
Twitter
他の特許を見る
10個以上の画像は省略されています。
公開番号
2025135195
公報種別
公開特許公報(A)
公開日
2025-09-18
出願番号
2024032883
出願日
2024-03-05
発明の名称
ステータ
出願人
株式会社デンソー
代理人
弁理士法人太陽国際特許事務所
主分類
H02K
3/34 20060101AFI20250910BHJP(電力の発電,変換,配電)
要約
【課題】巻線巻回部の占積率を減少させずに、巻線巻回部に対する絶縁性を確保する。
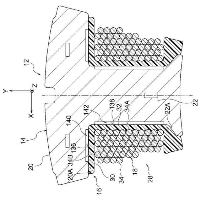
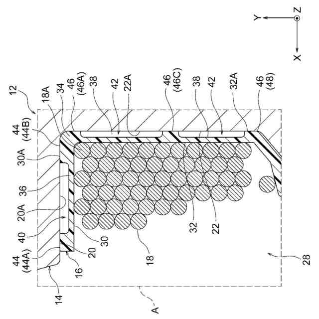
【解決手段】ステータ(10)は、環状部(26)と、環状部から環状部の径方向内側に放射状に延びる複数のティース部(22)とを有するステータコア(24)と、ステータコアに装着されたインシュレータ(16)と、複数のティース部にインシュレータを介して巻回された複数の巻線巻回部(18)と、を備え、インシュレータは、ステータコアの接線方向に延在し、環状部を巻線巻回部側から絶縁する第1絶縁部(30)と、ステータコアの径方向に延在し、ティース部を巻線巻回部側から絶縁する第2絶縁部(32)と、を有し、第1絶縁部と第2絶縁部とは、コーナー部(34)を介して接続されており、巻線巻回部のうちのコーナー部の内側に配置された巻線(18A)は、第1絶縁部と第2絶縁部とに接しており、コーナー部の内側の面であるコーナー面(34A)と巻線との間には、気体層(50)が形成されている。
【選択図】図5
特許請求の範囲
【請求項1】
環状部(26)と、前記環状部から前記環状部の径方向内側に放射状に延びる複数のティース部(22)とを有するステータコア(24)と、
前記ステータコアに装着されたインシュレータ(16)と、
前記複数のティース部に前記インシュレータを介して巻回された複数の巻線巻回部(18)と、
を備え、
前記インシュレータは、
前記ステータコアの接線方向に延在し、前記環状部を前記巻線巻回部側から絶縁する第1絶縁部(30)と、
前記ステータコアの径方向に延在し、前記ティース部を前記巻線巻回部側から絶縁する第2絶縁部(32)と、
を有し、
前記第1絶縁部と前記第2絶縁部とは、コーナー部(34)を介して接続されており、
前記巻線巻回部のうちの前記コーナー部の内側に配置された巻線(18A)は、前記第1絶縁部と前記第2絶縁部とに接しており、
前記コーナー部の内側の面であるコーナー面(34A)と前記巻線との間には、気体層(50)が形成されている、
ステータ(10)。
続きを表示(約 1,200 文字)
【請求項2】
前記コーナー面は、曲面によって形成されており、
前記コーナー面と前記巻線との間には、前記コーナー面の半径が前記巻線の半径よりも小さい寸法に設定されることにより、前記気体層が形成されている、
請求項1に記載のステータ。
【請求項3】
前記コーナー面には、前記巻線から逃げる側へ凹む逃げ溝(60)が形成されており、
前記コーナー面と前記巻線との間には、前記コーナー面に前記逃げ溝が形成されることにより、前記気体層が形成されている、
請求項1に記載のステータ。
【請求項4】
前記逃げ溝は、
前記第1絶縁部における前記巻線巻回部を支持する側の面である第1支持面(30B)と連続する第1溝側面(60A)と、
前記第2絶縁部における前記巻線巻回部を支持する側の面である第2支持面(32B)と連続する第2溝側面(60B)と、
を有し、
前記第1支持面及び前記第1溝側面は、前記ステータコアの接線方向に沿って延在している、
請求項3に記載のステータ。
【請求項5】
前記逃げ溝は、
前記第1絶縁部における前記巻線巻回部を支持する側の面である第1支持面と連続する第1溝側面と、
前記第2絶縁部における前記巻線巻回部を支持する側の面である第2支持面と連続する第2溝側面と、
を有し、
前記第2支持面及び前記第2溝側面は、前記ステータコアの径方向に沿って延在している、
請求項3に記載のステータ。
【請求項6】
前記第1絶縁部における前記環状部に装着される側の面である第1被装着面(30A)には、前記環状部側に開口する第1溝(36)が形成され、
前記第2絶縁部における前記ティース部に装着される側の面である第2被装着面(32A)には、前記ティース部側に開口する第2溝(38)が形成され、
前記ステータコアと前記巻線巻回部との間には、前記第1溝によって第1気体層(40)が形成され、前記第2溝によって第2気体層(42)が形成されている、
請求項1から請求項5の何れか一項に記載のステータ。
【請求項7】
前記環状部における前記第1絶縁部が装着される側の面である第1装着面(20A)には、前記第1絶縁部側に開口する第1溝(136)が形成され、
前記ティース部における前記第2絶縁部が装着される側の面である第2装着面(22A)には、前記第2絶縁部側に開口する第2溝(138)が形成され、
前記ステータコアと前記巻線巻回部との間には、前記第1溝によって第1気体層(140)が形成され、前記第2溝によって第2気体層(142)が形成されている、
請求項1から請求項5の何れか一項に記載のステータ。
発明の詳細な説明
【技術分野】
【0001】
本開示の技術は、ステータに関する。
続きを表示(約 2,100 文字)
【背景技術】
【0002】
従来、放射状に延びる複数のティース部を有するステータコアと、ステータコアに装着されたインシュレータと、複数のティース部にインシュレータを介して巻回された複数の巻線巻回部とを備えるステータがある。また、この種のステータの中には、ティース部の軸方向端面にインシュレータが装着され、ティース部の側面に絶縁紙が設けられた構成のものがある(例えば、特許文献1参照)。
【先行技術文献】
【特許文献】
【0003】
特開2018-198515号公報
【発明の概要】
【発明が解決しようとする課題】
【0004】
上記構成のステータでは、巻線巻回部に高電圧が印加されると、絶縁紙に絶縁破壊が生じることが懸念される。そこで、絶縁破壊に対する対策として、絶縁紙の代わりに、絶縁紙よりも厚肉化したインシュレータを用いることが考えられるが、このようにした場合には、巻線巻回部の占積率が減少する。
【0005】
本開示の技術は、上記課題に鑑みてなされたものであって、巻線巻回部の占積率を減少させずに、巻線巻回部に対する絶縁性を確保できるステータを提供することを目的とする。
【課題を解決するための手段】
【0006】
前記課題を解決するために、本開示の技術に係るステータ(10)は、環状部(26)と、前記環状部から前記環状部の径方向内側に放射状に延びる複数のティース部(22)とを有するステータコア(24)と、前記ステータコアに装着されたインシュレータ(16)と、前記複数のティース部に前記インシュレータを介して巻回された複数の巻線巻回部(18)と、を備え、前記インシュレータは、前記ステータコアの接線方向に延在し、前記環状部を前記巻線巻回部側から絶縁する第1絶縁部(30)と、前記ステータコアの径方向に延在し、前記ティース部を前記巻線巻回部側から絶縁する第2絶縁部(32)と、を有し、前記第1絶縁部と前記第2絶縁部とは、コーナー部(34)を介して接続されており、前記巻線巻回部のうちの前記コーナー部の内側に配置された巻線(18A)は、前記第1絶縁部と前記第2絶縁部とに接しており、前記コーナー部の内側の面であるコーナー面(34A)と前記巻線との間には、気体層(50)が形成されている。
【0007】
本開示の技術に係るステータによれば、巻線巻回部の占積率を減少させずに、巻線巻回部に対する絶縁性を確保することができる。
【図面の簡単な説明】
【0008】
本開示の技術の第1実施形態に係るステータの平面図である。
第1実施形態に係るステータ構成部材の平面断面図である。
第1実施形態に係るステータ構成部材の要部(A部)を拡大した平面断面図である。
巻線巻回部を除くステータ構成部材の斜視図である。
第1実施形態に係るステータ構成部材の要部(B部)を拡大した平面断面図である。
第2実施形態に係るステータ構成部材の平面断面図である。
第2実施形態に係るステータ構成部材の要部を拡大した平面断面図である。
第3実施形態に係るステータ構成部材の要部を拡大した平面断面図である。
第3実施形態の第1変形例に係るステータ構成部材の要部を拡大した平面断面図である。
第3実施形態の第2変形例に係るステータ構成部材の要部を拡大した平面断面図である。
第3実施形態の第3変形例に係るステータ構成部材の要部を拡大した平面断面図である。
第3実施形態の第4変形例に係るステータ構成部材の要部を拡大した平面断面図である。
第4実施形態に係るステータ構成部材の要部を拡大した平面断面図である。
第4実施形態の第1変形例に係るステータ構成部材の要部を拡大した平面断面図である。
第4実施形態の第2変形例に係るステータ構成部材の要部を拡大した平面断面図である。
第4実施形態の第3変形例に係るステータ構成部材の要部を拡大した平面断面図である。
第4実施形態の第4変形例に係るステータ構成部材の要部を拡大した平面断面図である。
第1比較例にステータ構成部材の要部を拡大した平面断面図である。
第2比較例にステータ構成部材の要部を拡大した平面断面図である。
【発明を実施するための形態】
【0009】
[第1実施形態]
はじめに、本開示の技術の第1実施形態について説明する。
【0010】
図1に示すように、本実施形態に係るステータ10は、複数のステータ構成部材12を備える。複数のステータ構成部材12が環状に組み合わされることにより、ステータ10が構成される。図1には、ステータ10の半分の構成が示されている。ステータ10は、ブラシレスモータに適用される。ブラシレスモータは、どのような用途に使用されてもよい。ブラシレスモータとしては、例えば、ファンモータ、ポンプ駆動用モータ、及びコンプレッサ用モータ等が挙げられる。
(【0011】以降は省略されています)
この特許をJ-PlatPat(特許庁公式サイト)で参照する
関連特許
株式会社デンソーウェーブ
筐体
1か月前
株式会社デンソー
車載器
1か月前
株式会社デンソー
電動弁
11日前
株式会社デンソー
接合体
1か月前
株式会社デンソー
回転機
1か月前
株式会社デンソー
制御装置
13日前
株式会社デンソー
電子装置
21日前
株式会社デンソー
電子装置
1か月前
株式会社デンソー
電子装置
1か月前
株式会社デンソーエレクトロニクス
発音装置
1か月前
株式会社デンソー
電子装置
11日前
株式会社デンソー
平滑回路
2か月前
株式会社デンソー
電解装置
12日前
株式会社デンソー
検出装置
1か月前
株式会社デンソー
ステータ
1か月前
株式会社デンソー
ステータ
1か月前
株式会社デンソーエレクトロニクス
発音装置
2か月前
株式会社デンソー
熱交換器
10日前
株式会社デンソー
太陽電池
2か月前
株式会社デンソー
摺動機構
10日前
株式会社デンソー
電子装置
1か月前
株式会社デンソー
ステータ
2か月前
株式会社デンソー
反力装置
1か月前
株式会社デンソー
撮像装置
10日前
株式会社デンソー
撮像装置
10日前
株式会社デンソー
ねじ部材
1か月前
株式会社デンソー
ステータ
2か月前
株式会社デンソー
電気回路
5日前
株式会社デンソー
摺動機構
10日前
株式会社デンソー
半導体装置
20日前
株式会社デンソー
半導体装置
1か月前
株式会社デンソー
半導体装置
12日前
株式会社デンソー
電流センサ
1か月前
株式会社デンソー
農業用装置
1か月前
株式会社デンソー
熱交換装置
25日前
株式会社デンソートリム
鞍乗り車両
19日前
続きを見る
他の特許を見る