TOP
|
特許
|
意匠
|
商標
特許ウォッチ
Twitter
他の特許を見る
10個以上の画像は省略されています。
公開番号
2025135200
公報種別
公開特許公報(A)
公開日
2025-09-18
出願番号
2024032889
出願日
2024-03-05
発明の名称
電圧変換回路
出願人
株式会社デンソー
,
トヨタ自動車株式会社
,
株式会社ミライズテクノロジーズ
代理人
弁理士法人 快友国際特許事務所
主分類
H03F
3/34 20060101AFI20250910BHJP(基本電子回路)
要約
【課題】 高いオフセット電圧を補正する。
【解決手段】 電圧変換回路であって、主回路と、デジタル補正回路と、アナログ補正回路を有する。前記デジタル補正回路の補正可能範囲が、前記アナログ補正回路の補正可能範囲よりも広い。補正動作では、入力端子間に設けられたスイッチがオンしている状態で、出力電位と目標電位の差が前記アナログ補正回路の前記補正可能範囲内に入るように前記デジタル補正回路の設定値を調整し、その後、前記出力電位と前記目標電位の差が縮小するように前記アナログ補正回路の設定値を調整する。
【選択図】図2
特許請求の範囲
【請求項1】
電圧変換回路であって、
出力端子(OUT)と、
第1入力端子(INH0)と、
第2入力端子(INL0)と、
前記第1入力端子と前記第2入力端子の間の入力電圧に応じた出力電位を前記出力端子に出力する主回路と、
前記第1入力端子と前記第2入力端子の間を短絡するオンと前記第1入力端子と前記第2入力端子の間を開放するオフとに切り換わるスイッチ(Sw2)と、
前記出力電位をデジタルで補正するデジタル補正回路(50)と、
前記出力電位をアナログで補正するアナログ補正回路(60)、
を有し、
前記デジタル補正回路の補正可能範囲が、前記アナログ補正回路の補正可能範囲よりも広く、
前記電圧変換回路は、補正動作と電圧変換動作を実行可能であり、
前記補正動作では、前記スイッチがオンしている状態で、前記出力電位と目標電位の差が前記アナログ補正回路の前記補正可能範囲内に入るように前記デジタル補正回路の設定値を調整し、その後、前記出力電位と前記目標電位の差が縮小するように前記アナログ補正回路の設定値を調整する動作であり、
前記電圧変換動作が、前記スイッチがオフしているとともに前記デジタル補正回路の前記設定値及び前記アナログ補正回路の前記設定値が前記補正動作で調整された値に設定されている状態で前記出力電位を出力する動作である、
電圧変換回路。
続きを表示(約 1,300 文字)
【請求項2】
前記主回路が、
前記第1入力端子に接続された第3入力端子(INH1)と、前記第2入力端子に接続された第4入力端子(INL1)を備え、前記第3入力端子と前記第4入力端子の間の電圧に応じた第1出力電位(Vout1)を出力する第1電圧変換回路(10)と、
前記第1出力電位に応じた第2出力電位(Vout2)を出力する第2電圧変換回路(20)、
を有し、
前記デジタル補正回路が前記第2出力電位を補正し、
前記アナログ補正回路が前記第2出力電位を補正する、
請求項1に記載の電圧変換回路。
【請求項3】
カソードが前記第1入力端子に接続されているとともにアノードが前記第3入力端子に接続されている第1ダイオード(D1)と、
カソードが前記第2入力端子に接続されているとともにアノードが前記第4入力端子に接続されている第2ダイオード(D2)、
をさらに有する、請求項2に記載の電圧変換回路。
【請求項4】
前記デジタル補正回路が、第1補正電流(Id)を出力し、
前記アナログ補正回路が、第2補正電流(Ia)を出力し、
前記第2電圧変換回路が、
前記第1出力電位に応じた出力電流(Iin)を出力する電圧電流変換回路(R5)と、
前記出力電流と前記第1補正電流と前記第2補正電流の合計電流に応じた前記第2出力電位を出力する電流電圧変換回路(40)、
を有する、
請求項2または3に記載の電圧変換回路。
【請求項5】
前記第1電圧変換回路が、前記第3入力端子に接続された反転入力端子と前記第4入力端子に接続された非反転入力端子とを備えるオペアンプ(12)を有し、
前記デジタル補正回路が、前記非反転入力端子の電位を変更し、
前記アナログ補正回路が、前記非反転入力端子の電位を変更する、
請求項2または3に記載の電圧変換回路。
【請求項6】
前記第1電圧変換回路が、前記非反転入力端子に接続された電源(14)を有しており、
前記デジタル補正回路が、前記電源が出力する電位を変更し、
前記アナログ補正回路が、前記電源が出力する電位を変更する、
請求項5に記載の電圧変換回路。
【請求項7】
前記第1電圧変換回路が、前記非反転入力端子に接続された可変抵抗器(R4)を有しており、
前記デジタル補正回路が、前記可変抵抗器の電気抵抗を変更し、
前記アナログ補正回路が、前記可変抵抗器の電気抵抗を変更する、
請求項5に記載の電圧変換回路。
【請求項8】
前記第1電圧変換回路が作動増幅器である、請求項2または3に記載の電圧変換回路。
【請求項9】
前記第1電圧変換回路が計装アンプである、請求項2または3に記載の電圧変換回路。
【請求項10】
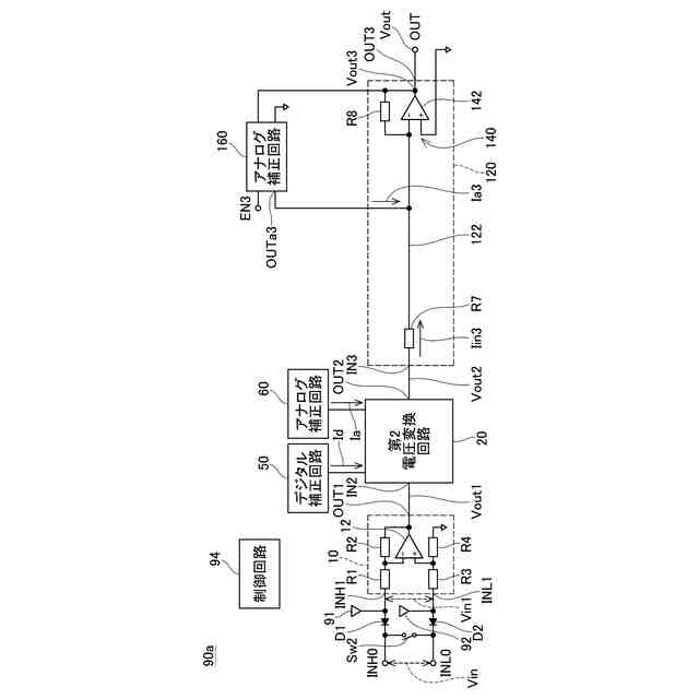
前記主回路が、前記第2出力電位に応じた第3出力電位を出力する第3電圧変換回路(30)を有する、請求項2または3に記載の電圧変換回路。
(【請求項11】以降は省略されています)
発明の詳細な説明
【技術分野】
【0001】
本明細書に開示の技術は、電圧変換回路に関する。
続きを表示(約 3,000 文字)
【0002】
特許文献1には、入力電圧に応じた出力電位を出力する電圧変換回路が開示されている。この種の電圧変換回路には、オフセット電圧をキャンセルするための補正回路が設けられる。例えば、特許文献1では、DA変換器によって出力電位を調節することで、オフセット電圧をキャンセルする。
【先行技術文献】
【特許文献】
【0003】
特開2017-130743号公報
【発明の概要】
【発明が解決しようとする課題】
【0004】
電圧変換回路において、高いオフセット電圧が生じる場合がある。例えば、電圧変換回路の各入力端子に保護素子等が設けられている場合には、保護素子の特性ばらつきに起因して、高いオフセット電圧が生じる場合がある。このようにオフセット電圧が高い場合には、補正回路の補正可能範囲で出力電位を補正できない場合がある。本明細書では、高いオフセット電圧を好適に補正する技術を提案する。
【課題を解決するための手段】
【0005】
本明細書が開示する電圧変換回路は、出力端子と、第1入力端子と、第2入力端子と、前記第1入力端子と前記第2入力端子の間の入力電圧に応じた出力電位を前記出力端子に出力する主回路と、前記第1入力端子と前記第2入力端子の間を短絡するオンと前記第1入力端子と前記第2入力端子の間を開放するオフとに切り換わるスイッチと、前記出力電位をデジタルで補正するデジタル補正回路と、前記出力電位をアナログで補正するアナログ補正回路、を有する。前記デジタル補正回路の補正可能範囲が、前記アナログ補正回路の補正可能範囲よりも広い。前記電圧変換回路は、補正動作と電圧変換動作を実行可能である。前記補正動作では、前記スイッチがオンしている状態で、前記出力電位と目標電位の差が前記アナログ補正回路の前記補正可能範囲内に入るように前記デジタル補正回路の設定値を調整し、その後、前記出力電位と前記目標電位の差が縮小するように前記アナログ補正回路の設定値を調整する動作である。前記電圧変換動作が、前記スイッチがオフしているとともに前記デジタル補正回路の前記設定値及び前記アナログ補正回路の前記設定値が前記補正動作で調整された値に設定されている状態で前記出力電位を出力する動作である。
【0006】
この電圧変換回路では、補正動作において、出力電位と目標電位の差がアナログ補正回路の補正可能範囲内に入るようにデジタル補正回路が出力電位を補正する。デジタル補正回路の調整幅は広いので、デジタル補正回路は広い補正可能範囲を有する。したがって、オフセット電圧が高い場合であっても、出力電位と目標電位の差がアナログ補正回路の補正可能範囲内に入るように出力電位を補正できる。次に、出力電位と目標電位の差が縮小するようにアナログ補正回路が出力電位を補正する。出力電位と目標電位の差がアナログ補正回路の補正可能範囲内に入っているので、アナログ補正回路は出力電位を正確に補正できる。このように、補正動作では、オフセット電圧が高い場合でも、出力電位を適切に補正できる。したがって、電圧変換動作において、入力電圧を出力電位に正確に変換できる。
【図面の簡単な説明】
【0007】
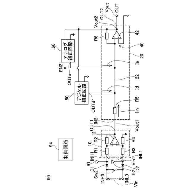
電圧変換回路と電界効果トランジスタの接続を示す回路図。
実施例1の電圧変換回路の回路図。
デジタル補正回路の回路図。
アナログ補正回路の回路図。
実施例1の補正動作時における各値を示すグラフ。
デジタル補正回路が実行する処理を示すフローチャート。
実施例2の電圧変換回路の回路図。
実施例2の補正動作時における各値を示すグラフ。
実施例3の電圧変換回路の回路図。
実施例3の補正動作時における各値を示すグラフ。
実施例4の電圧変換回路の回路図。
実施例5の電圧変換回路の回路図。
実施例6の電圧変換回路の回路図。
実施例7の電圧変換回路の回路図。
計装アンプの回路図。
【発明を実施するための形態】
【実施例】
【0008】
図1に示す電圧変換回路90は、パワー半導体素子である電界効果トランジスタ98のドレイン電圧Vds(すなわち、ドレイン-ソース間の電圧)を検出する。電圧変換回路90は、入力端子INH0、入力端子INL0、及び、出力端子OUTを有している。入力端子INH0は、スイッチSw1を介して電界効果トランジスタ98のドレインに接続されている。入力端子INL0は、電界効果トランジスタ98のソースに接続されている。電圧変換回路90は、入力端子INH0と入力端子INL0の間の電圧(以下、入力電圧Vinという)を増幅した出力電位Voutを出力端子OUTに出力する。スイッチSw1がオンすると、入力電圧Vinは、ドレイン電圧Vdsと一致する。
【0009】
図2に示すように、実施例1の電圧変換回路90は、スイッチSw2、ダイオードD1、D2、定電流源91、92、第1電圧変換回路10、及び、第2電圧変換回路20を有している。スイッチSw2は、入力端子INH0と入力端子INL0の間に接続されている。第1電圧変換回路10は、入力端子INH1、入力端子INL1、及び、出力端子OUT1を有している。ダイオードD1のカソードは入力端子INH0に接続されており、ダイオードD1のアノードは入力端子INH1に接続されている。ダイオードD2のカソードは入力端子INL0に接続されており、ダイオードD2のアノードは入力端子INL1に接続されている。定電流源91は、ダイオードD1のアノードに接続されている。定電流源92は、ダイオードD2のアノードに接続されている。第1電圧変換回路10は、入力端子INH1と入力端子INL1の間の電圧(以下、入力電圧Vin1という)を増幅した出力電位Vout1を出力端子OUT1に出力する。第2電圧変換回路20は、入力端子IN2と出力端子OUT2を有している。入力端子IN2は第1電圧変換回路10の出力端子OUT1に接続されている。第2電圧変換回路20は、第1電圧変換回路10の出力電位Vout1を増幅した出力電位Vout2を出力端子OUT2に出力する。実施例1では、出力端子OUT2が、電圧変換回路90の出力端子OUTに接続されている。すなわち、実施例1では、第2電圧変換回路20の出力電位Vout2が、電圧変換回路90の出力電位Voutである。また、電圧変換回路90は、制御回路94を有している。制御回路94は、電圧変換回路90内の各部を制御する。
【0010】
電圧変換回路90によってドレイン電圧Vdsを検出する際には、制御回路94が、スイッチSw1をオンし、スイッチSw2をオフする。この状態では、入力電圧Vinがドレイン電圧Vdsとなる。電界効果トランジスタ98がオフしている状態では、ドレイン電圧Vdsは極めて高い(例えば、1000ボルト程度)。他方、電界効果トランジスタ98がオンしている状態ではドレイン電圧Vdsは低い(例えば、数ボルト)。電圧変換回路90は、電界効果トランジスタ98がオンしているときのドレイン電圧Vdsを検出する。
(【0011】以降は省略されています)
この特許をJ-PlatPat(特許庁公式サイト)で参照する
関連特許
株式会社デンソー
車載器
6日前
株式会社デンソー
接合体
20日前
株式会社デンソー
電子装置
1日前
株式会社デンソーエレクトロニクス
発音装置
28日前
株式会社デンソー
電子装置
1か月前
株式会社デンソー
電子装置
10日前
株式会社デンソーエレクトロニクス
発音装置
10日前
株式会社デンソー
ステータ
1か月前
株式会社デンソー
ステータ
21日前
株式会社デンソー
ステータ
21日前
株式会社デンソー
測距装置
1か月前
株式会社デンソー
ステータ
6日前
株式会社デンソー
ステータ
6日前
株式会社デンソー
太陽電池
22日前
株式会社デンソー
ねじ部材
6日前
株式会社デンソー
書込装置
1か月前
株式会社デンソー
電子装置
1か月前
株式会社デンソー
駆動装置
1か月前
株式会社デンソー
通信装置
1か月前
株式会社デンソー
光学部材
1か月前
株式会社デンソー
電子装置
1か月前
株式会社デンソー
平滑回路
1か月前
株式会社デンソー
半導体装置
6日前
株式会社デンソー
センサ素子
1か月前
株式会社デンソー
点火プラグ
1か月前
株式会社デンソー
回転体装置
1か月前
株式会社デンソー
レーダ装置
1か月前
株式会社デンソー
農業用装置
2日前
株式会社デンソー
半導体装置
1か月前
株式会社デンソー
ガスセンサ
1か月前
株式会社デンソー
レーダ装置
10日前
株式会社デンソー
電波吸収装置
10日前
株式会社デンソーエアクール
換気空調装置
7日前
株式会社デンソー
電子制御装置
10日前
株式会社デンソー
電力変換装置
1か月前
株式会社デンソー
通信システム
10日前
続きを見る
他の特許を見る