TOP
|
特許
|
意匠
|
商標
特許ウォッチ
Twitter
他の特許を見る
公開番号
2025146028
公報種別
公開特許公報(A)
公開日
2025-10-03
出願番号
2024046594
出願日
2024-03-22
発明の名称
電子制御装置
出願人
株式会社デンソー
代理人
弁理士法人サトー
主分類
G06F
11/07 20060101AFI20250926BHJP(計算;計数)
要約
【課題】次回にイグニッションスイッチをオンしたときにBISTを実行しなくても、その前回にイグニッションスイッチをオフするまでの間に異常があるか判定できるようにした電子制御装置を提供する。
【解決手段】BIST回路19は、少なくとも、イグニッションスイッチのオフ状態からメインリレー5がオフ状態に遷移するまでのメインリレーがオンに保持されている間(t1-t3)と、イグニッションスイッチのオフ状態からソークタイマT1により起動した後(t4)と、に電源監視回路18の診断対象回路20のBISTを実行する。マイコン13は、BIST回路19の実行結果に基づいて正常異常診断する。
【選択図】図1
特許請求の範囲
【請求項1】
電源監視装置による電源監視機能のハードウェアセルフテスト(以下、BIST)機能を有する電子制御装置であって、
少なくとも、イグニッションスイッチのオフ状態からメインリレーがオフ状態に遷移するまでの前記メインリレーがオンに保持されている間と、前記イグニッションスイッチのオフ状態からソークタイマにより起動した時(以下、ソーク起動時)と、に診断対象回路のBISTを実行するBIST実行部(19)と、
前記BIST実行部の実行結果に基づいて正常異常診断する診断部(13)と、
を備える電子制御装置。
続きを表示(約 910 文字)
【請求項2】
前記診断部は、
前記イグニッションスイッチのオフした後、前記メインリレーがオフするまでの前記メインリレーがオンに保持されている最中の前記ソークタイマの起動途中に前記BIST実行部がBISTを実行した実行結果(A)と、前記ソーク起動時における前記BIST実行部の実行結果(F1)とを確認し、
前記BIST実行部のいずれかの実行結果が異常を示す、又は、前記BIST実行部の実行結果が存在しない場合には異常と判定し、次回の前記イグニッションスイッチのオフ状態からオンに遷移したときに前記BIST実行部がBISTを実行する請求項1記載の電子制御装置。
【請求項3】
前記診断部が前記異常と判定した場合、前記ソーク起動時から前記メインリレーがオフするまでの前記メインリレーがオンに保持されている最中に、前記BIST実行部がBISTを実行し、前記診断部が前記BISTの実行結果に基づいて正常異常診断する請求項2記載の電子制御装置。
【請求項4】
前記ソークタイマにより複数回の起動を繰り返した場合、前記BIST実行部は前記複数回それぞれ前記ソーク起動時にBISTを実行し、前記診断部は、前記複数回のうち直近の所定回数の前記BISTの実行結果に基づいて正常異常診断をする請求項2又は3記載の電子制御装置。
【請求項5】
前回の前記BISTの実行から所定時間経過している場合、前記診断部は当該BISTの実行結果を診断に使用せず、前記ソーク起動時に実行されるソーク処理の終了タイミングから前記メインリレーがオフするするまでの間に前記BIST実行部によりBISTを実行し、前記診断部はBISTの実行結果に基づいて正常/異常診断する請求項2又は3記載の電子制御装置。
【請求項6】
前記診断部が正常異常を診断した後、前記イグニッションスイッチがオフ状態から前記メインリレーがオフするまでの前記メインリレーがオンに保持されている間に実行されたBISTの実行結果と、前記ソーク起動時のBISTの実行結果とを消去する請求項2又は3記載の電子制御装置。
発明の詳細な説明
【技術分野】
【0001】
本発明は、電子制御装置に関する。
続きを表示(約 1,800 文字)
【背景技術】
【0002】
例えば、車両に搭載される電子制御装置は電源回路を有している。この電源回路は、車載バッテリからの給電に応じてマイクロコンピュータや周辺回路に給電するため複数の電源を生成する。これらの電源から出力される電源電圧は所定の定格値である必要があることから、電源回路には、電源電圧が定格値であるかを監視する電源監視回路を搭載している。
【0003】
従来、この電源監視回路のハードウェアセルフテスト(以下、BIST)機能を有する電子制御装置が知られている(例えば、特許文献1参照)。これは電源監視回路が異常であると判定した場合に診断を再実行し、所定回数だけ連続して異常と判定した場合は異常と断定する技術を提案している。
【先行技術文献】
【特許文献】
【0004】
特開2021-154993号公報
【発明の概要】
【発明が解決しようとする課題】
【0005】
特許文献1記載の技術では、BISTの実行タイミングは、イグニッションスイッチオフからオン時に行う場合と、イグニッションスイッチオフしてからメインリレーがオフするまでのメインリレーのオン保持中の場合になる。イグニッションスイッチのオフからオン時にBISTを実行すると、マイコンがリセット解除され動作し始めるまでにマイコンの動作遅延時間が多くかかってしまう問題を生じる。
【0006】
またBIST実行部が、イグニッションスイッチがオフしてからメインリレーをオフするまでの間で且つメインリレーがオン保持している最中にBISTを実行した場合、次回にイグニッションスイッチをオンした時にBISTを実行しなければ動作遅延時間を短縮できる。しかし、特許文献1記載の技術を適用した場合には、次回にイグニッションスイッチをオンした時にBISTを実行しないと、その前回にイグニッションスイッチをオフするまでの間に異常があるかわからないという問題を生じる。
【0007】
本発明は、上記事情に鑑みてなされたもので、その目的は、次回にイグニッションスイッチをオンしたときにBISTを実行しなくても、その前回にイグニッションスイッチをオフするまでの間に異常があるか判定できるようにした電子制御装置を提供することにある。
【課題を解決するための手段】
【0008】
請求項1の発明は、電源監視装置による電源監視機能のハードウェアセルフテスト(以下、BIST)機能を有する電子制御装置を対象としている。請求項1記載の発明によれば、BIST実行部は、少なくとも、イグニッションスイッチのオフ状態からメインリレーがオフ状態に遷移するまでのメインリレーがオンに保持されている間と、イグニッションスイッチのオフ状態からソークタイマにより起動した時(以下、ソーク起動時)と、に診断対象回路のBISTを実行し、診断部は、BIST実行部の実行結果に基づいて正常異常診断するようにしている。
【0009】
BIST実行部は、ソーク起動時に診断対象回路のBISTを実行しているため、診断部は、次回にイグニッションスイッチをオン起動する前に事前に正常異常診断を実施できる。このため、イグニッションスイッチをオフするまでの間に異常があるか否かを判定でき、次回イグニッションスイッチをオンしたときにBISTを実行する必要がなくなり、次回の起動時の動作時間を短縮できる。
【図面の簡単な説明】
【0010】
第1実施形態に係る電子制御装置の構成を示す機能ブロック図
第1実施形態における診断動作の流れを概略的に説明するタイムチャート
第1実施形態における診断動作の流れを概略的に説明するフローチャートその1
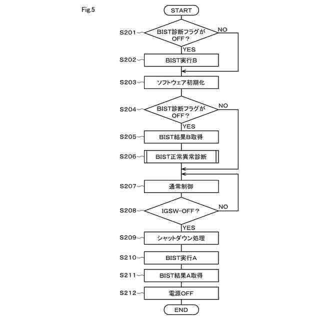
第1実施形態における診断動作の流れを概略的に説明するフローチャートその2
第1実施形態における診断動作の流れを概略的に説明するフローチャートその1
第2実施形態における診断動作の流れを概略的に説明するタイムチャート
第3実施形態における診断動作の流れを概略的に説明するタイムチャート
第3実施形態における診断動作の流れを概略的に説明するフローチャート
【発明を実施するための形態】
(【0011】以降は省略されています)
この特許をJ-PlatPat(特許庁公式サイト)で参照する
関連特許
株式会社デンソー
電子装置
5日前
株式会社デンソー
反力装置
5日前
株式会社デンソー
レーダ装置
4日前
株式会社デンソーテン
インバータ
5日前
株式会社デンソー
運航管理装置
4日前
株式会社デンソー
車載システム
5日前
株式会社デンソー
車載システム
5日前
株式会社デンソー
車両制御装置
5日前
株式会社デンソー
スイッチング電源
5日前
株式会社デンソー
セル制御システム
4日前
株式会社デンソー
フェード検知装置
5日前
株式会社デンソーウェーブ
通行管理システム
5日前
株式会社デンソー
無線通信システム
5日前
株式会社デンソー
中継装置、プログラム
5日前
株式会社デンソー
モータ部品、および、モータ
4日前
株式会社デンソー
電力変換装置及び駆動システム
4日前
株式会社デンソー
電力変換装置及び駆動システム
4日前
株式会社デンソー
電力変換装置及び駆動システム
4日前
株式会社デンソー
電力変換装置及び駆動システム
4日前
株式会社デンソー
経路推定装置および衝突判定装置
5日前
株式会社デンソー
プリント基板および電子制御装置
5日前
株式会社デンソー
プリント基板および電子制御装置
5日前
株式会社SOKEN
物体検知装置
5日前
株式会社デンソー
制御装置および駐車スペース判定方法
5日前
株式会社デンソー
電力変換モジュール及び電力変換装置
4日前
トヨタ自動車株式会社
車両制御装置
5日前
株式会社デンソー
モータ磁石、モータ部品、および、モータ
4日前
株式会社デンソーウェーブ
制御装置、特定の端末、及び、通信システム
5日前
株式会社SOKEN
3Dモデル生成用画像取得装置
4日前
株式会社デンソーテン
情報処理装置、表示装置、および情報処理プログラム
5日前
株式会社デンソーテン
車載装置、車載システム、車両及び車両用プログラム
5日前
株式会社デンソー
運転支援装置、運転支援方法および運転支援プログラム
4日前
株式会社デンソー
運転支援装置、運転支援方法および運転支援プログラム
4日前
株式会社デンソー
在庫管理プログラム、在庫管理装置および在庫管理方法
5日前
株式会社デンソー
運転支援装置、運転支援方法および運転支援プログラム
5日前
株式会社デンソー
ログ分析装置、ログ分析方法、及びログ分析プログラム
4日前
続きを見る
他の特許を見る