TOP
|
特許
|
意匠
|
商標
特許ウォッチ
Twitter
他の特許を見る
10個以上の画像は省略されています。
公開番号
2025161099
公報種別
公開特許公報(A)
公開日
2025-10-24
出願番号
2024064013
出願日
2024-04-11
発明の名称
巻線界磁ロータ
出願人
株式会社デンソー
代理人
個人
,
個人
,
個人
,
個人
,
個人
主分類
H02K
3/52 20060101AFI20251017BHJP(電力の発電,変換,配電)
要約
【課題】ロータコア及び界磁巻線に対する線材の巻き付けを適正に行わせる。
【解決手段】ロータ60は、複数の主極部62を有するロータコア61と、各主極部62に周回させた状態で設けられている界磁巻線70と、各主極部62と界磁巻線70との径方向外側に線材131が螺旋状に巻き付けられることで構成された外周被覆部102と、界磁巻線70のコイルエンドを覆うコイルエンドカバー104と、を備える。外周被覆部102及びコイルエンドカバー104は、界磁巻線70の径方向外側において軸方向に連続して設けられている。線材131は、軸方向においてロータコア61に径方向に重複する範囲で巻き付けられており、外周被覆部102の軸方向外側ではコイルエンドカバー104の外周面に沿って軸方向に引き出され、且つ径方向において外周被覆部102の外周面よりも内側となる位置でコイルエンドカバー104に固定されている。
【選択図】 図11
特許請求の範囲
【請求項1】
周方向に並ぶ磁極ごとに設けられた複数の主極部(62)を有するロータコア(61)と、
前記各主極部に周回させた状態で設けられている界磁巻線(70)と、
前記各主極部と前記界磁巻線との径方向外側に線材(131)が螺旋状に巻き付けられることで構成された外周被覆部(102)と、
前記界磁巻線において前記ロータコアよりも軸方向外側となるコイルエンドを覆うコイルエンドカバー(104)と、
を備える巻線界磁ロータ(60)であって、
前記外周被覆部及び前記コイルエンドカバーは、前記界磁巻線の径方向外側において、各々の軸方向端面が互いに対向した状態で軸方向に連続して設けられており、
前記線材は、軸方向において前記ロータコアに径方向に重複する範囲で巻き付けられており、前記外周被覆部の軸方向外側では前記コイルエンドカバーの外周面に沿って軸方向に引き出され、且つ径方向において前記外周被覆部の外周面よりも内側となる位置で前記コイルエンドカバーに固定されている、巻線界磁ロータ。
続きを表示(約 1,400 文字)
【請求項2】
前記コイルエンドカバーは、前記界磁巻線のコイルエンドに対して軸方向に対向する端板部(141)と、前記端板部の外周部から軸方向に延び、前記界磁巻線のコイルエンドを径方向外側から囲む環状部(142)と、を有し、
前記コイルエンドカバーにおいて、前記環状部の外周側には、軸方向に対して傾斜し且つ前記端板部の側でロータ軸心に近づく傾斜面(144)が形成されており、その傾斜面に沿って前記線材が軸方向に引き出されている、請求項1に記載の巻線界磁ロータ。
【請求項3】
前記コイルエンドカバーは、前記界磁巻線のコイルエンドに対して軸方向に対向する端板部(141)と、前記端板部の外周部から軸方向に延び、前記界磁巻線のコイルエンドを径方向外側から囲む環状部(142)と、を有し、
前記環状部において、前記外周被覆部に軸方向に対向する対向部には、ロータ軸心から外周までの径方向寸法の大きい大径部分(151)と、径方向寸法の小さい小径部分(152)とが周方向に交互に設けられており、
前記小径部分から前記線材が軸方向に引き出されている、請求項1に記載の巻線界磁ロータ。
【請求項4】
前記ロータコアにおいて、前記各主極部はロータ軸心から放射状に延びるように設けられ、前記界磁巻線として、前記各主極部にそれぞれ極コイル(110)が巻回されており、
前記コイルエンドカバーの前記環状部は、前記各極コイルにおけるコイルエンドの径方向外側が、前記主極部の延伸方向に対して直交する向きに延びる平坦部となっており、
前記平坦部から前記線材が軸方向に引き出されている、請求項2又は3に記載の巻線界磁ロータ。
【請求項5】
前記外周被覆部において、前記線材の両端は軸方向両側のうち同じ側に引き出され、同一の前記コイルエンドカバーに固定されている、請求項1に記載の巻線界磁ロータ。
【請求項6】
前記コイルエンドカバーは、前記界磁巻線のコイルエンドに対して軸方向に対向する端板部(141)と、前記端板部の外周部から軸方向に延び、前記界磁巻線のコイルエンドを径方向外側から囲む環状部(142)と、を有し、
前記線材は、前記コイルエンドカバーにおいて前記環状部から前記端板部にかけて引き出され、線材先端部が前記端板部に溶接により固定されており、
前記線材において、前記環状部に沿って延びる部分と前記端板部に沿って延びる部分との間の折れ曲がり角度が135°以下の角度になっている、請求項1に記載の巻線界磁ロータ。
【請求項7】
前記コイルエンドカバーは、前記界磁巻線のコイルエンドに対して軸方向に対向する端板部(141)と、前記端板部の外周部から軸方向に延び、前記界磁巻線のコイルエンドを径方向外側から囲む環状部(142)と、を有し、
前記コイルエンドカバーにおいて、前記端板部には、当該コイルエンドカバーと前記界磁巻線のコイルエンドとの間の空間に冷媒を流入させる流入口(161)が設けられ、前記環状部には、前記空間から冷媒を流出させる流出口(162)が設けられており、
前記線材は、前記コイルエンドカバーにおいて前記環状部から前記端板部にかけて引き出され、線材先端部が前記端板部に固定されている、請求項1に記載の巻線界磁ロータ。
発明の詳細な説明
【技術分野】
【0001】
この明細書における開示は、巻線界磁ロータに関する。
続きを表示(約 2,300 文字)
【背景技術】
【0002】
巻線界磁型回転電機は、ステータ巻線を有するステータと、界磁巻線を有するロータとを有する。ロータは、複数の主極部(磁気突極部)を有するロータコアを備え、主極部に巻回された状態で界磁巻線が設けられている。また、特許文献1には、ロータにおいて、界磁巻線の外周側に金属製の線材を螺旋状に巻き付けるとともに、線材の端部をエンドプレートにボルトや溶接で固定する構造が開示されている。
【先行技術文献】
【特許文献】
【0003】
特開2013-9553号公報
【発明の概要】
【発明が解決しようとする課題】
【0004】
上記特許文献1に記載の技術では、軸方向においてロータコアよりも外側にはみ出す範囲で線材が多重に巻き付けられ、その状態で線材の端部がエンドプレートに固定されている。この場合、線材の緩みが生じないようにある程度の強度を持たせて線材が巻き付けられるが、ロータコアよりも軸方向外側では、ロータコア部分とは異なり、線材の巻き付けによりエンドプレートの変形等が懸念される。なお、エンドプレートを肉厚にすることで強度増加を図る場合には、重量や冷却性の点で改善の余地が生じることが考えられる。
【0005】
本開示は、上記事情に鑑みてなされたものであり、ロータコア及び界磁巻線に対する線材の巻き付けを適正に行わせることができる巻線界磁ロータを提供することを目的とする。
【課題を解決するための手段】
【0006】
本開示は、
周方向に並ぶ磁極ごとに設けられた複数の主極部を有するロータコアと、
前記各主極部に周回させた状態で設けられている界磁巻線と、
前記各主極部と前記界磁巻線との径方向外側に線材が螺旋状に巻き付けられることで構成された外周被覆部と、
前記界磁巻線において前記ロータコアよりも軸方向外側となるコイルエンドを覆うコイルエンドカバーと、
を備える巻線界磁ロータであって、
前記外周被覆部及び前記コイルエンドカバーは、前記界磁巻線の径方向外側において、各々の軸方向端面が互いに対向した状態で軸方向に連続して設けられており、
前記線材は、軸方向において前記ロータコアに径方向に重複する範囲で巻き付けられており、前記外周被覆部の軸方向外側では前記コイルエンドカバーの外周面に沿って軸方向に引き出され、且つ径方向において前記外周被覆部の外周面よりも内側となる位置で前記コイルエンドカバーに固定されている。
【0007】
ロータにおいて、各主極部と界磁巻線とに対する線材の巻き付けにより構成された外周被覆部と、界磁巻線のコイルエンドを覆うコイルエンドカバーとが、界磁巻線の径方向外側において各々の軸方向端面が互いに対向した状態で軸方向に連続するように設けられている。この場合、線材が、軸方向においてロータコアに径方向に重複する範囲で巻き付けられているため、緩みを生じさせないように強度を持たせて線材を巻き付けても、コイルエンドカバーの変形等を生じさせないものとなっている。また、外周被覆部の軸方向外側ではコイルエンドカバーの外周面に沿って線材を軸方向に引き出し、且つ径方向において外周被覆部の外周面よりも内側となる位置でコイルエンドカバーに固定する構成としたため、線材の引き出し端部が、外周被覆部の外周面よりも径方向にはみ出すことがなく、ステータ側との干渉が抑制される。その結果、ロータコア及び界磁巻線に対する線材の巻き付けを適正に行わせることができる。
【図面の簡単な説明】
【0008】
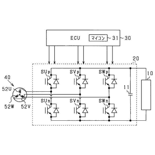
回転電機の制御システムの全体構成図。
インバータ及びその周辺構成を示す図。
ロータ及びステータの横断面図。
ロータが備える電気回路を示す図。
ロータの全体の構成を示す斜視図。
ロータにおいて外周被覆部とコイルエンドカバーとを取り外した状態を示す斜視図。
ロータの分解斜視図。
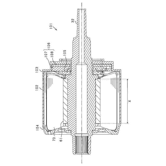
ロータの縦断面図。
ロータ主部において巻線ユニットを分解して示す斜視図。
ロータ主部の一部の断面構造を示す横断面図。
ロータの斜視図。
外周被覆部の縦断面図。
コイルエンドカバーの構成を示す斜視図。
コイルエンドカバーをカバー内側から見た平面図。
ロータにおいてコイルエンドカバーを装着した状態を示す縦断面図。
線材における曲げ頂部の応力σと折れ曲がり角度θとの関係を示す図。
ロータの一部分を示す斜視図。
【発明を実施するための形態】
【0009】
以下、本開示に係る巻線界磁型回転電機を具体化した実施形態について、図面を参照しつつ説明する。回転電機は、例えば、電気自動車やハイブリッド自動車等の電動車両において走行動力源として用いられる。
【0010】
まず、図1を用いて、回転電機を備える制御システムについて説明する。制御システムは、直流電源10、インバータ20、制御装置30及び回転電機40を備えている。回転電機40は、自励式巻線界磁型の同期機である。例えば、回転電機40、インバータ20及び制御装置30は機電一体型駆動装置として構成されていてもよいし、回転電機40、インバータ20及び制御装置30それぞれが各コンポーネントで構成されていてもよい。
(【0011】以降は省略されています)
この特許をJ-PlatPat(特許庁公式サイト)で参照する
関連特許
株式会社デンソー
分離体
18日前
株式会社デンソー
ロータ
5日前
株式会社デンソー
電動機
10日前
株式会社デンソー
電動弁
1か月前
株式会社デンソー
ロータ
5日前
株式会社デンソー
端子台
12日前
株式会社デンソー
整流回路
3日前
株式会社デンソー
電気回路
26日前
株式会社デンソー
撮像装置
1か月前
株式会社デンソー
撮像装置
1か月前
株式会社デンソー
トランス
10日前
株式会社デンソー
摺動機構
1か月前
株式会社デンソー
光学部材
18日前
株式会社デンソー
熱交換器
1か月前
株式会社デンソー
光学部材
10日前
株式会社デンソー
光学部材
18日前
株式会社デンソー
電子装置
10日前
株式会社デンソー
摺動機構
1か月前
株式会社デンソー
電解装置
1か月前
株式会社デンソー
回転電機
3日前
株式会社デンソー
制御装置
1か月前
株式会社デンソー
電子装置
1か月前
株式会社デンソー
センサ装置
1か月前
株式会社デンソー
熱交換部材
1か月前
株式会社デンソー
音低減装置
3日前
株式会社デンソーエレクトロニクス
電磁継電器
4日前
株式会社デンソー
電磁継電器
10日前
株式会社デンソー
レーダ装置
4日前
株式会社デンソー
センサ装置
1か月前
株式会社デンソー
半導体装置
1か月前
株式会社デンソー
半導体装置
1か月前
株式会社デンソー
半導体装置
18日前
株式会社デンソー
ヒータ装置
1か月前
株式会社デンソー
電子制御装置
3日前
株式会社デンソー
電力変換装置
10日前
株式会社デンソー
電気化学セル
1か月前
続きを見る
他の特許を見る