TOP
|
特許
|
意匠
|
商標
特許ウォッチ
Twitter
他の特許を見る
10個以上の画像は省略されています。
公開番号
2025156743
公報種別
公開特許公報(A)
公開日
2025-10-15
出願番号
2024059349
出願日
2024-04-02
発明の名称
巻線界磁ロータ
出願人
株式会社デンソー
代理人
個人
,
個人
,
個人
,
個人
,
個人
主分類
H02K
3/52 20060101AFI20251007BHJP(電力の発電,変換,配電)
要約
【課題】各磁極の巻線間においてスペーサを好適に介在させる。
【解決手段】ロータにおいて、界磁巻線70は、各主極部62に巻回された複数の巻線ユニット110を有している。巻線ユニット110は、径方向内外に隣り合う第1コイルモジュール111と第2コイルモジュール112とを有している。周方向に隣り合う巻線ユニット110の間には絶縁性のスペーサ140が設けられている。スペーサ140は、周方向において第1コイルモジュール111間となる外側部分141と、周方向において第2コイルモジュール112間となる内側部分142とを有し、径方向において各コイルモジュール111,112の境界位置に、周方向の幅寸法が狭められたくびれ部143が設けられている。スペーサ140において軸方向両端のうち少なくとも一方の軸方向端部は、軸方向に直交する向きの横断面が先端側ほど小さくなる先細り形状となっている。
【選択図】 図13
特許請求の範囲
【請求項1】
磁極ごとに設けられた複数の主極部(62)を有するロータコア(61)と、
前記各主極部に対して、導線材が径方向及び周方向に多重に巻回されてなる界磁巻線(70)と、を備える巻線界磁ロータ(60)であって、
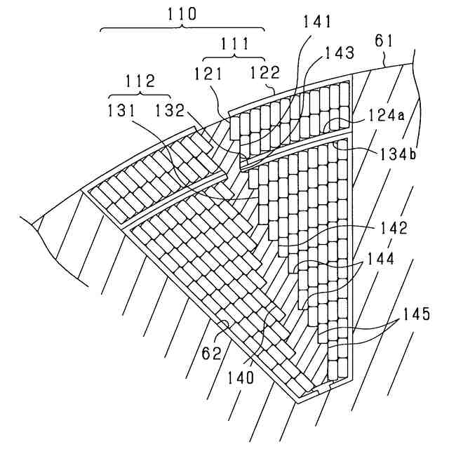
前記界磁巻線は、磁極ごとに前記主極部に巻回された複数の極コイル(110)を有し、
各磁極の前記極コイルは、径方向内外に隣り合う外側コイル(111)及び内側コイル(112)を有しており、
周方向に隣り合う前記極コイルどうしの間に、径方向に前記外側コイル及び前記内側コイルに跨がり且つ前記外側コイル及び前記内側コイルに接触した状態で絶縁性のスペーサ(140)が設けられており、
前記スペーサは、周方向において各磁極の前記外側コイルの間に挟まれる部位である外側部分(141)と、周方向において各磁極の前記内側コイルの間に挟まれる部位である内側部分(142)とを有し、径方向において前記外側コイルと前記内側コイルとの境界位置に、周方向の幅寸法が狭められたくびれ部(143)が設けられており、
前記スペーサにおいて軸方向両端のうち少なくとも一方の軸方向端部は、軸方向に直交する向きの横断面が先端側ほど小さくなる先細り形状となっている、巻線界磁ロータ。
続きを表示(約 1,400 文字)
【請求項2】
前記界磁巻線では、径方向外側において径方向内側に比べて導線材の巻き数が多く、前記界磁巻線のコイルエンドは、径方向外側において径方向内側に比べて前記ロータコアからのコイルエンド高さが高くなっており、
前記スペーサは、前記ロータコアに径方向に重複する部分と前記ロータコアから軸方向にはみ出る部分とを有し、当該スペーサにおいて前記ロータコアからはみ出る部分は、前記ロータコアの軸方向端面からの高さが径方向外側では高く、径方向内側では低い、請求項1に記載の巻線界磁ロータ。
【請求項3】
前記界磁巻線では、径方向外側において径方向内側に比べて導線材の巻き数が多く、前記界磁巻線のコイルエンドは、径方向外側において径方向内側に比べて前記ロータコアからのコイルエンド高さが高くなっており、
前記スペーサは、前記ロータコアに径方向に重複する部分と前記ロータコアから軸方向にはみ出る部分とを有し、当該スペーサにおいて前記ロータコアからはみ出る部分は、前記ロータコアの軸方向端面からの高さが、径方向の中間点で最も高く、その径方向両側では徐々に低くなっている、請求項1に記載の巻線界磁ロータ。
【請求項4】
前記主極部ごとに設けられ、前記外側コイルと前記内側コイルとの間において、周方向に延び前記外側コイル及び前記内側コイルを相互に絶縁する絶縁部材(124a,134b)を備え、
各磁極の前記絶縁部材において、周方向において前記主極部とは逆側の先端部が、前記極コイルの導線材よりも周方向に突出し、且つ前記スペーサの前記くびれ部に入っている、請求項1~3のいずれか1項に記載の巻線界磁ロータ。
【請求項5】
前記スペーサにおいて、前記くびれ部は、前記絶縁部材の周方向先端部に接触していない、請求項4に記載の巻線界磁ロータ。
【請求項6】
前記外側コイル及び前記内側コイルではそれぞれ、径方向外側において径方向内側に比べて導線材の巻き数が多く、当該外側コイル及び内側コイルの周方向の側面であるコイル側面が径方向で段差状となっており、
前記スペーサは、前記外側部分及び前記内側部分に、段差状の前記コイル側面に対して径方向内側から対向する第1対向部(144)と径方向外側から対向する第2対向部(144)とをそれぞれ有している、請求項1~3のいずれか1項に記載の巻線界磁ロータ。
【請求項7】
前記外側コイル及び前記内側コイルは、径方向の厚さ寸法が互いに異なっており、
前記スペーサにおいて、周方向に隣り合う前記極コイルどうしの間に当該スペーサが軸方向から挿入される場合に挿入先端側となる軸方向端部は、前記外側コイル及び前記内側コイルのうち径方向の厚さ寸法が小さい側の径方向端部が先細り先端となる形状を有している、請求項1~3のいずれか1項に記載の巻線界磁ロータ。
【請求項8】
前記スペーサは、軸方向に分割された2つのスペーサ片(151,152)からなり、
前記各スペーサ片は、各々の軸方向中央側となる軸方向端部が、軸方向に直交する向きの横断面が先端側ほど小さくなる先細り形状となっている、請求項1~3のいずれか1項に記載の巻線界磁ロータ。
【請求項9】
前記各スペーサ片において、各々の軸方向中央側となる軸方向端部は、接合材により互いに接合され、且つ前記極コイルに接合されている、請求項8に記載の巻線界磁ロータ。
発明の詳細な説明
【技術分野】
【0001】
この明細書における開示は、巻線界磁ロータに関する。
続きを表示(約 2,600 文字)
【背景技術】
【0002】
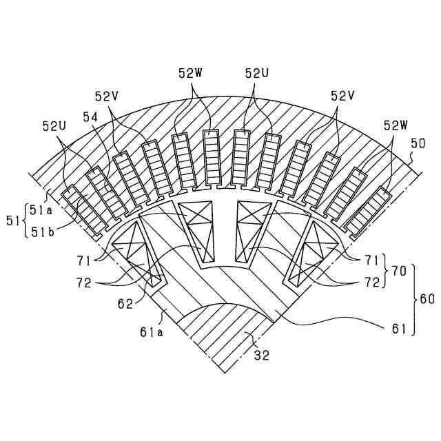
巻線界磁型回転電機において、ロータは、周方向に並ぶ複数の主極部(磁気突極部)を有するロータコアと、主極部に巻回された界磁巻線とを有する。また、ロータにおいて、周方向に隣り合う各磁極の界磁巻線の間にスペーサを介在させる技術が提案されている。例えば特許文献1には、各主極部において、径方向外側と径方向内側とで周方向の幅寸法の異なる巻線構造が記載されている。また、この巻線構造において、各磁極の巻線の間に設けられるスペーサとして、周方向の幅寸法を径方向で相違させた構成が記載されている。この構成のスペーサによれば、各磁極の巻線について周方向及び径方向の位置固定が可能となる。
【先行技術文献】
【特許文献】
【0003】
国際公開第2021/094018号
【発明の概要】
【発明が解決しようとする課題】
【0004】
上記構成のスペーサでは、径方向において少なくとも一部が周方向の幅寸法の小さいくびれ部となっている。この場合、ロータの製造時には、各磁極の巻線間の隙間に対して、スペーサが軸方向の圧入により組み付けられることが考えられる。ただし、スペーサにくびれ部が設けられている場合、くびれ部に応力が集中することに起因するスペーサの欠損の懸念が生じる。
【0005】
本開示は、上記事情に鑑みてなされたものであり、各磁極の巻線間においてスペーサを好適に介在させることができる巻線界磁ロータを提供することを目的とする。
【課題を解決するための手段】
【0006】
本開示は、
磁極ごとに設けられた複数の主極部を有するロータコアと、
前記各主極部に対して、導線材が径方向及び周方向に多重に巻回されてなる界磁巻線と、を備える巻線界磁ロータであって、
前記界磁巻線は、磁極ごとに前記主極部に巻回された複数の極コイルを有し、
各磁極の前記極コイルは、径方向内外に隣り合う外側コイル及び内側コイルを有しており、
周方向に隣り合う前記極コイルどうしの間に、径方向に前記外側コイル及び前記内側コイルに跨がり且つ前記外側コイル及び前記内側コイルに接触した状態で絶縁性のスペーサが設けられており、
前記スペーサは、周方向において各磁極の前記外側コイルの間に挟まれる部位である外側部分と、周方向において各磁極の前記内側コイルの間に挟まれる部位である内側部分とを有し、径方向において前記外側コイルと前記内側コイルとの境界位置に、周方向の幅寸法が狭められたくびれ部が設けられており、
前記スペーサにおいて軸方向両端のうち少なくとも一方の軸方向端部は、軸方向に直交する向きの横断面が先端側ほど小さくなる先細り形状となっている。
【0007】
上記構成の巻線界磁ロータでは、界磁巻線において磁極ごとに設けられた極コイルの間に絶縁性のスペーサが設けられている。より具体的には、スペーサは、周方向に隣り合う極コイルどうしの間において、径方向に外側コイル及び内側コイルに跨がるように設けられている。また、スペーサは、各磁極の外側コイルの間に挟まれる部位である外側部分と、各磁極の内側コイルの間に挟まれる部位である内側部分とを有し、径方向において外側コイルと内側コイルとの境界位置に、周方向の幅寸法が狭められたくびれ部が設けられている。この場合、界磁巻線では、極コイル間のスペーサによって外側コイルと内側コイルとが熱的に接続されているが、スペーサに設けられたくびれ部によって、径方向における熱の伝達が抑制される。
【0008】
また、スペーサのくびれ部によれば、径方向内外の各コイルにおける熱伝達抑制が可能になる反面、極コイルどうしの間に外側コイル及び内側コイルに接触した状態でスペーサが設けられた構成では、極コイル間に軸方向からスペーサを挿入する際においてくびれ部におけるスペーサの欠損が懸念される。この点、スペーサにおいて軸方向両端のうち少なくとも一方の軸方向端部を、軸方向に直交する向きの横断面が先端側ほど小さくなる先細り形状とすることで、極コイル間へのスペーサ挿入時の応力が軽減され、くびれ部でのスペーサの欠損を抑制できる。その結果、ロータにおいて各磁極の巻線間にスペーサを好適に介在させることができる。
【図面の簡単な説明】
【0009】
回転電機の制御システムの全体構成図。
インバータ及びその周辺構成を示す図。
ロータ及びステータの横断面図。
ロータが備える電気回路を示す図。
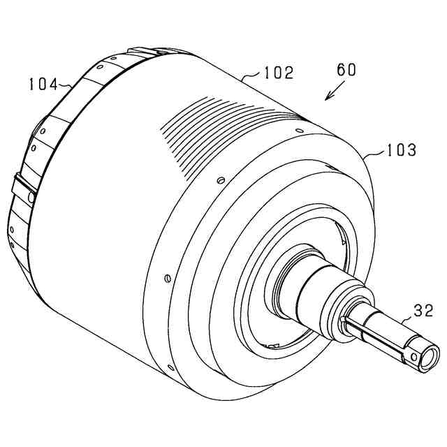
ロータの全体の構成を示す斜視図。
ロータにおいて被覆部とコイルエンドカバーを取り外した状態を示す斜視図。
ロータの分解斜視図。
ロータの縦断面図。
ロータ主部において巻線ユニットを分解して示す斜視図。
ロータ主部の一部の断面構造を示す横断面図。
ロータ主部の一部の断面構造を示す横断面図。
コイルモジュールにおいて導線材の具体的な巻回構造を示す図。
巻線ユニット間にスペーサが組み付けられた状態を示す横断面図。
スペーサの横断面図。
スペーサの斜視図。
巻線ユニット間にスペーサが組み付けられた状態を示す横断面図。
スペーサの先端部分を拡大して示す正面図。
巻線ユニット間にスペーサが組み付けられる状態を示す概略図。
巻線ユニット間にスペーサが組み付けられた状態を示す横断面図。
巻線ユニット間にスペーサが組み付けられた状態を示す概略図。
巻線ユニット間にスペーサが組み付けられた状態を示す概略図。
巻線ユニット間にスペーサが組み付けられた状態を示す概略図。
巻線ユニット間にスペーサが組み付けられた状態を示す概略図。
巻線ユニット間にスペーサが組み付けられた状態を示す概略図。
【発明を実施するための形態】
【0010】
以下、本開示に係る巻線界磁型回転電機を具体化した実施形態について、図面を参照しつつ説明する。回転電機は、例えば、電気自動車やハイブリッド自動車等の電動車両において走行動力源として用いられる。
(【0011】以降は省略されています)
この特許をJ-PlatPat(特許庁公式サイト)で参照する
関連特許
株式会社デンソー
車載器
12日前
株式会社デンソー
ステータ
12日前
株式会社デンソー
ねじ部材
12日前
株式会社デンソー
反力装置
6日前
株式会社デンソー
電子装置
6日前
株式会社デンソー
電子装置
7日前
株式会社デンソー
ステータ
12日前
株式会社デンソー
半導体装置
12日前
株式会社デンソーテン
インバータ
6日前
株式会社デンソー
農業用装置
8日前
株式会社デンソー
レーダ装置
5日前
株式会社デンソーエアクール
換気空調装置
13日前
株式会社デンソー
電力変換装置
12日前
株式会社デンソー
電力変換装置
8日前
株式会社デンソー
電圧検出回路
8日前
株式会社デンソー
運航管理装置
5日前
株式会社デンソー
車載システム
6日前
株式会社デンソー
衝突予測装置
7日前
株式会社デンソー
運転支援装置
7日前
株式会社デンソー
衝突予測装置
7日前
株式会社デンソー
車両制御装置
6日前
株式会社デンソーテン
車載映像装置
12日前
株式会社デンソー
電子制御装置
12日前
株式会社デンソー
電力変換装置
今日
株式会社デンソー
車載システム
6日前
株式会社デンソー
はんだ付け装置
今日
株式会社デンソー
移動体制御装置
13日前
株式会社デンソー
巻線界磁ロータ
今日
株式会社デンソー
圧着ヘッド装置
12日前
株式会社デンソー
スイッチング電源
6日前
株式会社デンソーウェーブ
光学読取システム
13日前
株式会社デンソー
フェード検知装置
6日前
株式会社デンソー
無線通信システム
6日前
株式会社デンソー
自己位置推定装置
12日前
株式会社デンソーウェーブ
通行管理システム
6日前
株式会社デンソー
セル制御システム
5日前
続きを見る
他の特許を見る