TOP
|
特許
|
意匠
|
商標
特許ウォッチ
Twitter
他の特許を見る
10個以上の画像は省略されています。
公開番号
2025152048
公報種別
公開特許公報(A)
公開日
2025-10-09
出願番号
2024053756
出願日
2024-03-28
発明の名称
通行管理システム
出願人
株式会社デンソーウェーブ
,
セコム株式会社
代理人
弁理士法人サトー
主分類
G06F
21/35 20130101AFI20251002BHJP(計算;計数)
要約
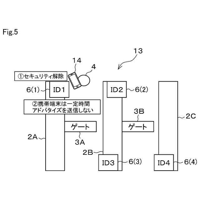
【課題】認証端末が、未認証の携帯端末との通信を確実に行うことが可能になるセキュリティシステムを提供する。
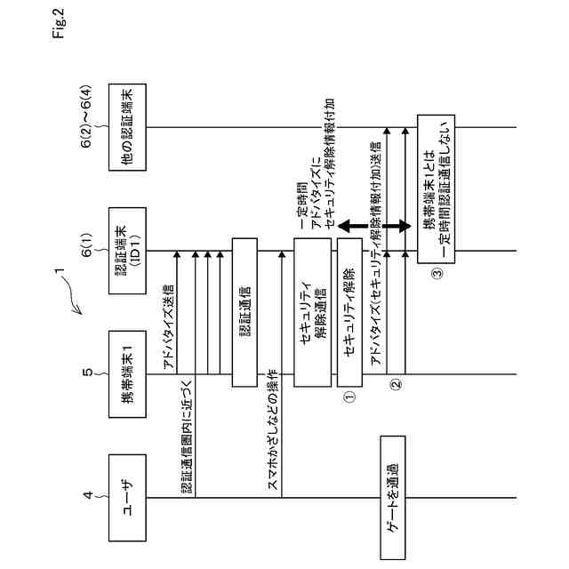
【解決手段】セキュリティゲートシステム1において、認証端末6(1)~6(4)は、社員4が所持している携帯端末5と無線により認証通信を行い、その認証通信の結果に応じてセキュリティを解除するか否か、つまりゲート3を開くか否かを決定する。携帯端末5は、認証端末6(1)によってセキュリティが解除されると、一定時間の間、セキュリティ解除情報をアドバタイズに付加して認証端末6(1)~6(4)に送信する。セキュリティ解除情報を受信した認証端末6(1)~6(4)は、受信したアドバタイズにセキュリティ解除情報が付加されていた場合、そのアドバタイズを送信した携帯端末5との認証通信を禁止する。
【選択図】図2
特許請求の範囲
【請求項1】
ユーザが所持し、無線通信機能を有している携帯端末と、
この携帯端末と無線により認証通信を行い、その認証通信の結果に応じて通行規制を解除するか否かを決定する複数の認証端末と、を備え、
前記複数の認証端末は、相互に通信が可能であり、
前記認証端末は、前記携帯端末を認証して通行規制を解除すると、前記携帯端末が通行規制解除済みであることを示す通行規制解除情報をその他の認証端末と共有し、
前記その他の認証端末は、取得した前記通行規制解除情報に基づいて前記携帯端末の認証を一定時間だけ禁止する通行管理システム。
続きを表示(約 2,200 文字)
【請求項2】
前記認証端末は、複数の前記携帯端末と認証通信を行い、
前記通行規制解除情報を取得した認証端末は、前記複数の携帯端末のうち、通行規制解除済みの前記携帯端末の認証は一定時間だけ禁止し、通行規制解除済みでない前記携帯端末の認証は許容する請求項1に記載の通行管理システム。
【請求項3】
前記認証端末は、前記認証通信により前記携帯端末を事前認証すると共に当該携帯端末の情報を記憶し、前記事前認証済みの携帯端末からの解除要求に対して通行規制を解除するように構成されており、
前記その他の認証端末は、取得した前記通行規制解除情報に基づき、記憶している前記事前認証済み携帯端末の情報のうち、通行規制解除済み携帯端末の情報を削除する請求項1又は2記載の通行管理システム。
【請求項4】
前記複数の認証端末は、通行規制を解除する対象に応じて複数のグループに分別されており、
前記携帯端末を認証し、通行規制解除を行った認証端末は、自身が属するグループの種別を付して前記通行規制解除情報を送信し、
前記通行規制解除情報を受信した前記認証端末のうち、前記種別と同じグループに属する認証端末は前記携帯端末の認証を一定時間だけ禁止し、前記種別とは異なる種別のグループに属する認証端末は、前記携帯端末の認証を許容する請求項1又は2記載の通行管理システム。
【請求項5】
ユーザが所持し、無線通信機能を有している携帯端末と、
この携帯端末と無線により認証通信を行い、その認証通信の結果に応じて通行規制を解除するか否かを決定する複数の認証端末と、
前記複数の認証端末と通信が可能である管理装置と、を備え、
前記管理装置は、前記認証端末が、前記携帯端末を認証して通行規制を解除したことを示す通行規制解除情報を取得して記憶すると共に前記複数の認証端末に対して共有し、
前記認証端末は、前記管理装置から取得した前記通行規制解除情報に基づき前記携帯端末との認証を一定時間だけ禁止する通行管理システム。
【請求項6】
ユーザが所持し、無線通信機能を有している携帯端末と、
この携帯端末と無線により認証通信を行い、その認証通信の結果に応じて通行規制を解除するか否かを決定する複数の認証端末と、を備え、
前記複数の認証端末は、相互に通信が可能であり、
前記認証通信により前記携帯端末を事前認証すると共に当該携帯端末の情報を記憶し、前記事前認証済みの携帯端末からの解除要求に対して通行規制を解除し、
前記携帯端末と最初に前記事前認証を行った認証端末は、前記携帯端末を認証すると、当該携帯端末からの前記解除要求の前に認証が完了したことを示す事前認証完了情報を、その他の認証端末に対して送信し、
前記事前認証完了情報を受信した認証端末は、当該情報を記憶部に記憶させて保持し、前記携帯端末の認証を禁止する通行管理システム。
【請求項7】
前記事前認証完了情報を前記記憶部に記憶させた認証端末は、一定時間が経過すると、前記情報を前記記憶部より削除して、前記携帯端末との認証通信を許可する請求項6記載の通行管理システム。
【請求項8】
ユーザが所持し、無線通信機能を有している携帯端末と、
この携帯端末と無線により認証通信を行い、その認証通信の結果に応じて通行規制を解除するか否かを決定する複数の認証端末と、
前記複数の認証端末と通信が可能である管理装置と、を備え、
前記認証端末は、前記認証通信により前記携帯端末を事前認証すると共に当該携帯端末の情報を記憶し、前記事前認証済みの携帯端末からの解除要求に対して通行規制を解除し、
前記管理装置は、前記認証端末が前記携帯端末を事前認証したことを示す事前認証完了情報を取得して記憶すると共に前記複数の認証端末に対して共有し、
前記認証端末は、前記管理装置から取得した事前認証完了情報に基づき前記携帯端末との認証を禁止する通行管理システム。
【請求項9】
ユーザが所持し、無線通信機能を有している携帯端末と、
この携帯端末と無線により認証通信を行い、その認証通信の結果に応じて通行規制を解除するか否かを決定する複数の認証端末と、を備え、
前記携帯端末は、認証端末により認証されて通行規制が解除されると、一定時間の間、少なくとも当該認証端末以外のその他の認証端末に対して通行規制解除情報を送信し、
前記その他の認証端末は、受信した前記通行規制解除情報に基づき、前記携帯端末の認証を禁止する通行管理システム。
【請求項10】
前記複数の認証端末は、通行規制を解除する対象に応じて複数のグループに分別されており、
前記携帯端末は、自身が通行規制を解除した前記認証端末が属するグループの種別を付して、前記通行規制解除情報を前記認証端末に送信し、
前記認証端末は、受信した通行規制解除情報に付されているグループの種別が自身の属するグループと異なる場合、前記携帯端末の認証を許容する請求項9記載の通行管理システム。
(【請求項11】以降は省略されています)
発明の詳細な説明
【技術分野】
【0001】
本発明は、認証端末と携帯端末との間で通信を行ない、認証の結果に応じて通行規制を解除するか否かを決定するシステムに関する。
続きを表示(約 2,000 文字)
【背景技術】
【0002】
例えば、会社員が会社に出入りする際に、会社の出入口にゲートを設けて会社員の本人認証を行い、認証されればゲートを開くといったセキュリティシステムがある。近年は例えば特許文献1に開示されているように、社員が所持するスマートフォン;スマホ等の携帯端末を認証に利用し、認証端末との間で通信させることも行われている。
【先行技術文献】
【特許文献】
【0003】
特開2015-162069号公報
【発明の概要】
【発明が解決しようとする課題】
【0004】
携帯端末がICカードの場合、認証端末との通信距離は短く、1対1での通信を想定すれば良い。一方、携帯端末がスマホの場合は、認証端末との無線通信で認証を行うと、一般には認証に1s~2s程度の時間を要する。このため、両者の通信を開始できる領域を拡げることで認証のための通信をより早く開始し、セキュリティを解除してゲートを開くまでの時間を短くする必要がある。その結果、携帯端末と認証端末との通信は、1対複数や、複数対複数にならざるを得ない。
【0005】
上述したように、携帯端末と認証端末との通信領域を拡げると、認証端末は、未認証の携帯端末とは異なる携帯端末、例えば他の認証端末が既に認証した携帯端末と通信する可能性があり、未認証の携帯端末との通信が阻害されるおそれがある。また、複数の認証端末が比較的狭い領域に配置されていると、携帯端末は、最初に認証通信を行なった第1認証端末以外の第2認証端末と、不要な認証通信を行なう可能性がある。すると、別のユーザが所持している携帯端末が第2認証端末に近付いて認証通信を行おうとした際に、その認証通信が阻害されてしまう。
【0006】
本発明は、上記実情に鑑みてなされたものであり、その目的は、認証端末が、未認証の携帯端末との通信を確実に行うことが可能になる通行管理システムを提供することにある。
【課題を解決するための手段】
【0007】
請求項1記載の通行管理システムによれば、複数の認証端末は、相互に通信が可能であると共に、ユーザが所持している携帯端末と無線により認証通信を行い、その認証通信の結果に応じて通行規制を解除するか否かを決定する。そして、認証端末は、携帯端末を認証して通行規制を解除すると、その携帯端末が通行規制解除済みであることを示す通行規制解除情報を、その他の認証端末と共有する。その他の認証端末は、取得した通行規制解除情報に基づいて携帯端末の認証を一定時間だけ禁止する。このように構成すれば、その他の認証端末は、通行規制解除済みとなっている携帯端末に対して不要な認証を再度行うことを回避でき、通行解除済みでない携帯端末との認証を行うことができる。
【0008】
請求項2記載の通行管理システムによれば、認証端末は、複数の携帯端末と認証通信を行う。通行規制解除情報を取得した認証端末は、複数の携帯端末のうち、通行規制解除済みの携帯端末の認証は一定時間だけ禁止し、通行規制解除済みでない携帯端末の認証は許容する。これにより、前記認証端末は、通行規制解除済みでない携帯端末の認証を確実に行うことができる。
【0009】
請求項3記載の通行管理システムによれば、認証端末は、認証通信により携帯端末を事前認証すると共に当該携帯端末の情報を記憶し、事前認証済みの携帯端末からの解除要求に対して通行規制を解除する。その他の認証端末は、取得した通行規制解除情報に基づき、記憶している事前認証済み携帯端末の情報のうち、通行規制解除済み携帯端末の情報を削除する。これにより、その他の認証端末は、不要な認証通信によって既に保持していた事前認証済み携帯端末の情報を削除して、前記携帯端末との認証通信を適正な手順で行うことができる。
【0010】
請求項4記載の通行管理システムによれば、複数の認証端末は、通行規制を解除する対象に応じて複数のグループに分別されている。携帯端末を認証し、通行規制解除を行った認証端末は、自身が属するグループの種別を付して通行規制解除情報を送信する。当該情報を受信した認証端末のうち、前記種別と同じグループに属する認証端末は携帯端末の認証を一定時間だけ禁止し、前記種別とは異なる種別のグループに属する認証端末は、携帯端末の認証を許容する。このように構成すれば、同じグループに属する認証端末は他の携帯端末との通信が妨げられることを防ぎつつ、他のグループに属する認証端末は通行規制解除された携帯端末との通信を行うことができ、通行許可までの待機時間を短くできる。
(【0011】以降は省略されています)
この特許をJ-PlatPat(特許庁公式サイト)で参照する
関連特許
個人
QRコードの彩色
1日前
個人
地球保全システム
10日前
個人
為替ポイント伊達夢貯
1か月前
個人
冷凍食品輸出支援構造
1か月前
個人
残土処理システム
3日前
個人
表変換編集支援システム
1か月前
個人
知財出願支援AIシステム
1か月前
個人
知的財産出願支援システム
4日前
個人
行動時間管理システム
1か月前
個人
パスワード管理支援システム
1か月前
個人
AIによる情報の売買の仲介
1か月前
個人
海外支援型農作物活用システム
22日前
株式会社キーエンス
受発注システム
9日前
個人
食品レシピ生成システム
9日前
日本精機株式会社
施工管理システム
1か月前
個人
AIキャラクター制御システム
1か月前
株式会社キーエンス
受発注システム
9日前
株式会社キーエンス
受発注システム
9日前
個人
システム及びプログラム
23日前
個人
パスポートレス入出国システム
1か月前
株式会社アジラ
進入判定装置
1か月前
個人
食事受注会計処理システム
1か月前
個人
社会還元・施設向け供給支援構造
1か月前
個人
音声・通知・再配達UX制御構造
4日前
個人
人格進化型対話応答制御システム
1か月前
個人
冷凍加工連携型農場運用システム
1か月前
個人
未来型家系図構築システム
22日前
個人
帳票自動生成型SaaSシステム
4日前
個人
SaaS型勤務調整支援システム
1か月前
キヤノン株式会社
表示システム
9日前
大同特殊鋼株式会社
疵判定方法
16日前
個人
音声対話型帳票生成支援システム
1か月前
サクサ株式会社
中継装置
1か月前
大同特殊鋼株式会社
棒材計数方法
2日前
株式会社カネカ
製造工場の管理システム
4日前
フリー株式会社
情報処理システム
16日前
続きを見る
他の特許を見る