TOP
|
特許
|
意匠
|
商標
特許ウォッチ
Twitter
他の特許を見る
公開番号
2025145284
公報種別
公開特許公報(A)
公開日
2025-10-03
出願番号
2024045381
出願日
2024-03-21
発明の名称
圧着ヘッド装置
出願人
株式会社デンソー
代理人
弁理士法人服部国際特許事務所
主分類
H01L
21/52 20060101AFI20250926BHJP(基本的電気素子)
要約
【課題】 衝撃荷重を低減し、衝撃を緩和する圧着ヘッド装置を提供する。
【解決手段】 圧着ヘッド装置1は、ワーク50を載置可能な基台20と、ワークに対し被接合体59を前記ワーク方向に圧着及び離間可能な圧着ヘッド本体6と、圧着ヘッド本体6に軸方向に接続されるロッド9と、圧着ヘッド本体6の軸方向の衝撃を緩和可能な第1衝撃吸収摺動部に相当するエアベアリング17、18と、ロッド9に対し軸方向の衝撃を緩和可能な第2衝撃吸収摺動部に相当するエアペルシリンダ27、28とを備える。圧着ヘッド本体6の軸方向の駆動は、Z軸回転モータ2の駆動力が、ボールねじスプライン44、高剛性プレート15及びロッド9を経由して圧着ヘッド本体6に伝達される。圧着ヘッド本体6と一体に軸方向に往復動する質量を小さくし、高精度に高速化することができる。
【選択図】図5
特許請求の範囲
【請求項1】
ワークを載置可能な基台(20)と、
ワークに対し被接合体を前記ワーク方向に圧着及び離間可能な圧着ヘッド本体(6)と、
前記圧着ヘッド本体に軸方向に接続されるロッド(9)と、
前記圧着ヘッド本体の軸方向の衝撃を緩和可能な第1衝撃吸収摺動部(17、18)と、
前記ロッドに対し軸方向の衝撃を緩和可能な第2衝撃吸収摺動部(27、28)と、
前記ロッドを軸方向に往復移動可能に駆動する駆動部(2)と、を備えた圧着ヘッド装置。
続きを表示(約 550 文字)
【請求項2】
前記ロッドの反前記圧着ヘッド本体側に連結されるプレート(15)と、
前記プレートに設けられる前記第2衝撃吸収摺動部とを備える請求項1記載の圧着ヘッド装置。
【請求項3】
前記第2衝撃吸収摺動部は、低摩擦シリンダである請求項1又は2記載の圧着ヘッド装置。
【請求項4】
前記第2衝撃吸収摺動部は、カムフォロア(30)を経由して前記プレートに設けられる請求項2記載の圧着ヘッド装置。
【請求項5】
前記第1衝撃吸収摺動部は、低摩擦軸受である請求項1記載の圧着ヘッド装置。
【請求項6】
前記ロッドの軸線を中心軸として前記ロッドを正逆転可能に駆動するθ軸回転モータ(10)を備えた請求項1記載の圧着ヘッド装置。
【請求項7】
ピッチ方向に傾斜角を調整する平行度調整機構(7、8)を備えた請求項1又は2記載の圧着ヘッド装置。
【請求項8】
ロール方向に傾斜角を調整する楔機構(41、45、46)を備えた請求項1又は2記載の圧着ヘッド装置。
【請求項9】
前記圧着ヘッド本体は、先端に被接合体を吸引するエア通気孔(55)を有する請求項1記載の圧着ヘッド装置。
発明の詳細な説明
【技術分野】
【0001】
対象物に被接合体を接合する圧着ヘッド装置に関する。
続きを表示(約 1,900 文字)
【背景技術】
【0002】
ECU基板製品、センサー、半導体等の電子部品において、製造時に基板に部品を実装する工程で圧着により基板に部品を実装する手段が知られている。この圧着により部品を実装する手段は、圧着ヘッドによって吸着された素子等の被接合体(部品)を、熱又は圧力あるいは熱と圧力の両方をかけながら、圧着用接合材を介して基板に圧着することで、基板に被接合体を接合する。
【0003】
特許文献1に示す電子部品圧着装置は、圧着ツールに保持された部品を、第1荷重範囲で圧着する第1加圧手段と、前記第1加圧手段を同軸方向に移動させ、圧着ツールに保持された部品を、第1荷重範囲より高荷重の第2荷重範囲で圧着する第2加圧手段と、前記第1加圧手段による圧着時には、第2加圧手段により第1加圧手段を当接させ、第1加圧手段の第2加圧手段に対する相対移動を規制する第1規制手段と、前記第2加圧手段による圧着時には、圧着ツールの1加圧手段に対する相対移動を規制する第2規制手段と、を備えており、前記第1加圧手段及び第2加圧手段により圧着ツールに保持された部品を圧着する際の荷重を、それぞれ検出する第1荷重検出手段及び第2荷重検出手段が設置されていると共に、前記第1加圧手段はエアベアリングが内蔵されたエアシリンダで、前記第2加圧手段はボイスコイルモータであり、前記第1荷重検出手段は、前記エアシリンダとエア供給源との間に空圧ホースを介して設けられた荷重検出機能を有する電空レギュレータであることを開示している。
【先行技術文献】
【特許文献】
【0004】
特開2006-147702号公報
【発明の概要】
【発明が解決しようとする課題】
【0005】
従来の圧着ヘッド装置は、メインストロークさせるZ軸と実装アライメントを調整するθ軸以外をもたない構成であり、対象物に被接合体を圧着する際の圧着ヘッドを被接合体に加圧するとき、対象物と被接合体に衝撃力が加わることを回避することは困難であった。
しかし、被接合体の圧着時に過大な衝撃力が作用すると、被接合体の割れ等の不具合が発生する。一般に、圧着ヘッドのヘッド本体は大きな質量を有する一つの剛体であるため、衝撃荷重を低減させるためには対象物に被接合体を接近させるとき、対象物への被接合体の相対速度を低速にする必要があった。このため、対象物に被接合体を接合する工程において、加工プロセス時間が延長されてしまい、生産性が低下するという問題があった。
【0006】
一般に、対象物に被接合体を実装する工程において、生産性を向上するためには、対象物に被接合体を接合するのに要する時間をいかに短期にするかが工程の課題である。生産設備1台の生産性が向上しないと、設備台数を増やすほかに取るべき手段がなく、設備投資の増大につながってしまう。
【0007】
本発明は、上述に鑑みてなされたものであり、その目的は、ワークに被接合体を短時間で接合可能な圧着ヘッド装置を提供することにある。
【課題を解決するための手段】
【0008】
本発明の圧着ヘッド装置は、ワークを載置可能な基台(20)と、ワークに対し被接合体を前記ワーク方向に圧着及び離間可能な圧着ヘッド本体(6)と、前記圧着ヘッド本体に軸方向に接続されるロッド(9)と、前記圧着ヘッド本体の軸方向の衝撃を緩和可能な第1衝撃吸収摺動部(17、18)と、前記ロッドに対し軸方向の衝撃を緩和可能な第2衝撃吸収摺動部(27、28)と、前記ロッドを軸方向に往復移動可能に駆動する駆動部(2)と、を備えた、を備えた構成を採用する。
【0009】
本発明によると、衝撃荷重F=mv/Δt(質量*速度/衝突時間)の関係から、速度vを可能な限り引上げるため、質量mを最小化することで衝撃荷重を抑える構成を採用する。
具体的には圧着ヘッドを2分割構成(構成Aと構成B)とし、実質的に衝撃荷重が載る構成Aの質量mを最小化し、実質的に衝撃荷重が載らない構成Bに対して構成Aが被接合物との接触時にZ軸方向に相対的に摺動(移動)するようにする。
【0010】
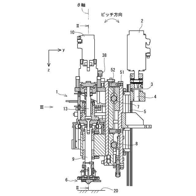
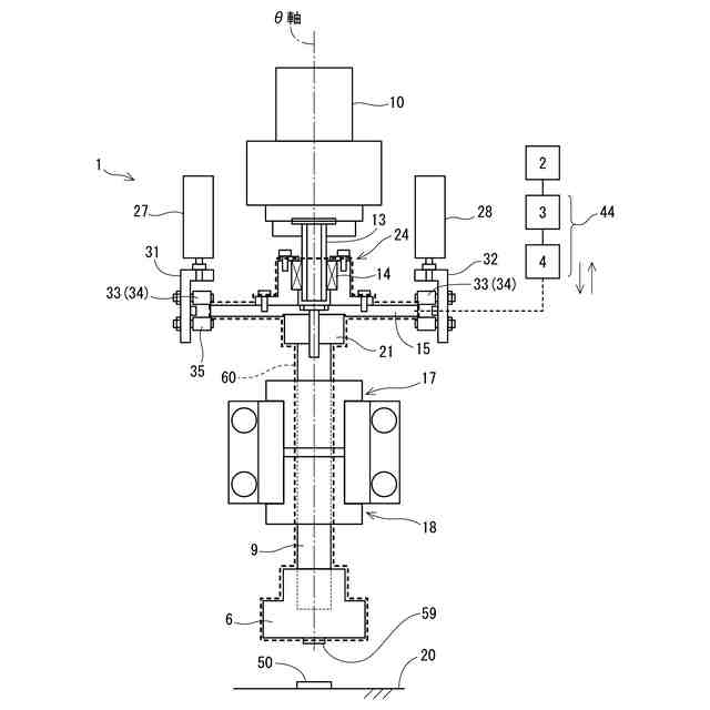
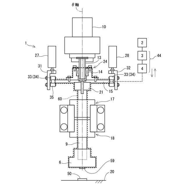
ここに構成Aに相当するのは前記圧着ヘッド本体と前記ロッドである。後述する実施形態では、図5に示す太い破線60に示す領域の構成が構成Aに相当する。構成Aは、質量が最小となる摺動部ヘッド質量となる。
(【0011】以降は省略されています)
この特許をJ-PlatPat(特許庁公式サイト)で参照する
関連特許
株式会社デンソー
車載器
1日前
株式会社デンソー
接合体
15日前
株式会社デンソー
ねじ部材
1日前
株式会社デンソーエレクトロニクス
発音装置
5日前
株式会社デンソーエレクトロニクス
発音装置
23日前
株式会社デンソー
太陽電池
17日前
株式会社デンソー
ステータ
16日前
株式会社デンソー
ステータ
1日前
株式会社デンソー
電子装置
5日前
株式会社デンソー
ステータ
16日前
株式会社デンソー
ステータ
1日前
株式会社デンソー
半導体装置
1日前
株式会社デンソー
レーダ装置
5日前
株式会社デンソー
通信システム
5日前
株式会社デンソー
電波吸収装置
5日前
株式会社デンソー
電子制御装置
16日前
株式会社デンソー
小型電動車両
17日前
株式会社デンソー
電子制御装置
5日前
株式会社デンソー
光位相変調器
15日前
株式会社デンソーウェーブ
光学読取装置
17日前
株式会社デンソー
電力変換装置
1日前
株式会社デンソー
電力変換装置
9日前
株式会社デンソーエアクール
換気空調装置
2日前
株式会社デンソー
制御システム
8日前
株式会社デンソー
フィルタ回路
9日前
株式会社デンソー
装置及び方法
24日前
株式会社デンソー
電圧変換回路
16日前
株式会社デンソーテン
車載映像装置
1日前
株式会社デンソー
電子制御装置
1日前
株式会社デンソー
ステータコア
8日前
株式会社デンソー
通信システム
24日前
株式会社デンソー
電気化学セル
5日前
株式会社デンソー
光導波路構造体
23日前
株式会社デンソー
インバータ装置
17日前
株式会社デンソー
画像符号化装置
3日前
株式会社デンソー
ゲート駆動装置
15日前
続きを見る
他の特許を見る