TOP
|
特許
|
意匠
|
商標
特許ウォッチ
Twitter
他の特許を見る
10個以上の画像は省略されています。
公開番号
2025178722
公報種別
公開特許公報(A)
公開日
2025-12-09
出願番号
2024085504
出願日
2024-05-27
発明の名称
緊急切断方法及び軸発電機
出願人
西芝電機株式会社
代理人
個人
主分類
H02K
1/28 20060101AFI20251202BHJP(電力の発電,変換,配電)
要約
【課題】従来と比較して短時間で緊急切断を実施することが可能な軸発電機を提供する。
【解決手段】回転子鉄心フランジに設けられた中間軸の軸方向に延びる第1のボルト穴と、中間軸フランジに設けられた前記軸方向に延びる第2のボルト穴とを、前記軸方向に重ね合わせた状態で、前記第1のボルト穴と前記第2のボルト穴とに嵌入されることで回転子鉄心と前記中間軸とを締結するボルトとを備える軸発電機における前記回転子鉄心と前記中間軸の緊急切断方法であり、前記回転子鉄心と前記中間軸との間に設けられ前記軸方向に移動可能なリングを、前記第1のボルト穴及び前記第2のボルト穴の一方から突出している前記ボルトの端部に接触させた状態で、送りネジ機構により前記リングを、前記ボルトを前記第1のボルト穴及び前記第2のボルト穴から押し出す方向に移動させる。
【選択図】図5
特許請求の範囲
【請求項1】
円筒状の固定子鉄心と、
前記固定子鉄心の内周側に設けられた円筒状の回転子鉄心と、
前記回転子鉄心の内周側に設けられた円柱状の中間軸と、
前記回転子鉄心の内周から突出する回転子鉄心フランジに設けられた前記中間軸の軸方向に延びる第1のボルト穴と、前記中間軸の外周から突出する中間軸フランジに設けられた前記軸方向に延びる第2のボルト穴とを、前記軸方向に重ね合わせた状態で、前記第1のボルト穴と前記第2のボルト穴とに嵌入されることで前記回転子鉄心と前記中間軸とを締結するボルトとを備える軸発電機における前記回転子鉄心と前記中間軸の緊急切断方法であり、
前記回転子鉄心と前記中間軸との間に設けられ前記軸方向に移動可能なリングを、前記第1のボルト穴及び前記第2のボルト穴の一方から突出している前記ボルトの端部に接触させた状態で、送りネジ機構により前記リングを、前記ボルトを前記第1のボルト穴及び前記第2のボルト穴から押し出す方向に移動させる
ことを特徴とする緊急切断方法。
続きを表示(約 1,500 文字)
【請求項2】
前記ボルトは頭部側とは反対側の先端部が前記第1のボルト穴及び前記第2のボルト穴の一方から突出していて、前記ボルトの先端部からナットを取り外した後、前記リングを前記ボルトの先端部に接触させた状態で、前記送りネジ機構により前記リングを、前記ボルトを前記第1のボルト穴及び前記第2のボルト穴から押し出す方向に移動させる
ことを特徴とする請求項1に記載の緊急切断方法。
【請求項3】
前記送りネジ機構は、前記リングの内周に設けられたネジ穴と、前記中間軸の外周に設けられたネジ部とで構成され、
前記リングは、前記リングのネジ穴に前記中間軸のネジ部が捩じ込まれていることにより前記軸方向に移動可能となっていて、
前記リングを、前記中間軸を中心に回転させることで前記ボルトを前記第1のボルト穴及び前記第2のボルト穴から押し出す方向に移動させる
ことを特徴とする請求項2に記載の緊急切断方法。
【請求項4】
前記リングが前記ボルトの頭部と前記回転子鉄心フランジ及び前記中間軸フランジの一方との間に挟まれた状態で前記回転子鉄心と前記中間軸とが締結され、
前記ボルトは頭部側とは反対側の先端部が前記第1のボルト穴及び前記第2のボルト穴の一方から突出していて、前記ボルトの先端部からナットを取り外した後、前記送りネジ機構により前記リングを前記回転子鉄心フランジ及び前記中間軸フランジの一方から離れる方向に移動させることで、前記ボルトを前記第1のボルト穴及び前記第2のボルト穴から押し出す
ことを特徴とする請求項1に記載の緊急切断方法。
【請求項5】
前記送りネジ機構は、
前記リングに設けられた前記軸方向に延びるネジ穴と、当該ネジ穴に捩じ込まれた押しネジとで構成され、
前記リングは、前記ネジ穴に捩じ込まれた前記押しネジを回転させることで前記リングを前記回転子鉄心フランジ及び前記中間軸フランジの一方から離れる方向に移動させる
ことを特徴とする請求項4に記載の緊急切断方法。
【請求項6】
前記ボルトは、頭部と当該頭部よりも小径の円柱部とで構成され、さらに当該円柱部には他の部分よりも細い小径部が設けられていて、
前記ボルトの前記小径部が、前記回転子鉄心フランジと前記中間軸フランジとの境界に到達するまで前記ボルトを押し出した後、前記回転子鉄心と前記中間軸の一方を固定し、他方を回転させることで、前記小径部を捩じ切る
ことを特徴とする請求項1に記載の緊急切断方法。
【請求項7】
円筒状の固定子鉄心と
前記固定子鉄心の内周側に設けられた円筒状の回転子鉄心と、
前記回転子鉄心の内周側に設けられた円柱状の中間軸と、
前記回転子鉄心の内周から突出する回転子鉄心フランジに設けられた前記中間軸の軸方向に延びる第1のボルト穴と、前記中間軸の外周から突出する中間軸フランジに設けられた前記軸方向に延びる第2のボルト穴とを、前記軸方向に重ね合わせた状態で、前記第1のボルト穴と前記第2のボルト穴とに嵌入されることで前記回転子鉄心と前記中間軸とを締結するボルトと、
前記回転子鉄心と前記中間軸との間に設けられ前記軸方向に移動可能なリングと、
前記第1のボルト穴及び前記第2のボルト穴の一方から突出している前記ボルトの端部に前記リングを接触させた状態で、当該リングを、前記ボルトを前記第1のボルト穴及び前記第2のボルト穴から押し出す方向に移動させる為の送りネジ機構と
を備える
ことを特徴とする軸発電機。
発明の詳細な説明
【技術分野】
【0001】
本発明は、船舶などに採用されている軸発電機の緊急切断方法、及び当該軸発電機に関する。
続きを表示(約 1,600 文字)
【背景技術】
【0002】
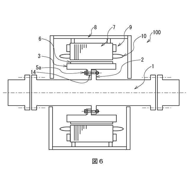
船舶に採用されている軸発電機は、船舶の主機関(エンジン)の回転をプロペラに伝える軸に取り付けられていて、回転エネルギーを電気エネルギーに変換する電気機器である。ここで、船舶に採用されている従来の軸発電機の構造について図1を参照して説明する。尚、図1は軸発電機の側断面図である。
【0003】
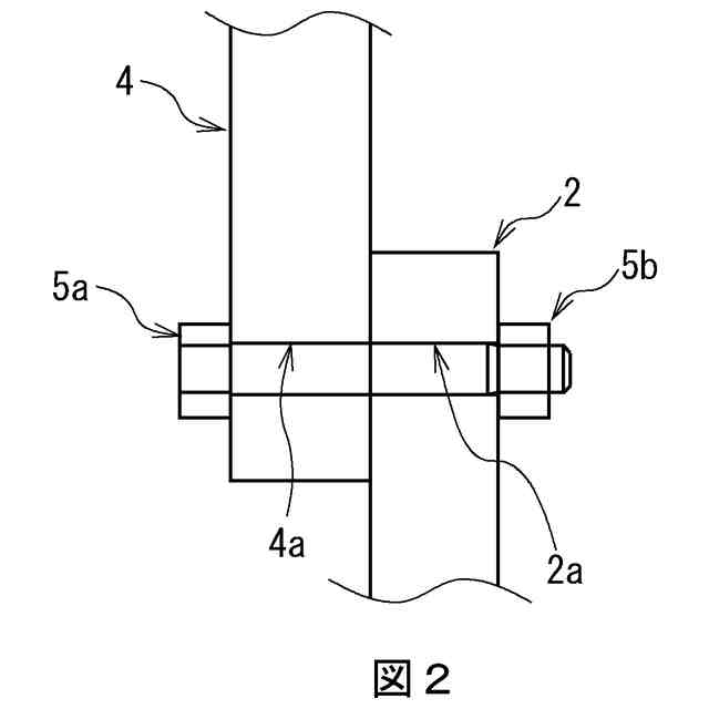
軸発電機は、主機関(エンジン)側の軸とプロペラ側の軸との間に設けられた円柱状の中間軸1を有している。この中間軸1は、円筒状の回転子鉄心3の内周側に配置されていて、中間軸1の外周から突出する中間軸フランジ2と、回転子鉄心3の内周から突出する回転子鉄心フランジ4とをリーマボルト5aとナット5b(図2)で締結することにより中間軸1に回転子鉄心3を固定するようになっている。また回転子鉄心3の外周には永久磁石6が取り付けられている。
【0004】
回転子鉄心3の外周側には、円筒状の固定子鉄心7が配置されていて、当該固定子鉄心7は、固定子枠8によって保持されている。固定子鉄心7は、軸方向(図中左右方向)に積層された鋼板により形成されている。また固定子鉄心7は、軸方向の一端側と他端側とに配置された押さえ板9により軸方向の両端側から挟み込まれ、積層された鋼板がずれないように保持されている。
【0005】
さらに固定子鉄心7には、軸方向に貫通する図示しないスロットが設けられていて、当該スロットに銅線からなる固定子巻き線10が収められている。軸発電機は、このような構造であり、固定子巻き線10と永久磁石6の電磁誘導により起電力を生じる仕組みとなっている。
【0006】
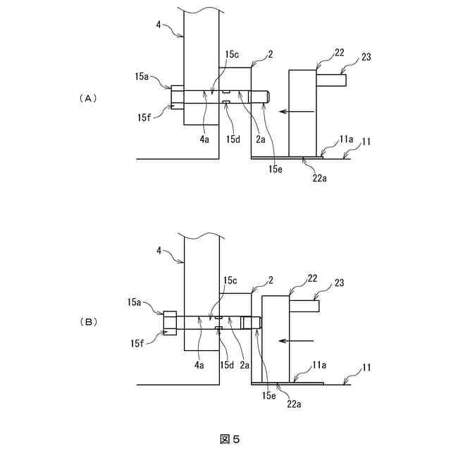
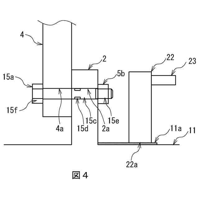
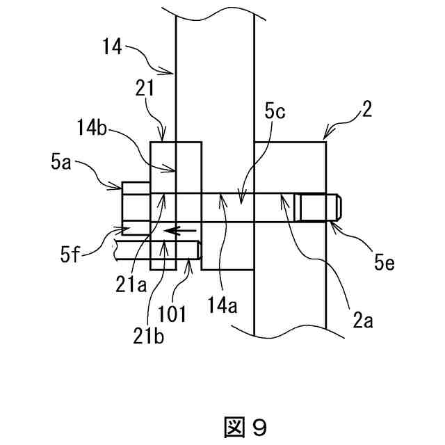
このような軸発電機では、不具合発生時、起電力が生じないように(つまり発電しないように)緊急で中間軸1と回転子鉄心3を切り離す必要があり、これを緊急切断と呼ぶ。を示す。緊急切断時には、中間軸フランジ2と回転子鉄心フランジ4との締結部の拡大図である図2に示すように、リーマボルト5aからナット5bを取り外し、中間軸フランジ2のボルト穴2aと回転子鉄心フランジ4のボルト穴4aからリーマボルト5aを引き抜かなければならない。
【0007】
リーマボルト5aを引き抜く引抜方法の1つとして、例えば、バーナーなどで中間軸フランジ2と回転子鉄心フランジ4との締結部を熱することによりボルト穴2a、4aを熱膨張で拡張させてからリーマボルト5aを引き抜く方法がある。また別の引抜方法として、リーマボルト5aの頭部(先端部とは逆側の端部)にネジ穴を設け、アイボルトをこのネジ穴に取り付けてアイボルトとともにリーマボルト5aを引き抜く方法がある。アイボルトを用いてリーマボルトを引き抜く引抜方法に関する公知文献としては、他えば下記の特許文献1がある。
【先行技術文献】
【特許文献】
【0008】
特開2014-31872号公報
【発明の概要】
【発明が解決しようとする課題】
【0009】
従来の軸発電機では、中間軸と回転子鉄心とをリーマボルトで締結することにより接続しているが、リーマボルトを引き抜くには上述した引抜方法を用いなければならず、リーマボルトを容易に引き抜く構造を有していない。また従来の軸発電機では、リーマボルトの円柱部をボルト穴の径よりも大きくして圧入する締まり嵌めや、リーマボルトの円柱部とボルト穴との隙間(径の差)を最小限にして嵌入する隙間嵌めを用いているが、どちらもリーマボルトを容易に引き抜くことは難しい。
【0010】
このように、従来の軸発電機では、リーマボルトを容易に引き抜くことは難しく、短時間で緊急切断を実施することが困難であった。
(【0011】以降は省略されています)
この特許をJ-PlatPat(特許庁公式サイト)で参照する
関連特許
西芝電機株式会社
船舶用電気推進システム
3か月前
西芝電機株式会社
緊急切断方法及び軸発電機
今日
西芝電機株式会社
エンジン駆動式発電装置およびエンジン駆動式発電システム
1か月前
個人
電気を重力で発電装置
1か月前
個人
高圧電気機器の開閉器
20日前
キヤノン電子株式会社
モータ
1か月前
キヤノン電子株式会社
モータ
1か月前
株式会社東光高岳
充電器
今日
日星電気株式会社
ケーブル組立体
1か月前
コーセル株式会社
電源装置
1か月前
株式会社アイドゥス企画
減反モータ
20日前
トヨタ自動車株式会社
モータ
1か月前
株式会社デンソー
端子台
13日前
株式会社デンソー
回転機
1か月前
株式会社デンソー
回転電機
4日前
株式会社ダイヘン
送配電装置
4日前
個人
二次電池繰返パルス放電器用印刷基板
1か月前
ローム株式会社
半導体集積回路
11日前
株式会社不二越
空冷式油圧装置
4日前
株式会社デンソー
電力変換装置
1か月前
株式会社ミツバ
回転電機
1か月前
富士電機株式会社
電力変換装置
4日前
富士電機株式会社
電力変換装置
4日前
本田技研工業株式会社
回転電機
6日前
トヨタ自動車株式会社
固定子の加熱装置
1か月前
矢崎総業株式会社
電源回路
19日前
株式会社デンソー
非接触受電装置
1か月前
矢崎総業株式会社
給電装置
12日前
株式会社日立製作所
回転電機
11日前
株式会社東光高岳
充電対象切換システム
今日
株式会社TMEIC
制御装置
12日前
トヨタ自動車株式会社
ステータの製造装置
1か月前
日産自動車株式会社
ロータシャフト
27日前
株式会社イノコンバンク
無線給電システム
4日前
個人
非対称鏡像力を有する4層PWB電荷搬送体
27日前
山洋電気株式会社
モータ
1か月前
続きを見る
他の特許を見る