TOP
|
特許
|
意匠
|
商標
特許ウォッチ
Twitter
他の特許を見る
公開番号
2025174416
公報種別
公開特許公報(A)
公開日
2025-11-28
出願番号
2024080784
出願日
2024-05-17
発明の名称
オイルシール
出願人
トヨタ自動車株式会社
代理人
弁理士法人あーく事務所
主分類
F16J
15/3208 20160101AFI20251120BHJP(機械要素または単位;機械または装置の効果的機能を生じ維持するための一般的手段)
要約
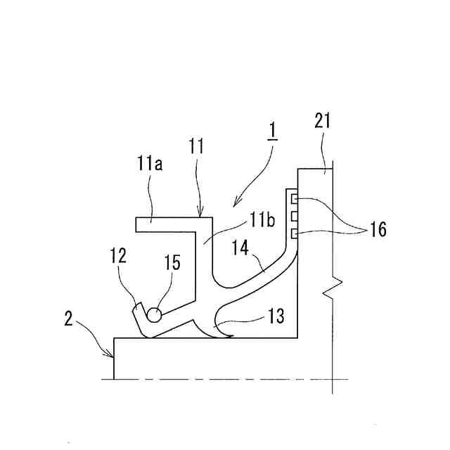
【課題】潤滑剤の保持性を高める。
【解決手段】軸線方向へ延出されかつ回転体(回転軸2)において径方向に沿う面に接触されるサイドリップ14を有するオイルシール1であって、サイドリップ14において回転体2に接触される面には、複数の凹み16が円周方向ならびに径方向にそれぞれ離された状態で設けられている。複数の凹み16それぞれが不連続になっているため、各凹み16の開口縁で潤滑剤が堰き止められることになって、複数の凹み16それぞれから潤滑剤が流出しにくくなる。
【選択図】図2
特許請求の範囲
【請求項1】
軸線方向へ延出されかつ回転体において径方向に沿う面に接触されるサイドリップを有するオイルシールであって、
前記サイドリップにおいて前記回転体に接触される面には、複数の凹みが円周方向ならびに径方向にそれぞれ離された状態で設けられていることを特徴とするオイルシール。
発明の詳細な説明
【技術分野】
【0001】
本発明は、オイルシールに関する。
続きを表示(約 1,000 文字)
【背景技術】
【0002】
例えば特許文献1には、「密封装置のサイドリップ側面に平行溝を開設した」ということが記載されている。
【先行技術文献】
【特許文献】
【0003】
特許第4280903号(特開2004-263797号)公報
【発明の概要】
【発明が解決しようとする課題】
【0004】
上記特許文献1では、平行溝がサイドリップの円周方向に連続しているから、軸の回転に伴い前記平行溝内に塗布されたグリース等の潤滑剤が円周方向に引っ張られることにより前記平行溝内から流出する可能性があることが懸念される。
【0005】
このような事情に鑑み、本発明は、潤滑剤の保持性を高めたオイルシールの提供を目的としている。
【課題を解決するための手段】
【0006】
本発明は、軸線方向へ延出されかつ回転体において径方向に沿う面に接触されるサイドリップを有するオイルシールであって、前記サイドリップにおいて前記回転体に接触される面には、複数の凹みが円周方向ならびに径方向にそれぞれ離された状態で設けられていることを特徴としている。
【0007】
この構成によれば、前記サイドリップの内周面において複数の凹み内に塗布充填される潤滑剤が前記回転体の回転に伴い引っ張られることになるが、前記複数の凹みがそれぞれ離されているため、当該各凹みの開口縁で潤滑剤が堰き止められることになって、複数の凹みそれぞれから潤滑剤が流出しにくくなる。
【0008】
これにより、前記複数の凹みそれぞれの潤滑剤の保持性が向上するので、前記サイドリップにおいて前記回転体に摺動する面(摺動面とも言う)の摩擦抵抗が軽減されることになるとともに、前記摺動面の耐摩耗性が向上することになる。
【発明の効果】
【0009】
本発明によれば、潤滑剤の保持性を高めたオイルシールを提供することができる。
【図面の簡単な説明】
【0010】
本発明に係るオイルシールの一実施形態を示す上側の断面図である。
サイドリップの内周面を示す正面図である。
サイドリップと回転軸の立ち上がり壁面との接触部分を拡大して示す図である。
【発明を実施するための形態】
(【0011】以降は省略されています)
この特許をJ-PlatPat(特許庁公式サイト)で参照する
関連特許
トヨタ自動車株式会社
車両
11日前
トヨタ自動車株式会社
治具
1か月前
トヨタ自動車株式会社
車両
25日前
トヨタ自動車株式会社
配管
11日前
トヨタ自動車株式会社
電池
25日前
トヨタ自動車株式会社
車両
24日前
トヨタ自動車株式会社
電池
2日前
トヨタ自動車株式会社
電池
10日前
トヨタ自動車株式会社
車両
1か月前
トヨタ自動車株式会社
車体
24日前
トヨタ自動車株式会社
方法
1か月前
トヨタ自動車株式会社
電池
16日前
トヨタ自動車株式会社
車両
24日前
トヨタ自動車株式会社
車両
10日前
トヨタ自動車株式会社
電池
1か月前
トヨタ自動車株式会社
車両
1か月前
トヨタ自動車株式会社
方法
24日前
トヨタ自動車株式会社
電池
2日前
トヨタ自動車株式会社
車両
1か月前
トヨタ自動車株式会社
電動車
11日前
トヨタ自動車株式会社
蓄電池
24日前
トヨタ自動車株式会社
ロータ
11日前
トヨタ自動車株式会社
モータ
1か月前
トヨタ自動車株式会社
サーバ
1か月前
トヨタ自動車株式会社
モータ
23日前
トヨタ自動車株式会社
電動車
10日前
トヨタ自動車株式会社
制御装置
1か月前
トヨタ自動車株式会社
蓄電装置
2日前
トヨタ自動車株式会社
蓄電装置
1か月前
トヨタ自動車株式会社
制御装置
23日前
トヨタ自動車株式会社
制御装置
2日前
トヨタ自動車株式会社
蓄電装置
2日前
トヨタ自動車株式会社
鋳造装置
23日前
トヨタ自動車株式会社
蓄電装置
2日前
トヨタ自動車株式会社
処理装置
2日前
トヨタ自動車株式会社
エンジン
11日前
続きを見る
他の特許を見る