TOP
|
特許
|
意匠
|
商標
特許ウォッチ
Twitter
他の特許を見る
公開番号
2025154367
公報種別
公開特許公報(A)
公開日
2025-10-10
出願番号
2024057319
出願日
2024-03-29
発明の名称
吐出容器
出願人
株式会社吉野工業所
代理人
個人
,
個人
,
個人
主分類
B65D
47/34 20060101AFI20251002BHJP(運搬;包装;貯蔵;薄板状または線条材料の取扱い)
要約
【課題】ネジ嵌合によって装着される装着部のネジ嵌合の緩みを抑制しつつ、装着部の外周部の上下幅を抑制できる吐出容器を提供する。
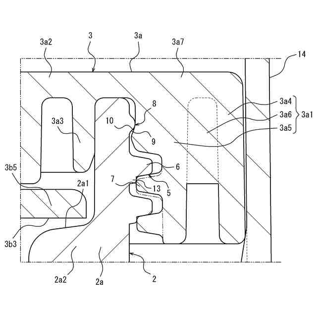
【解決手段】吐出容器1は、口部2a、胴部2b及び底部をこの順に連ねて有する容器本体2と、装着部3aを有し容器本体2内の内容物4を吐出する吐出器3と、装着部3aを口部2aに装着するために1巻き以上に亘って連続又は間欠して延びるネジ嵌合部5を互いに嵌合することで形成する口部2a側の雄ネジ部6及び装着部3a側の雌ネジ部7と、ネジ嵌合部5よりも上側で周方向に1周に亘って連続又は間欠して延びネジ嵌合部5の緩みを抑制する緩み止め嵌合部8を上下方向の乗越えによって互いに嵌合することで形成する口部2a側のアンダーカット状の被乗越部9及び装着部3a側のアンダーカット状の乗越部10とを有する。
【選択図】図1
特許請求の範囲
【請求項1】
口部、胴部及び底部をこの順に連ねて有する容器本体と、
装着部を有し前記容器本体内の内容物を吐出する吐出器と、
前記装着部を前記口部に装着するために1巻き以上に亘って連続又は間欠して延びるネジ嵌合部を互いに嵌合することで形成する前記口部側の雄ネジ部及び前記装着部側の雌ネジ部と、
前記ネジ嵌合部よりも上側で周方向に1周に亘って連続又は間欠して延び前記ネジ嵌合部の緩みを抑制する緩み止め嵌合部を上下方向の乗越えによって互いに嵌合することで形成する前記口部側のアンダーカット状の被乗越部及び前記装着部側のアンダーカット状の乗越部とを有する、吐出容器。
続きを表示(約 530 文字)
【請求項2】
前記雄ネジ部の下端部の下面から下方に延びる凸状縦リブと、前記雌ネジ部の下端部のネジ山頂面に設けられ、前記周方向の乗越えによって前記凸状縦リブに嵌合することで前記ネジ嵌合部の緩みを抑制する凹状縦リブとを有する、請求項1に記載の吐出容器。
【請求項3】
前記雄ネジ部よりもネジ山高さが小さく、前記雄ネジ部に並行して延び、前記雄ネジ部の上面から離間し且つネジ山頂面が前記雄ネジ部の下面に連なる小ネジ部を有し、
前記雌ネジ部の前記ネジ山頂面は、前記ネジ嵌合部の形成時に前記小ネジ部のネジ山頂面に乗り上げ、摩擦力によって前記ネジ嵌合部の緩みを抑制する、請求項1に記載の吐出容器。
【請求項4】
装着部は、前記雌ネジ部及び前記乗越部を有するキャップ外周部と、前記キャップ外周部の上端部から径方向内側に延びる嵌合保持部と、前記嵌合保持部から下方に延び前記口部の内周面に接触するシール筒とを有し、
前記吐出器は、前記嵌合保持部に嵌合して保持されるシリンダ部と、前記シリンダ部上を上下方向に摺動することで前記容器本体内の前記内容物を前記シリンダ部内を通して吐出するポンプ作動部とを有する、請求項1に記載の吐出容器。
発明の詳細な説明
【技術分野】
【0001】
本発明は吐出容器に関する。
続きを表示(約 1,400 文字)
【背景技術】
【0002】
口部、胴部及び底部をこの順に連ねて有する容器本体と、装着部を有し容器本体内の内容物を吐出する吐出器と、装着部を口部に装着するためにネジ嵌合部を互いに嵌合することで形成する口部側の雄ネジ部及び装着部側の雌ネジ部とを有する吐出容器が知られている(例えば特許文献1~2参照)。
【先行技術文献】
【特許文献】
【0003】
特開2023-143670号公報
特開2023-176649号公報
【発明の概要】
【発明が解決しようとする課題】
【0004】
上記のような吐出容器は、デザインなどの観点から装着部の外周部の上下幅を抑制することが望ましい場合がある。しかし、上下幅を抑制すると、ネジ嵌合部の長さが減少するため、ネジ嵌合が弱くなり緩み易くなるという問題がある。
【0005】
そこで本発明の目的は、ネジ嵌合によって装着される装着部のネジ嵌合の緩みを抑制しつつ、装着部の外周部の上下幅を抑制できる吐出容器を提供することにある。
【課題を解決するための手段】
【0006】
本発明の一態様は以下のとおりである。
【0007】
[1]
口部、胴部及び底部をこの順に連ねて有する容器本体と、
装着部を有し前記容器本体内の内容物を吐出する吐出器と、
前記装着部を前記口部に装着するために1巻き以上に亘って連続又は間欠して延びるネジ嵌合部を互いに嵌合することで形成する前記口部側の雄ネジ部及び前記装着部側の雌ネジ部と、
前記ネジ嵌合部よりも上側で周方向に1周に亘って連続又は間欠して延び前記ネジ嵌合部の緩みを抑制する緩み止め嵌合部を上下方向の乗越えによって互いに嵌合することで形成する前記口部側のアンダーカット状の被乗越部及び前記装着部側のアンダーカット状の乗越部とを有する、吐出容器。
【0008】
[2]
前記雄ネジ部の下端部の下面から下方に延びる凸状縦リブと、前記雌ネジ部の下端部のネジ山頂面に設けられ、前記周方向の乗越えによって前記凸状縦リブに嵌合することで前記ネジ嵌合部の緩みを抑制する凹状縦リブとを有する、[1]に記載の吐出容器。
【0009】
[3]
前記雄ネジ部よりもネジ山高さが小さく、前記雄ネジ部に並行して延び、前記雄ネジ部の上面から離間し且つネジ山頂面が前記雄ネジ部の下面に連なる小ネジ部を有し、
前記雌ネジ部の前記ネジ山頂面は、前記ネジ嵌合部の形成時に前記小ネジ部のネジ山頂面に乗り上げ、摩擦力によって前記ネジ嵌合部の緩みを抑制する、[1]又は[2]に記載の吐出容器。
【0010】
[4]
装着部は、前記雌ネジ部及び前記乗越部を有するキャップ外周部と、前記キャップ外周部の上端部から径方向内側に延びる嵌合保持部と、前記嵌合保持部から下方に延び前記口部の内周面に接触するシール筒とを有し、
前記吐出器は、前記嵌合保持部に嵌合して保持されるシリンダ部と、前記シリンダ部上を上下方向に摺動することで前記容器本体内の前記内容物を前記シリンダ部内を通して吐出するポンプ作動部とを有する、[1]~[3]の何れか1項に記載の吐出容器。
【発明の効果】
(【0011】以降は省略されています)
この特許をJ-PlatPat(特許庁公式サイト)で参照する
関連特許
花王株式会社
吐出容器
19日前
個人
収容箱
3か月前
個人
コンベア
5か月前
個人
ゴミ収集器
7か月前
個人
容器
9か月前
個人
段ボール箱
7か月前
個人
段ボール箱
7か月前
個人
角筒状構造体
5か月前
個人
宅配システム
7か月前
個人
楽ちんハンド
5か月前
個人
土嚢運搬器具
8か月前
個人
バンド
2か月前
個人
包装容器
1か月前
個人
閉塞装置
10か月前
個人
お薬の締結装置
6か月前
個人
コード類収納具
8か月前
個人
廃棄物収容容器
2か月前
個人
貯蔵サイロ
7か月前
個人
積み重ね用補助具
3か月前
個人
蓋閉止構造
4か月前
個人
蓋閉止構造
4か月前
個人
ゴミ処理機
9か月前
株式会社和気
包装用箱
8日前
個人
把手付米袋
4か月前
株式会社和気
包装用箱
9か月前
株式会社コロナ
梱包材
5か月前
株式会社バンダイ
物品
28日前
個人
包装箱
10か月前
三甲株式会社
容器
2か月前
株式会社ナベル
検査装置
6日前
株式会社イシダ
搬送装置
6か月前
個人
輸送積荷用動吸振器
6か月前
個人
コード折り畳み器具
4か月前
株式会社KY7
封止装置
3か月前
三甲株式会社
蓋体
8か月前
個人
搬送システム
7か月前
続きを見る
他の特許を見る