TOP
|
特許
|
意匠
|
商標
特許ウォッチ
Twitter
他の特許を見る
公開番号
2025154070
公報種別
公開特許公報(A)
公開日
2025-10-10
出願番号
2024056866
出願日
2024-03-29
発明の名称
トリガー式液体噴出器
出願人
株式会社吉野工業所
代理人
個人
,
個人
,
個人
,
個人
主分類
B05B
11/10 20230101AFI20251002BHJP(霧化または噴霧一般;液体または他の流動性材料の表面への適用一般)
要約
【課題】トリガー部に加えられる付勢力の大きさを長期にわたって維持できるトリガー式液体噴出器を提供する。
【解決手段】このトリガー式液体噴出器は、トリガー部を前方に向けて付勢する付勢部を有し、前記トリガー部の後方移動によって、液体を縦供給筒部内から噴出孔側に向けて流通させるトリガー機構と、を備え、前記付勢部は、前記縦供給筒部を左右方向に挟む両側に設けられ、前方に向かうに従って下方に向けて湾曲する弾性アーム部と、前記弾性アーム部から下方に向けて突出し、前記弾性アーム部の左右方向の外側への変形を規制する変形規制部と、を備え、前記変形規制部は、前記弾性アーム部の屈曲部を前後方向に挟む両側に接続された一対の接続部と、前記一対の接続部を前後方向に連結する連結部と、を備え、前記一対の接続部は、下方に向かうに従い左右方向の外側に向けて延びている。
【選択図】図2
特許請求の範囲
【請求項1】
液体が収容された容器体に装着される噴出器本体と、
前記噴出器本体に装着され、液体を噴出する噴出孔が形成されたノズル部材と、を備え、
前記噴出器本体は、
前記容器体内の液体を吸い上げる縦供給筒部と、
後方に移動可能に配設されたトリガー部、及び、後方移動した前記トリガー部を前方に向けて付勢する付勢部を有し、前記トリガー部の後方移動によって、液体を前記縦供給筒部内から前記噴出孔側に向けて流通させるトリガー機構と、を備え、
前記付勢部は、
前記縦供給筒部を左右方向に挟む両側に設けられ、前方に向かうに従って下方に向けて湾曲する弾性アーム部と、
前記弾性アーム部から下方に向けて突出し、前記弾性アーム部の左右方向の外側への変形を規制する変形規制部と、を備え、
前記変形規制部は、
前記弾性アーム部の屈曲部を前後方向に挟む両側に接続された一対の接続部と、
前記一対の接続部を前後方向に連結する連結部と、を備え、
前記一対の接続部は、下方に向かうに従い左右方向の外側に向けて延びている、
トリガー式液体噴出器。
続きを表示(約 270 文字)
【請求項2】
前記弾性アーム部の断面は、上下方向の寸法よりも、左右方向の寸法の方が小さい、
請求項1に記載のトリガー式液体噴出器。
【請求項3】
前記弾性アーム部は、
左右方向において第1幅を有する基部と、
前記基部から前方に向けて延び、左右方向において前記第1幅よりも小さい第2幅を有する変形部と、を有し、
前記一対の接続部の一方は、前記基部に接続され、
前記一対の接続部の他方は、前記変形部に接続されている、
請求項1または2に記載のトリガー式液体噴出器。
発明の詳細な説明
【技術分野】
【0001】
本発明は、トリガー式液体噴出器に関する。
続きを表示(約 1,900 文字)
【背景技術】
【0002】
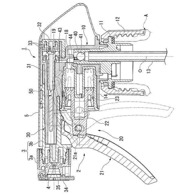
従来から、下記特許文献1記載のトリガー式液体噴出器が知られている。このトリガー式液体噴出器は、液体が収容された容器体に装着される噴出器本体と、前記噴出器本体に装着され、液体を噴出する噴出孔が形成されたノズル部と、を備え、前記噴出器本体は、弾性アーム部によって前方付勢状態で後方に移動可能に配設されたトリガー部を有し、前記トリガー部の後方への移動によって、液体を前記噴出孔側に向けて流通させる。
【先行技術文献】
【特許文献】
【0003】
特開2023-34982号公報
【発明の概要】
【発明が解決しようとする課題】
【0004】
上記トリガー式液体噴出器において、トリガー部を操作すると、弾性アーム部が上下方向に弾性変形する。このトリガー式液体噴出器を長期使用し、トリガー部の操作回数が増えると、弾性アーム部が左右方向の外側に変形し(へたり)、弾性アーム部の弾性反力が左右方向に逃げ、トリガー部に加えられる付勢力が徐々に弱くなってきてしまう、という課題があった。
【0005】
本発明は、このような事情に鑑みてなされたものであって、その目的は、トリガー部に加えられる付勢力の大きさを長期にわたって維持できるトリガー式液体噴出器を提供することである。
【課題を解決するための手段】
【0006】
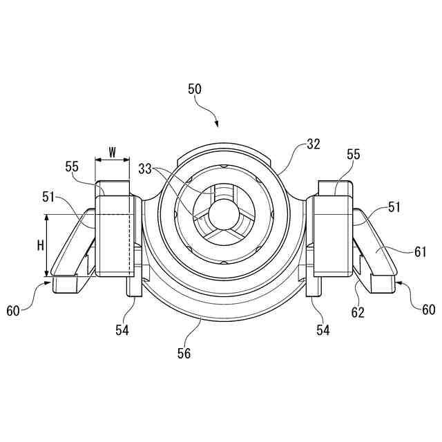
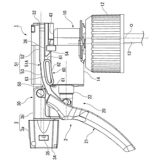
本発明に係るトリガー式液体噴出器は、液体が収容された容器体に装着される噴出器本体と、前記噴出器本体に装着され、液体を噴出する噴出孔が形成されたノズル部材と、を備え、前記噴出器本体は、前記容器体内の液体を吸い上げる縦供給筒部と、後方に移動可能に配設されたトリガー部、及び、後方移動した前記トリガー部を前方に向けて付勢する付勢部を有し、前記トリガー部の後方移動によって、液体を前記縦供給筒部内から前記噴出孔側に向けて流通させるトリガー機構と、を備え、前記付勢部は、前記縦供給筒部を左右方向に挟む両側に設けられ、前方に向かうに従って下方に向けて湾曲する弾性アーム部と、前記弾性アーム部から下方に向けて突出し、前記弾性アーム部の左右方向の外側への変形を規制する変形規制部と、を備え、前記変形規制部は、前記弾性アーム部の屈曲部を前後方向に挟む両側に接続された一対の接続部と、前記一対の接続部を前後方向に連結する連結部と、を備え、前記一対の接続部は、下方に向かうに従い左右方向の外側に向けて延びている。
【0007】
本発明に係るトリガー式液体噴出器によれば、トリガー部が操作され、トリガー部が後方移動すると、容器体内から液体が吸い上げられ、当該液体が、縦供給筒部を通じてノズル部材の噴出孔から外部に噴出する。弾性アーム部は、前方に向かうに従って下方に向けて湾曲しており、トリガー部の後方移動によって屈曲し、この屈曲部よりも前方部分が屈曲部回りに下方に向けて弾性変形する。
この際、弾性アーム部の前方部分が左右方向の外側に向けて変形しようとしても、弾性アームの前方部分が変形規制部を介して、弾性アーム部の屈曲部よりも後方部分に支持されることとなり、この変形が規制される。
変形規制部は、屈曲部の前後に設けられた一対の接続部と、一対の接続部の下端同士を前後方向に連結する連結部と、を備えて枠状に形成されているので、変形規制部に柔軟性を具備させることが可能になり、弾性アーム部の上下方向の弾性変形が阻害されるのを防ぐことができる。
このように、本発明に係るトリガー式液体噴出器によれば、弾性アーム部の上下方向の弾性変形を阻害することなく、弾性アーム部が左右方向の外側に変形することを規制できるため、トリガー部に加えられる付勢力の大きさを長期にわたって維持することができる。
【0008】
(2)前記弾性アーム部の断面は、上下方向の寸法よりも、左右方向の寸法の方が小さくてもよい。
【0009】
この場合には、弾性アーム部の上下方向の弾性反力を大きくできるため、トリガー部に加えられる付勢力の大きさを維持することができる。
【0010】
(3)前記弾性アーム部は、左右方向において第1幅を有する基部と、前記基部から前方に向けて延び、左右方向において前記第1幅よりも小さい第2幅を有する変形部と、を有し、前記一対の接続部の一方は、前記基部に接続され、前記一対の接続部の他方は、前記変形部に接続されていてもよい。
(【0011】以降は省略されています)
この特許をJ-PlatPat(特許庁公式サイト)で参照する
関連特許
株式会社吉野工業所
蓋体
1か月前
株式会社吉野工業所
吐出器
25日前
株式会社吉野工業所
吐出器
1か月前
株式会社吉野工業所
繰出容器
25日前
株式会社吉野工業所
歯ブラシ
1か月前
株式会社吉野工業所
吐出容器
25日前
株式会社吉野工業所
吐出容器
25日前
株式会社吉野工業所
ノズル部材
25日前
株式会社吉野工業所
計量注出容器
1か月前
株式会社吉野工業所
計量注出容器
1か月前
株式会社吉野工業所
吐出キャップ
26日前
株式会社吉野工業所
パウダー容器
25日前
株式会社吉野工業所
スパウト容器
1か月前
株式会社吉野工業所
ねじキャップ
25日前
株式会社吉野工業所
計量注出容器
25日前
株式会社吉野工業所
スポイト容器
1か月前
株式会社吉野工業所
ブラシ型塗布具
25日前
株式会社吉野工業所
把手付きボトル
25日前
株式会社吉野工業所
合成樹脂製容器
25日前
株式会社吉野工業所
ポンプ式吐出器
1か月前
株式会社吉野工業所
フォーマポンプ
1か月前
株式会社吉野工業所
ねじキャップ容器
25日前
株式会社吉野工業所
ポンプ式泡吐出容器
25日前
株式会社吉野工業所
ポンプ携帯ホルダー
25日前
株式会社吉野工業所
トリガー式液体噴出器
25日前
株式会社吉野工業所
トリガー式液体噴出器
25日前
株式会社吉野工業所
圧縮ばね部材及び吐出器
1か月前
花王株式会社
吐出容器
1か月前
株式会社吉野工業所
携帯補助具を備えた容器
1か月前
株式会社吉野工業所
樹脂製品製造方法及び樹脂製品
25日前
株式会社吉野工業所
リフィル容器、および蓋付き容器
1か月前
ホーユー株式会社
エアゾール容器用吐出具
17日前
株式会社吉野工業所
容器、容器の製造方法、及び積層シートのオーバーラップ部の検出方法
25日前
個人
微細霧発生装置
1か月前
ベック株式会社
被膜形成方法
25日前
ベック株式会社
被膜形成方法
25日前
続きを見る
他の特許を見る