TOP
|
特許
|
意匠
|
商標
特許ウォッチ
Twitter
他の特許を見る
公開番号
2025168796
公報種別
公開特許公報(A)
公開日
2025-11-12
出願番号
2024073556
出願日
2024-04-30
発明の名称
ねじキャップ容器
出願人
株式会社吉野工業所
代理人
個人
主分類
B65D
41/04 20060101AFI20251105BHJP(運搬;包装;貯蔵;薄板状または線条材料の取扱い)
要約
【課題】 少ない回転角度で開閉できるとともに、容器本体の内圧が上昇しても、螺合が外れ難いねじキャップ容器を提供する。
【解決手段】 容器本体Aと、ねじキャップBとからなるねじキャップ容器であって、容器本体は、口筒部1外周に、スロープねじ部2と、スロープねじ部の下方に当接突部9とを備え、スロープねじ部は、周方向に等間隔で複数カ所に上部ねじ突部6と、上部ねじ突部から下方に所定の間隔で平行する下部ねじ突部8と、下部ねじ突部と上部ねじ突部間に連設する傾斜ねじ突部7とを備え、ねじキャップは、頂壁10と、頂壁の外縁から垂設される外周壁11とを備え、外周壁は、内周に、等間隔かつ同じ高さで複数カ所に上部キャップねじ突部15と、上部キャップねじ突部から下方に所定の間隔で平行する下部キャップねじ突部16と、下部キャップねじ突部の下方に突設され、口筒部の当接突部を乗り越える振動突起22とを備える構成を採用する。
【選択図】 図1
特許請求の範囲
【請求項1】
容器本体と、容器本体の口筒部に螺合するねじキャップとからなるねじキャップ容器であって、
容器本体は、口筒部外周に、突設されるスロープねじ部と、スロープねじ部の下方に突設される当接突部とを備え、
スロープねじ部は、周方向に等間隔で複数カ所に配設される上部ねじ突部と、上部ねじ突部から下方に所定の間隔を隔てて平行する下部ねじ突部と、下部ねじ突部と上部ねじ突部間に連設する傾斜ねじ突部とを備え、
ねじキャップは、頂壁と、頂壁の外縁から垂設される外周壁とを備え、
外周壁は、内周に、等間隔かつ同じ高さで複数カ所に配設される上部キャップねじ突部と、上部キャップねじ突部から下方に所定の間隔を隔てて平行する下部キャップねじ突部と、下部キャップねじ突部の下方に突設され、閉蓋時に、口筒部の当接突部を乗り越える振動突起とを備えることを特徴とするねじキャップ容器。
続きを表示(約 360 文字)
【請求項2】
上部ねじ突部は、上部に平坦となる上平坦面部と、下部に閉蓋時に回転する方向に向けて所定の角度で傾斜する下傾斜面部とを備え、
下部ねじ突部は、上部に上面部と、下部に閉蓋時に回転する方向に向けて所定の角度で傾斜する下傾斜面部とを備え、
上部キャップねじ突部および下部キャップねじ突部は、上部が閉蓋時に回転する方向に向け下方に傾斜する傾斜上部と、下部が平坦となる平坦下部とを備えることを特徴とする請求項1に記載のねじキャップ容器。
【請求項3】
容器本体は、口筒部の当接突部の下方に突設される係止突部を備え、
ねじキャップは、外周壁の下端に、破断可能な弱化片を介して連設され、係止突部に嵌合する封緘リングを備えることを特徴とする請求項1または2に記載のねじキャップ容器。
発明の詳細な説明
【技術分野】
【0001】
本発明は、容器本体の口筒部に螺合するねじキャップを備えたねじキャップ容器に関し、とくに少ない回転角度で容易に開閉でき、内圧によるねじキャップの外れを防止できるねじキャップ容器に関するものである。
続きを表示(約 2,300 文字)
【背景技術】
【0002】
従来から、容器本体の口筒部に設けられた雄ねじ部に、ねじキャップに設けられた雌ねじ部を螺合し、開閉するねじキャップ容器は多く用いられている。
とくに、口筒部の外周面に多条のねじ山を有する容器本体と、該ねじ山に係合する係合部を内周に有するねじキャップとを備え、一回転よりも小さな回転角度で開閉操作できるだけでなく、閉蓋後は容易に固定解除されることがないねじキャップ容器は、従来から知られている(例えば、特許文献1参照)。
【先行技術文献】
【特許文献】
【0003】
特開2011-136745号公報
【発明の概要】
【発明が解決しようとする課題】
【0004】
しかしながら、上記特許文献1記載のねじキャップ容器は、閉蓋時に、ねじキャップを容器本体に被せる際に、斜め被りが起こり得るという問題があり、とくに、広口容器の場合、斜め被りが起こり易くなり、斜め被りが起こった時、力を掛けて強制的に水平に戻す必要があり、場合によっては、力が足りないために、斜め被りが解消されず、閉蓋不良を起こすという問題があった。
【0005】
また、上記特許文献1記載のねじキャップ容器では、閉蓋状態から開蓋するのに構造上、約240°回転させなくてはならない。
さらに、内容物を充填後、保管時の温度上昇等により、容器本体内の内圧が上昇した時、ねじキャップが内圧で押し上げられ、螺合が外れ易くなるという問題があった。
【0006】
本発明は、上記問題を解決することを課題とし、少ない回転角度で開閉できるとともに、内容物を充填後、保管時の温度上昇等により、容器本体の内圧が上昇しても、螺合が外れ難いねじキャップ容器を提供することを目的とする。
【課題を解決するための手段】
【0007】
本発明は、上記の課題を解決するため、ねじキャップ容器として、容器本体と、容器本体の口筒部に螺合するねじキャップとからなるねじキャップ容器であって、容器本体は、口筒部外周に、突設されるスロープねじ部と、スロープねじ部の下方に突設される当接突部とを備え、スロープねじ部は、周方向に等間隔で複数カ所に配設される上部ねじ突部と、上部ねじ突部から下方に所定の間隔を隔てて平行する下部ねじ突部と、下部ねじ突部と上部ねじ突部間に連設する傾斜ねじ突部とを備え、ねじキャップは、頂壁と、頂壁の外縁から垂設される外周壁とを備え、外周壁は、内周に、等間隔かつ同じ高さで複数カ所に配設される上部キャップねじ突部と、上部キャップねじ突部から下方に所定の間隔を隔てて平行する下部キャップねじ突部と、下部キャップねじ突部の下方に突設され、閉蓋時に、口筒部の当接突部を乗り越える振動突起とを備えることを特徴とする構成を採用する。
【0008】
ねじキャップ容器の実施態様として、上部ねじ突部は、上部に平坦となる上平坦面部と、下部に閉蓋時に回転する方向に向けて所定の角度で傾斜する下傾斜面部とを備え、下部ねじ突部は、上部に上面部と、下部に閉蓋時に回転する方向に向けて所定の角度で傾斜する下傾斜面部とを備え、上部キャップねじ突部および下部キャップねじ突部は、上部が閉蓋時に回転する方向に向け下方に傾斜する傾斜上部と、下部が平坦となる平坦下部とを備えることを特徴とする構成を採用し、さらに、容器本体は、口筒部の当接突部の下方に突設される係止突部を備え、ねじキャップは、外周壁の下端に、破断可能な弱化片を介して連設され、係止突部に嵌合する封緘リングを備えることを特徴とする構成を採用する。
【発明の効果】
【0009】
本発明のねじキャップ容器は、上記構成を採用することにより、閉蓋時、ねじキャップを容器本体の口筒部に被せる際には、ねじキャップを容器本体に対し水平に保ち、斜め被りを防止するとともに、少ない回転角度で容器を簡単に密封することができ、開蓋時には、少ない回転角度で簡単に開蓋することができるとともに、開閉の際に、クリック感を使用者に与え、開閉状況を知らせることができる。
さらに、内容物を充填後、保管時の温度上昇等により、容器本体の内圧が上昇し、ねじキャップを上方に押し上げて上方に抜けてしまうことを防止でき、安全に閉蓋状態を維持することができる。
【図面の簡単な説明】
【0010】
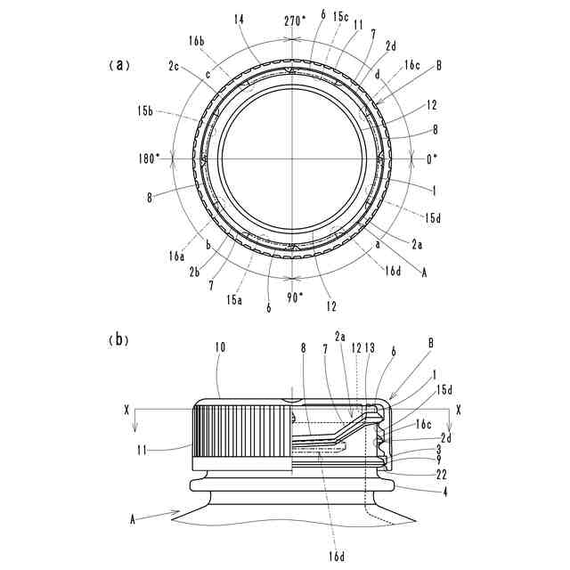
本発明の第1実施例であるねじキャップ容器の閉蓋時の説明図で、(a)は(b)のX-X線断面矢視図、(b)は部分透視側面図である。
本発明の第1実施例であるねじキャップ容器の容器本体の説明図で、(a)は上面図、(b)は側面図である。
本発明の第1実施例であるねじキャップ容器のねじキャップの説明図で、(a)は側面断面図、(b)は下面図である。
本発明の第1実施例である容器本体のスロープねじ部とねじキャップのキャップねじ突部との作用図で、(a)は開閉操作時の螺合されてない状態、(b)は螺合初期または螺合が外れる前、(c)は螺合中期、(d)は螺合完了時である。
本発明の第2実施例であるねじキャップ容器の閉蓋時の説明図で、(a)は(b)のY-Y線断面矢視図、(b)は部分透視側面図である。
本発明の第2実施例であるねじキャップ容器のねじキャップと容器本体の開蓋時の部分透視側面図である。
【発明を実施するための形態】
(【0011】以降は省略されています)
この特許をJ-PlatPat(特許庁公式サイト)で参照する
関連特許
株式会社吉野工業所
蓋体
1か月前
株式会社吉野工業所
吐出器
28日前
株式会社吉野工業所
吐出器
1か月前
株式会社吉野工業所
吐出容器
28日前
株式会社吉野工業所
注出部材
今日
株式会社吉野工業所
繰出容器
28日前
株式会社吉野工業所
吐出容器
28日前
株式会社吉野工業所
歯ブラシ
1か月前
株式会社吉野工業所
ノズル部材
28日前
株式会社吉野工業所
計量注出容器
1か月前
株式会社吉野工業所
パウダー容器
28日前
株式会社吉野工業所
ねじキャップ
28日前
株式会社吉野工業所
スパウト容器
1か月前
株式会社吉野工業所
計量注出容器
28日前
株式会社吉野工業所
スポイト容器
1か月前
株式会社吉野工業所
吐出キャップ
29日前
株式会社吉野工業所
パウダー容器
今日
株式会社吉野工業所
フォーマポンプ
1か月前
株式会社吉野工業所
ポンプ式吐出器
1か月前
株式会社吉野工業所
把手付きボトル
28日前
株式会社吉野工業所
ブラシ型塗布具
28日前
株式会社吉野工業所
合成樹脂製容器
28日前
株式会社吉野工業所
ねじキャップ容器
28日前
株式会社吉野工業所
ポンプ式泡吐出容器
28日前
株式会社吉野工業所
ポンプ携帯ホルダー
28日前
株式会社吉野工業所
トリガー式液体噴出器
28日前
株式会社吉野工業所
トリガー式液体噴出器
28日前
株式会社吉野工業所
携帯補助具を備えた容器
1か月前
株式会社吉野工業所
圧縮ばね部材及び吐出器
1か月前
株式会社吉野工業所
詰替え容器及び詰替え方法
1日前
株式会社吉野工業所
樹脂製品製造方法及び樹脂製品
28日前
株式会社吉野工業所
リフィル容器、および蓋付き容器
1か月前
ホーユー株式会社
エアゾール容器用吐出具
20日前
株式会社吉野工業所
容器、容器の製造方法、及び積層シートのオーバーラップ部の検出方法
28日前
個人
束ね具
29日前
個人
収容箱
4か月前
続きを見る
他の特許を見る