TOP
|
特許
|
意匠
|
商標
特許ウォッチ
Twitter
他の特許を見る
公開番号
2025178891
公報種別
公開特許公報(A)
公開日
2025-12-09
出願番号
2024085754
出願日
2024-05-27
発明の名称
詰替え容器及び詰替え方法
出願人
株式会社吉野工業所
代理人
個人
,
個人
,
個人
主分類
B65D
47/06 20060101AFI20251202BHJP(運搬;包装;貯蔵;薄板状または線条材料の取扱い)
要約
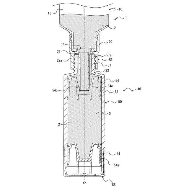
【課題】比較的高粘度の内容物を本容器に容易に詰め替えることが可能な詰替え容器及び詰替え方法を提供することである。
【解決手段】本容器40に内容物2を詰め替えるための詰替え容器1であって、筒状の口部11を備えた容器本体10と、口部11に装着された吐出キャップ20と、を有し、吐出キャップ20が、口部11に装着された有頂筒状の装着部21と、内周面に雌ねじ22aを備え、装着部21の頂壁21bに一体に設けられた連結筒部22と、連結筒部22の内側において装着部21の頂壁21bに一体に設けられ、容器本体10の内部に連通するノズル部23と、を備え、容器本体10が、口部11に連なるとともに容易に押潰し可能な胴部16を備えていることを特徴とする、詰替え容器1及びこれを用いた詰替え方法。
【選択図】図1
特許請求の範囲
【請求項1】
本容器に内容物を詰め替えるための詰替え容器であって、
筒状の口部を備えた容器本体と、
前記口部に装着された吐出キャップと、を有し、
前記吐出キャップが、
前記口部に装着された有頂筒状の装着部と、
内周面に雌ねじを備え、前記装着部の頂壁に一体に設けられた連結筒部と、
前記連結筒部の内側において前記装着部の頂壁に一体に設けられ、前記容器本体の内部に連通するノズル部と、を備え、
前記容器本体が、前記口部に連なるとともに容易に押潰し可能な胴部を備えていることを特徴とする、詰替え容器。
続きを表示(約 460 文字)
【請求項2】
前記容器本体が、チューブ容器である、請求項1に記載の詰替え容器。
【請求項3】
前記雌ねじにねじ結合する雄ねじを備え、前記ノズル部の先端を閉塞するオーバーキャップを有する、請求項1または2に記載の詰替え容器。
【請求項4】
本容器に内容物を詰め替える詰替え方法であって、
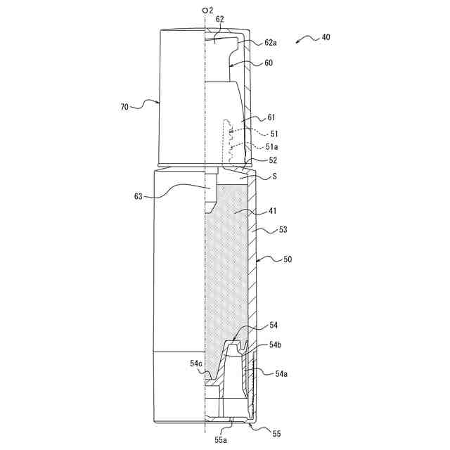
前記本容器が、容器体と、前記容器体の口部に装着されたポンプ式吐出具と、を備え、前記容器体の底部が筒状胴部に対して摺動する摺動底板として構成され、前記ポンプ式吐出具が操作されて前記容器体の内部の内容物が減少するのに伴って前記摺動底板が上方に移動するように構成されたものであり、
前記ポンプ式吐出具を前記容器体の口部から取り外し、
請求項1に記載された前記詰替え容器の前記ノズル部を前記容器体の口部に差し込むとともに前記連結筒部を前記容器体の口部の外周面に設けられた雄ねじにねじ結合させて前記容器本体の内部の内容物を前記本容器に詰め替えることを特徴とする詰替え方法。
発明の詳細な説明
【技術分野】
【0001】
本発明は、本容器に内容物を詰め替えるための詰替え容器及び詰替え方法に関する。
続きを表示(約 1,300 文字)
【背景技術】
【0002】
従来、本容器に内容物を詰め替えるための詰替え容器として、ボトル形状の合成樹脂製の容器本体と、容器本体の口部に装着されたキャップとを有し、キャップに設けられた雌ねじを本容器の口部の雄ねじにねじ結合させ、流入孔を通して容器本体の内部に外気を導入しつつ容器本体の内容物を流出筒から本容器に流入させて内容物を本容器に詰め替えるように構成されたものが知られている(例えば特許文献1参照)。
【0003】
一方、内容物を一定量ずつ吐出する容器として、容器体と、容器体の口部に装着されたポンプ式吐出具とを備えるとともに、容器体の底部が筒状胴部に対して摺動する摺動底板として構成され、ポンプ式吐出具が操作されて容器体の内部の内容物が減少するのに伴って摺動底板が上方に移動することで、容器体の内部に外気を取り込むことなく内容物を吐出することができるように構成された吐出容器が知られている(例えば特許文献2参照)。
【先行技術文献】
【特許文献】
【0004】
特開2022-171232号公報
特開2002-362659号公報
【発明の概要】
【発明が解決しようとする課題】
【0005】
特許文献2に示されるような吐出容器は、HVD容器などと呼ばれ、例えば化粧料など、粘度が比較的高い内容物を収容する用途に多く用いられている。
【0006】
しかし、特許文献1に記載されるような詰替え容器は、容器本体の内部の内容物を外気と置換させつつ詰め替えを行う構成であるため、特許文献2に示されるような吐出容器において、比較的高粘度の内容物を本容器に詰め替えることが困難であり、この点で改善の余地があった。
【0007】
本発明は、このような課題に鑑みてなされたものであり、その目的は、比較的高粘度の内容物を本容器に容易に詰め替えることが可能な詰替え容器及び詰替え方法を提供することにある。
【課題を解決するための手段】
【0008】
本発明の詰替え容器は、本容器に内容物を詰め替えるための詰替え容器であって、筒状の口部を備えた容器本体と、前記口部に装着された吐出キャップと、を有し、前記吐出キャップが、前記口部に装着された有頂筒状の装着部と、内周面に雌ねじを備え、前記装着部の頂壁に一体に設けられた連結筒部と、前記連結筒部の内側において前記装着部の頂壁に一体に設けられ、前記容器本体の内部に連通するノズル部と、を備え、前記容器本体が、前記口部に連なるとともに容易に押潰し可能な胴部を備えていることを特徴とする、詰替え容器。
【0009】
本発明の詰替え容器は、上記構成において、前記容器本体が、チューブ容器であるのが好ましい。
【0010】
本発明の詰替え容器は、上記構成において、前記雌ねじにねじ結合する雄ねじを備え、前記ノズル部の先端を閉塞するオーバーキャップを有するのが好ましい。
(【0011】以降は省略されています)
この特許をJ-PlatPat(特許庁公式サイト)で参照する
関連特許
株式会社吉野工業所
蓋体
1か月前
株式会社吉野工業所
吐出器
1か月前
株式会社吉野工業所
吐出器
28日前
株式会社吉野工業所
吐出容器
28日前
株式会社吉野工業所
吐出容器
28日前
株式会社吉野工業所
注出部材
今日
株式会社吉野工業所
歯ブラシ
1か月前
株式会社吉野工業所
繰出容器
28日前
株式会社吉野工業所
ノズル部材
28日前
株式会社吉野工業所
パウダー容器
今日
株式会社吉野工業所
パウダー容器
28日前
株式会社吉野工業所
スポイト容器
1か月前
株式会社吉野工業所
計量注出容器
1か月前
株式会社吉野工業所
計量注出容器
28日前
株式会社吉野工業所
ねじキャップ
28日前
株式会社吉野工業所
スパウト容器
1か月前
株式会社吉野工業所
計量注出容器
1か月前
株式会社吉野工業所
吐出キャップ
29日前
株式会社吉野工業所
フォーマポンプ
1か月前
株式会社吉野工業所
ブラシ型塗布具
28日前
株式会社吉野工業所
把手付きボトル
28日前
株式会社吉野工業所
合成樹脂製容器
28日前
株式会社吉野工業所
ポンプ式吐出器
1か月前
株式会社吉野工業所
ねじキャップ容器
28日前
株式会社吉野工業所
ポンプ式泡吐出容器
28日前
株式会社吉野工業所
ポンプ携帯ホルダー
28日前
株式会社吉野工業所
トリガー式液体噴出器
28日前
株式会社吉野工業所
トリガー式液体噴出器
28日前
株式会社吉野工業所
携帯補助具を備えた容器
1か月前
株式会社吉野工業所
圧縮ばね部材及び吐出器
1か月前
花王株式会社
吐出容器
1か月前
株式会社吉野工業所
詰替え容器及び詰替え方法
1日前
株式会社吉野工業所
樹脂製品製造方法及び樹脂製品
28日前
株式会社吉野工業所
リフィル容器、および蓋付き容器
1か月前
ホーユー株式会社
エアゾール容器用吐出具
20日前
株式会社吉野工業所
容器、容器の製造方法、及び積層シートのオーバーラップ部の検出方法
28日前
続きを見る
他の特許を見る