TOP
|
特許
|
意匠
|
商標
特許ウォッチ
Twitter
他の特許を見る
公開番号
2025179360
公報種別
公開特許公報(A)
公開日
2025-12-10
出願番号
2024086059
出願日
2024-05-28
発明の名称
パウダー容器
出願人
株式会社吉野工業所
代理人
個人
主分類
A45D
33/00 20060101AFI20251203BHJP(手持品または旅行用品)
要約
【課題】パフに内容物を付着でき、且つ内容物をパウダー容器の外側に注出し易いパウダー容器を提供する。
【解決手段】パウダー容器は、中蓋部材(12)を備え、中蓋部材(12)は、下側中蓋(21)と、下側中蓋(21)に重なる閉状態と下側中蓋(21)から離脱する開状態とに位置することが可能な上側中蓋(22)とを備え、下側中蓋(21)は、下側パフ収納部(27)に形成される第1の注出口(31)及び第2の注出口(32)を備え、上側中蓋(22)は、上側パフ収納部(44)に設けられる孔部(52)を備え、閉状態では、上側パフ収納部(44)によって第1の注出口(31)が塞がれるとともに、孔部(52)から第2の注出口(32)が露出し、開状態において下側パフ収納部(27)にパフ(13)が収納された状態では、第1の注出口(31)及び第2の注出口(32)がパフ(13)によって塞がれる。
【選択図】図1
特許請求の範囲
【請求項1】
粉末状の内容物を収納する容器本体と、前記容器本体の口部を塞ぐ中蓋部材とを備えるパウダー容器であって、
前記中蓋部材は、前記口部の内側に配置されて前記口部を塞ぐ下側中蓋と、前記下側中蓋に上方から重なって前記下側中蓋に当接する閉状態と前記下側中蓋から離脱する開状態とに位置することが可能な上側中蓋とを備え、
前記下側中蓋は、前記開状態で前記下側中蓋の内側に前記内容物の塗布用のパフを収納可能な下側パフ収納部と、前記下側パフ収納部の底部に形成される第1の注出口及び第2の注出口とを備え、
前記上側中蓋は、前記閉状態で前記上側中蓋の内側に前記パフを収納可能な上側パフ収納部と、前記上側パフ収納部の底部に設けられる孔部とを備え、
前記閉状態では、前記上側パフ収納部の前記底部によって前記第1の注出口が塞がれるとともに、前記孔部から前記第2の注出口が露出し、
前記開状態において前記下側パフ収納部に前記パフが収納された状態では、前記第1の注出口及び前記第2の注出口が前記パフによって塞がれるパウダー容器。
続きを表示(約 730 文字)
【請求項2】
前記閉状態で前記上側パフ収納部に前記パフが収納されると、前記孔部が前記パフによって塞がれる請求項1に記載のパウダー容器。
【請求項3】
前記開状態で前記パフを前記下側パフ収納部の中央に配置した場合に、前記下側パフ収納部の内周と前記パフの外周との間には隙間が形成され、
前記第2の注出口は、前記パフの前記外周に対し径方向内側に配置され、
前記パフが前記隙間の分だけ径方向に移動した場合であっても、前記パフは前記第2の注出口を塞ぐ請求項1に記載のパウダー容器。
【請求項4】
前記下側中蓋の径方向において、前記第2の注出口は、前記第1の注出口よりも外側に配置されている請求項1に記載のパウダー容器。
【請求項5】
前記第2の注出口の周縁部から上方に突出する下側筒状突起が設けられ、
前記閉状態において、前記下側筒状突起は前記孔部に嵌合する請求項1に記載のパウダー容器。
【請求項6】
前記上側中蓋は、下方に突出する突起を備え、
前記閉状態では、前記突起は前記第1の注出口に入る請求項1に記載のパウダー容器。
【請求項7】
前記口部に対し着脱可能に取り付けられるキャップを備え、
前記キャップは、前記上側パフ収納部に収納された前記パフを上方から覆う請求項1に記載のパウダー容器。
【請求項8】
前記中蓋部材は、前記下側中蓋と前記上側中蓋とを接続するヒンジ部を備え、
前記上側中蓋は、前記ヒンジ部を中心に揺動して前記開状態及び前記閉状態に開閉される請求項1から7のいずれかに記載のパウダー容器。
発明の詳細な説明
【技術分野】
【0001】
本発明は、パウダー容器に関する。
続きを表示(約 1,700 文字)
【背景技術】
【0002】
従来、粉末状の内容物を収納する容器本体と、容器本体の口部を塞ぐ中蓋部材と、内容物の塗布用のパフとを備えるパウダー容器が知られている(例えば、特許文献1参照)。特許文献1では、中蓋部材が備えるメッシュシートにパフを押し付けて、メッシュシートの開口を通った内容物をパフに付着させることで、パフを使用して内容物を塗布することが可能となる。
【先行技術文献】
【特許文献】
【0003】
特開2018-89013号公報
【発明の概要】
【発明が解決しようとする課題】
【0004】
ところで、特許文献1のパウダー容器では、パフの使用を前提としているが、ブラシなどの他の塗布具を使用して内容物を塗布したい場合がある。この場合、内容物をパウダー容器から別の皿などに注出し、この注出された内容物にブラシを接触させて、ブラシに内容物を付着させることがよく行われる。しかし、パフ専用の開口から内容物を注出すると、内容物が飛散し易いという問題がある。このため、中蓋部材を介してパフに内容物を付着させることができ、且つ、内容物をパウダー容器の外側に注出し易いパウダー容器を提供することが望まれる。
【0005】
このような点に鑑み、本発明は、中蓋部材を介してパフに内容物を付着させることができ、且つ、内容物をパウダー容器の外側に注出し易いパウダー容器を提供することを目的とする。
【課題を解決するための手段】
【0006】
パウダー容器は、粉末状の内容物を収納する容器本体と、前記容器本体の口部を塞ぐ中蓋部材とを備えるパウダー容器であって、前記中蓋部材は、前記口部の内側に配置されて前記口部を塞ぐ下側中蓋と、前記下側中蓋に上方から重なって前記下側中蓋に当接する閉状態と前記下側中蓋から離脱する開状態とに位置することが可能な上側中蓋とを備え、前記下側中蓋は、前記開状態で前記下側中蓋の内側に前記内容物の塗布用のパフを収納可能な下側パフ収納部と、前記下側パフ収納部の底部に形成される第1の注出口及び第2の注出口とを備え、前記上側中蓋は、前記閉状態で前記上側中蓋の内側に前記パフを収納可能な上側パフ収納部と、前記上側パフ収納部の底部に設けられる孔部とを備え、前記閉状態では、前記上側パフ収納部の前記底部によって前記第1の注出口が塞がれるとともに、前記孔部から前記第2の注出口が露出し、前記開状態において前記下側パフ収納部に前記パフが収納された状態では、前記第1の注出口及び前記第2の注出口が前記パフによって塞がれる。
【発明の効果】
【0007】
本発明によれば、中蓋部材を介してパフに内容物を付着させることができ、且つ、内容物をパウダー容器の外側に注出し易いパウダー容器を提供できる。
【図面の簡単な説明】
【0008】
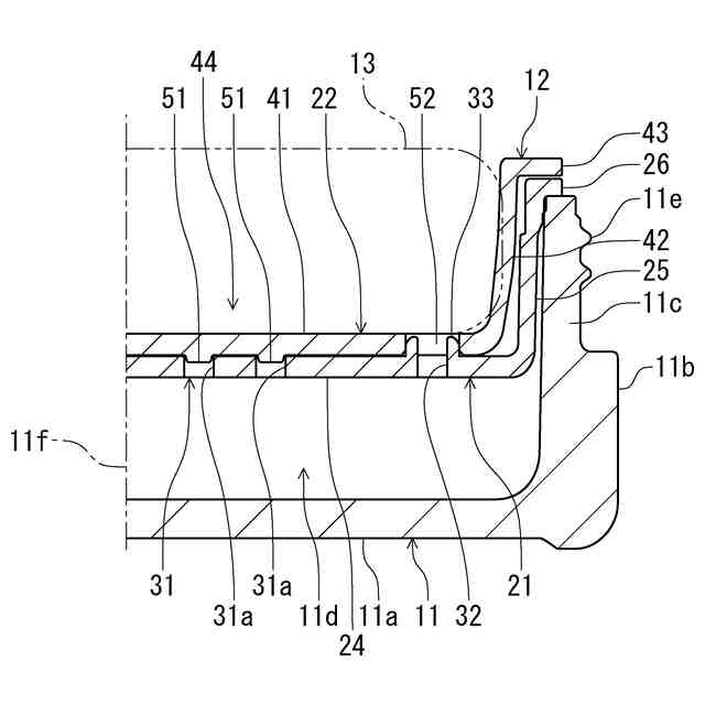
本発明の実施の形態に係るパウダー容器を示す断面図である。
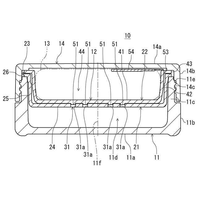
中蓋部材を上方側から見た平面図である。
容器本体に取り付けられた中蓋部材が開状態の場合において図2のIII-III断面に相当する断面図である。
容器本体に取り付けられた中蓋部材が閉状態の場合において図2のIII-III断面に相当する断面図である。
孔部を介し第2の注出口から内容物を注出している状態を示す図である。
中蓋部材を開状態としてパフに内容物を付着させている状態を示す図である。
【発明を実施するための形態】
【0009】
以下、図面を参照しながら、本発明に従うパウダー容器の実施形態について説明する。
図1は、本発明の実施の形態に係るパウダー容器10を示す断面図である。
【0010】
パウダー容器10は、内容物(不図示)を収納する容器本体11と、容器本体11の上部に取り付けられる中蓋部材12と、内容物の塗布用のパフ13と、中蓋部材12に収納されたパフ13を上方から覆うキャップ14とを備える。
(【0011】以降は省略されています)
この特許をJ-PlatPat(特許庁公式サイト)で参照する
関連特許
株式会社吉野工業所
蓋体
1か月前
株式会社吉野工業所
吐出器
28日前
株式会社吉野工業所
吐出器
1か月前
株式会社吉野工業所
吐出容器
28日前
株式会社吉野工業所
繰出容器
28日前
株式会社吉野工業所
歯ブラシ
1か月前
株式会社吉野工業所
吐出容器
28日前
株式会社吉野工業所
吐出容器
2か月前
株式会社吉野工業所
注出部材
今日
株式会社吉野工業所
ノズル部材
28日前
株式会社吉野工業所
スパウト容器
1か月前
株式会社吉野工業所
パウダー容器
28日前
株式会社吉野工業所
計量注出容器
1か月前
株式会社吉野工業所
計量注出容器
1か月前
株式会社吉野工業所
削り出し容器
2か月前
株式会社吉野工業所
スポイト容器
1か月前
株式会社吉野工業所
吐出キャップ
29日前
株式会社吉野工業所
パウダー容器
今日
株式会社吉野工業所
ねじキャップ
28日前
株式会社吉野工業所
計量注出容器
28日前
株式会社吉野工業所
合成樹脂製容器
28日前
株式会社吉野工業所
把手付きボトル
28日前
株式会社吉野工業所
ブラシ型塗布具
28日前
株式会社吉野工業所
フォーマポンプ
1か月前
株式会社吉野工業所
ポンプ式吐出器
2か月前
株式会社吉野工業所
コンパクト容器
2か月前
株式会社吉野工業所
ポンプ式吐出器
1か月前
株式会社吉野工業所
ねじキャップ容器
28日前
株式会社吉野工業所
ポンプ携帯ホルダー
28日前
株式会社吉野工業所
ポンプ式泡吐出容器
28日前
株式会社吉野工業所
トリガー式液体噴出器
28日前
株式会社吉野工業所
トリガー式液体噴出器
28日前
花王株式会社
吐出容器
1か月前
株式会社吉野工業所
携帯補助具を備えた容器
1か月前
株式会社吉野工業所
圧縮ばね部材及び吐出器
1か月前
花王株式会社
吐出容器
1か月前
続きを見る
他の特許を見る