TOP
|
特許
|
意匠
|
商標
特許ウォッチ
Twitter
他の特許を見る
公開番号
2025168831
公報種別
公開特許公報(A)
公開日
2025-11-12
出願番号
2024073625
出願日
2024-04-30
発明の名称
トリガー式液体噴出器
出願人
株式会社吉野工業所
代理人
個人
,
個人
,
個人
,
個人
主分類
B05B
11/00 20230101AFI20251105BHJP(霧化または噴霧一般;液体または他の流動性材料の表面への適用一般)
要約
【課題】トリガー式液体噴出器のバネ受けの外れを抑制する。
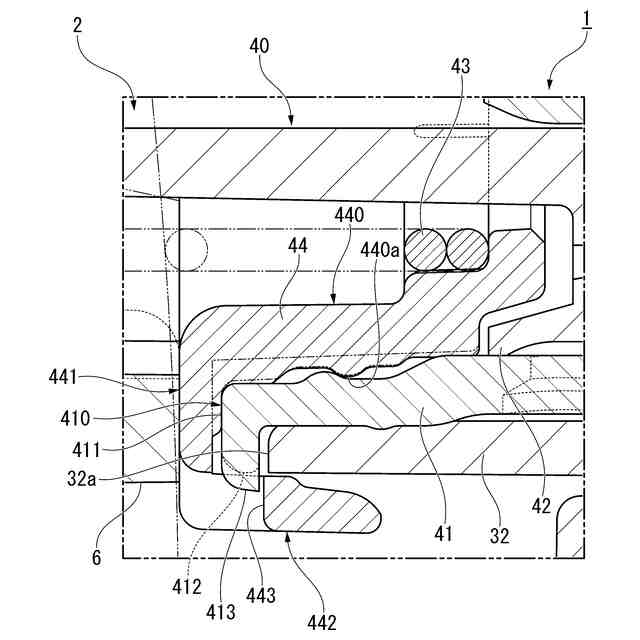
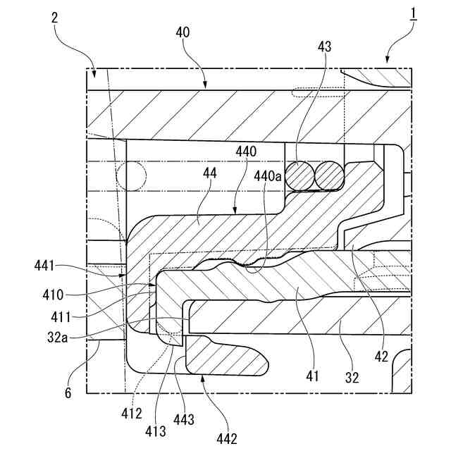
【解決手段】トリガー式液体噴出器1は、トリガー部の後方への移動によって、液体を噴出孔側に向けて流通させるトリガー機構40を備え、トリガー機構40は、シリンダ41と、ピストン42と、バネ受け44と、付勢部材43と、を備え、バネ受け44は、シリンダ41の前端開口部410の前端面411を覆うフランジ部441と、フランジ部441の径方向外側に連設され、シリンダ41の前端開口部410の外周面412を囲う囲繞筒部442と、囲繞筒部442を径方向に貫通する複数の係合孔443と、を備え、シリンダ41は、複数の係合孔443に対し、径方向に差し込まれた複数の係合突起413を備える。
【選択図】図2
特許請求の範囲
【請求項1】
液体が収容された容器体に装着される噴出器本体と、
前記噴出器本体に装着され、液体を噴出する噴出孔が形成されたノズル部材と、を備え、
前記噴出器本体は、
前記容器体内の液体を吸い上げる縦供給筒部と、
前方付勢状態で後方に移動可能に配設されたトリガー部を有し、前記トリガー部の後方への移動によって、液体を前記縦供給筒部内から前記噴出孔側に向けて流通させるトリガー機構と、を備え、
前記トリガー機構は、
前端が開口すると共に後端が前記縦供給筒部の内部に連通するシリンダと、
前記トリガー部に連結され、前記シリンダの内部に前後方向に移動可能に配置されたピストンと、
前記シリンダの前端開口部に装着されたバネ受けと、
前記バネ受けと前記トリガー部との間に配置され、前記トリガー部を前方に向けて付勢する付勢部材と、を備え、
前記バネ受けは、
前記シリンダの前端開口部の前端面を覆うフランジ部と、
前記フランジ部の径方向外側に連設され、前記シリンダの前端開口部の外周面を囲う囲繞筒部と、
前記囲繞筒部を径方向に貫通する複数の係合孔と、を備え、
前記シリンダは、前記複数の係合孔に対し、径方向に差し込まれた複数の係合突起を備える、
トリガー式液体噴出器。
続きを表示(約 100 文字)
【請求項2】
前記複数の係合孔及び前記複数の係合突起の一部は、前記シリンダの前端開口部の頂部を除く上半分の領域の左右両側に配置されている、
請求項1に記載のトリガー式液体噴出器。
発明の詳細な説明
【技術分野】
【0001】
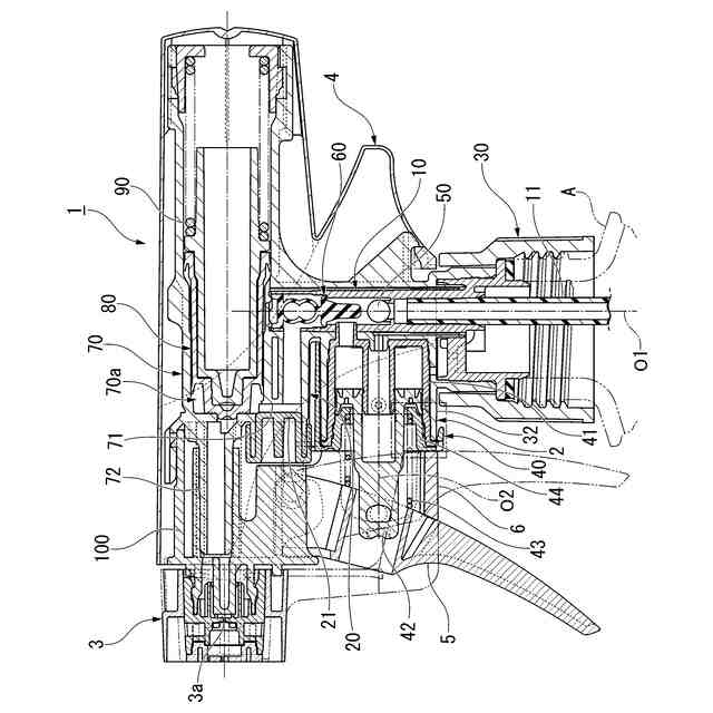
本発明は、トリガー式液体噴出器に関する。
続きを表示(約 1,600 文字)
【背景技術】
【0002】
トリガー部材の操作によって容器体内から液体を吸い上げ、噴出孔を通じて液体を噴出するトリガー式液体噴出器が知られている。下記特許文献1に記載されたトリガー式液体噴出器は、トリガー部を前方に向けて付勢する付勢部材と、主シリンダの前方の開口部に装着され、付勢部材の後端を受けるバネ受けと、を備えている。
【先行技術文献】
【特許文献】
【0003】
特開2023-98189号公報
【発明の概要】
【発明が解決しようとする課題】
【0004】
上記トリガー式液体噴出器では、バネ受けが主シリンダの前端開口部の内側にアンダーカット嵌合されているが、嵌合強度が弱く、輸送中にバネ受けが主シリンダから外れてしまうことがあった。また、トリガー部が左右方向から押されると、バネ受けがこじられて主シリンダから外れてしまうことがあった。バネ受けが外れてしまうと、液漏れ等に繋がるため、バネ受けが簡単に外れない構造が求められている。
【0005】
本発明は、このような事情に鑑みてなされたものであって、その目的は、トリガー式液体噴出器のバネ受けの外れを抑制することである。
【課題を解決するための手段】
【0006】
(1)本発明に係るトリガー式液体噴出器は、液体が収容された容器体に装着される噴出器本体と、前記噴出器本体に装着され、液体を噴出する噴出孔が形成されたノズル部材と、を備え、前記噴出器本体は、前記容器体内の液体を吸い上げる縦供給筒部と、前方付勢状態で後方に移動可能に配設されたトリガー部を有し、前記トリガー部の後方への移動によって、液体を前記縦供給筒部内から前記噴出孔側に向けて流通させるトリガー機構と、を備え、前記トリガー機構は、前端が開口すると共に後端が前記縦供給筒部の内部に連通するシリンダと、前記トリガー部に連結され、前記シリンダの内部に前後方向に移動可能に配置されたピストンと、前記シリンダの前端開口部に装着されたバネ受けと、前記バネ受けと前記トリガー部との間に配置され、前記トリガー部を前方に向けて付勢する付勢部材と、を備え、前記バネ受けは、前記シリンダの前端開口部の前端面を覆うフランジ部と、前記フランジ部の径方向外側に連設され、前記シリンダの前端開口部の外周面を囲う囲繞筒部と、前記囲繞筒部を径方向に貫通する複数の係合孔と、を備え、前記シリンダは、前記複数の係合孔に対し、径方向に差し込まれた複数の係合突起を備える。
【0007】
本発明に係るトリガー式液体噴出器によれば、シリンダの前端開口部に装着されたバネ受けが、シリンダの前端開口部の前端面を覆いつつ径方向外側まで延出し、後方に折り返されて、シリンダの前端開口部の外周面を径方向外側から囲っている。バネ受けには、径方向に貫通する複数の係合孔が形成され、シリンダは、これら複数の係合孔に対し、径方向に差し込まれた複数の係合突起を備えている。このため、バネ受けとシリンダとが噛み合う構造となり、嵌合強度が大幅に増加する。これにより、シリンダの前端開口部からバネ受けが外れ難くなり、液漏れ等の発生を防止できる。
【0008】
(2)前記複数の係合孔及び前記複数の係合突起の一部は、前記シリンダの前端開口部の頂部を除く上半分の領域の左右両側に配置されていてもよい。
【0009】
この場合には、シリンダの前端開口部に対して斜め上からの力がかかったときに、シリンダの前端開口部からバネ受けがより外れ難くなる。
【発明の効果】
【0010】
本発明に係るトリガー式液体噴出器によれば、バネ受けの外れを抑制できる。
【図面の簡単な説明】
(【0011】以降は省略されています)
この特許をJ-PlatPat(特許庁公式サイト)で参照する
関連特許
株式会社吉野工業所
蓋体
1か月前
株式会社吉野工業所
吐出器
1か月前
株式会社吉野工業所
吐出器
25日前
株式会社吉野工業所
歯ブラシ
1か月前
株式会社吉野工業所
吐出容器
1か月前
株式会社吉野工業所
吐出容器
25日前
株式会社吉野工業所
吐出容器
25日前
株式会社吉野工業所
二重容器
1か月前
株式会社吉野工業所
繰出容器
25日前
株式会社吉野工業所
塗布容器
1か月前
株式会社吉野工業所
塗布容器
1か月前
株式会社吉野工業所
ノズル部材
25日前
株式会社吉野工業所
吐出ポンプ
1か月前
株式会社吉野工業所
計量注出容器
1か月前
株式会社吉野工業所
スポイト容器
1か月前
株式会社吉野工業所
吐出キャップ
26日前
株式会社吉野工業所
計量注出容器
1か月前
株式会社吉野工業所
パウダー容器
25日前
株式会社吉野工業所
削り出し容器
1か月前
株式会社吉野工業所
スパウト容器
1か月前
株式会社吉野工業所
計量注出容器
25日前
株式会社吉野工業所
ねじキャップ
25日前
株式会社吉野工業所
スポイト容器
1か月前
株式会社吉野工業所
コンパクト容器
1か月前
株式会社吉野工業所
ポンプ式吐出器
1か月前
株式会社吉野工業所
ポンプ式吐出器
1か月前
株式会社吉野工業所
ポンプ式吐出器
1か月前
株式会社吉野工業所
把手付きボトル
1か月前
株式会社吉野工業所
合成樹脂製容器
25日前
株式会社吉野工業所
フォーマポンプ
1か月前
株式会社吉野工業所
ブラシ型塗布具
25日前
株式会社吉野工業所
ポンプ式吐出器
1か月前
株式会社吉野工業所
把手付きボトル
25日前
株式会社吉野工業所
合成樹脂製壜体
1か月前
株式会社吉野工業所
ねじキャップ容器
25日前
株式会社吉野工業所
ポンプ式吐出容器
1か月前
続きを見る
他の特許を見る