TOP
|
特許
|
意匠
|
商標
特許ウォッチ
Twitter
他の特許を見る
公開番号
2025153396
公報種別
公開特許公報(A)
公開日
2025-10-10
出願番号
2024055866
出願日
2024-03-29
発明の名称
塗布容器
出願人
株式会社吉野工業所
代理人
個人
,
個人
,
個人
,
個人
主分類
B65D
47/42 20060101AFI20251002BHJP(運搬;包装;貯蔵;薄板状または線条材料の取扱い)
要約
【課題】一度の塗布操作で吐出される内容液の量を適量に抑える構成を得るために変更する部品数を抑える。
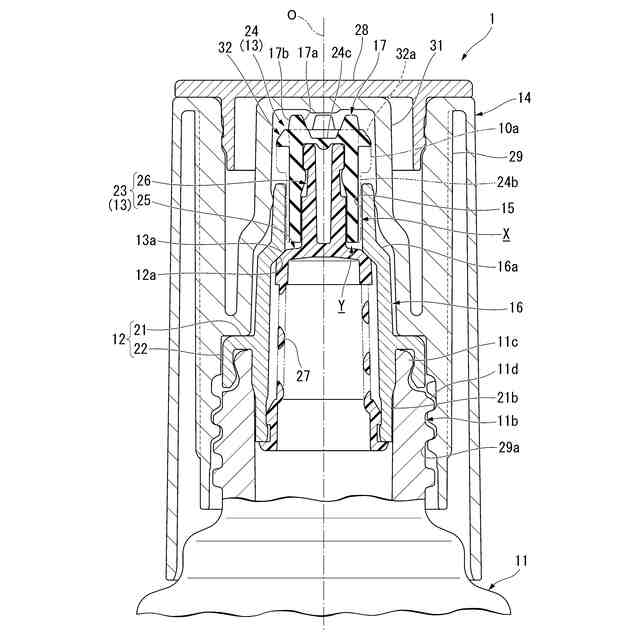
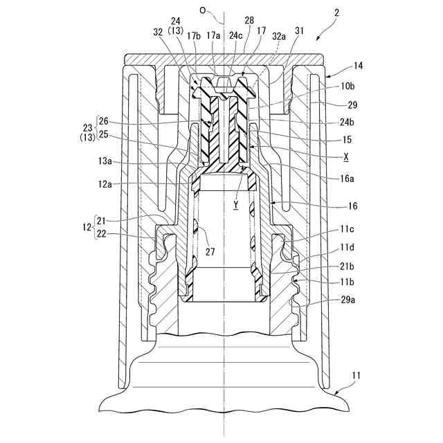
【解決手段】塗布栓13には、塗布部24と基部23とが備えられ、塗布部の外周面と吐出孔15の内周面との間に流通路Xが設けられ、基部には、板部25と支持突部26とが備えられ、板部の上面に、中栓12の内面における吐出孔15の開口周縁部に対して下方に向けて離反可能に当接し、流通路と容器本体11内との連通を遮断する環状シール部13aが設けられ、支持突部は、板部の上面のうち、環状シール部より径方向の内側に位置する部分に設けられ、塗布部のうち、吐出孔から上方に突出した部分の外周面に、径方向の外側に向けて突出するリブ10aが周方向に間隔をあけて複数形成され、塗布栓が下方に移動したときに、リブが中栓に当接、若しくは近接し、吐出孔の上端開口が狭められる。
【選択図】図1
特許請求の範囲
【請求項1】
口部を有する有底筒状の容器本体と、
前記口部に装着されるとともに、前記容器本体内に連通する吐出孔が形成された中栓と、
前記吐出孔に上方付勢状態で下方移動可能に挿入された塗布栓と、を備え、
前記塗布栓には、
前記吐出孔に挿入された有頂筒状の塗布部と、
前記塗布部を支持する基部と、が備えられ、
前記塗布部の外周面と前記吐出孔の内周面との間に、前記容器本体内の内容液が流通する流通路が設けられ、
前記基部には、表裏面が上下方向を向く板部と、前記板部から上方に向けて延び、前記塗布部内に嵌合された支持突部と、が備えられ、
前記板部の上面に、前記中栓の内面における前記吐出孔の開口周縁部に対して下方に向けて離反可能に当接し、前記流通路と前記容器本体内との連通を遮断する環状シール部が設けられ、
前記支持突部は、前記板部の上面のうち、前記環状シール部より径方向の内側に位置する部分に設けられ、
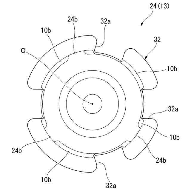
前記塗布部のうち、前記吐出孔から上方に突出した部分の外周面に、径方向の外側に向けて突出するリブが周方向に間隔をあけて複数形成され、
前記塗布栓が下方に移動したときに、前記リブが前記中栓に当接、若しくは近接し、前記吐出孔の上端開口が狭められる、塗布容器。
続きを表示(約 330 文字)
【請求項2】
前記リブは、前記塗布栓が下方に移動したときに前記中栓の外面における前記吐出孔の開口周縁部に当接する、請求項1に記載の塗布容器。
【請求項3】
前記塗布部のうち、前記吐出孔から上方に突出した部分の外周面に、径方向の外側に向けて突出し、周方向の全長にわたって連続して延びるフランジ部が形成され、
前記フランジ部には、上下方向に貫く縦孔が周方向に間隔をあけて複数形成され、
前記リブは、前記フランジ部の下面から下方に向けて延び、かつ前記縦孔から周方向に離れている、請求項2に記載の塗布容器。
【請求項4】
前記リブは、前記塗布栓が下方に移動したときに前記吐出孔に進入する、請求項1に記載の塗布容器。
発明の詳細な説明
【技術分野】
【0001】
本発明は、塗布容器に関する。
続きを表示(約 1,900 文字)
【背景技術】
【0002】
従来から、口部を有する有底筒状の容器本体と、口部に装着されるとともに、容器本体内に連通する吐出孔が形成された中栓と、吐出孔に上方付勢状態で下方移動可能に挿入された塗布栓と、を備え、塗布栓には、吐出孔に挿入された有頂筒状の塗布部と、塗布部を支持する基部と、が備えられ、塗布部の頂壁を被塗布部に押し当てて、塗布栓を下方移動させることで、内容液が吐出孔から吐出されて被塗布部に塗布される塗布容器が知られている。
塗布容器として、例えば下記特許文献1に示されるように、一度の塗布操作で吐出される内容液の量を適量に抑える構成が知られている。
【先行技術文献】
【特許文献】
【0003】
特開2023-045152号公報
【発明の概要】
【発明が解決しようとする課題】
【0004】
前記従来の塗布容器では、塗布栓のこれ以上の下方移動を規制する規制部材を、中栓に上下動可能に設けたり、規制部材を中栓と一体に形成し、かつ塗布部を基部に上下動可能に設けたりすることによって、塗布栓の下降端位置を上方に変更できるように構成されている。前者の場合、規制部材の新設、および中栓の設計変更が必要となり、後者の場合、中栓および塗布部それぞれの設計変更が必要となる。
したがって、一度の塗布操作で吐出される内容液の量を適量に抑える構成を得るために変更する部品数を抑えることに改善の余地があった。
【0005】
本発明は、一度の塗布操作で吐出される内容液の量を適量に抑える構成を得るために変更する部品数を抑えることができる塗布容器を提供する。
【課題を解決するための手段】
【0006】
本発明の一態様に係る塗布容器は、口部を有する有底筒状の容器本体と、前記口部に装着されるとともに、前記容器本体内に連通する吐出孔が形成された中栓と、前記吐出孔に上方付勢状態で下方移動可能に挿入された塗布栓と、を備え、前記塗布栓には、前記吐出孔に挿入された有頂筒状の塗布部と、前記塗布部を支持する基部と、が備えられ、前記塗布部の外周面と前記吐出孔の内周面との間に、前記容器本体内の内容液が流通する流通路が設けられ、前記基部には、表裏面が上下方向を向く板部と、前記板部から上方に向けて延び、前記塗布部内に嵌合された支持突部と、が備えられ、前記板部の上面に、前記中栓の内面における前記吐出孔の開口周縁部に対して下方に向けて離反可能に当接し、前記流通路と前記容器本体内との連通を遮断する環状シール部が設けられ、前記支持突部は、前記板部の上面のうち、前記環状シール部より径方向の内側に位置する部分に設けられ、前記塗布部のうち、前記吐出孔から上方に突出した部分の外周面に、径方向の外側に向けて突出するリブが周方向に間隔をあけて複数形成され、前記塗布栓が下方に移動したときに、前記リブが前記中栓に当接、若しくは近接し、前記吐出孔の上端開口が狭められる。
【0007】
塗布部のうち、吐出孔から上方に突出した部分の外周面に、径方向の外側に向けて突出するリブが周方向に間隔をあけて複数形成され、塗布栓が下方に移動したときに、リブが中栓に当接、若しくは近接し、吐出孔の上端開口が狭められるので、一度の塗布操作で吐出可能な内容液の量が抑えられる。このような構成がリブを有する塗布部に交換するだけで得られることとなり、一度の塗布操作で吐出される内容液の量を適量に抑える構成を得るために変更する部品数を抑えることができる。
【0008】
前記リブは、前記塗布栓が下方に移動したときに前記中栓の外面における前記吐出孔の開口周縁部に当接してもよい。
【0009】
リブが、塗布栓が下方に移動したときに中栓の外面における吐出孔の開口周縁部に当接するので、塗布栓のこれ以上の下方移動が規制されることとなり、一度の塗布操作で吐出可能な内容液の量を確実に抑えることができる。
【0010】
前記塗布部のうち、前記吐出孔から上方に突出した部分の外周面に、径方向の外側に向けて突出し、周方向の全長にわたって連続して延びるフランジ部が形成され、前記フランジ部には、上下方向に貫く縦孔が周方向に間隔をあけて複数形成され、前記リブは、前記フランジ部の下面から下方に向けて延び、かつ前記縦孔から周方向に離れていてもよい。
(【0011】以降は省略されています)
この特許をJ-PlatPat(特許庁公式サイト)で参照する
関連特許
株式会社吉野工業所
蓋体
1か月前
株式会社吉野工業所
吐出器
1か月前
株式会社吉野工業所
吐出器
25日前
株式会社吉野工業所
歯ブラシ
1か月前
株式会社吉野工業所
吐出容器
25日前
株式会社吉野工業所
吐出容器
25日前
株式会社吉野工業所
繰出容器
25日前
株式会社吉野工業所
ノズル部材
25日前
株式会社吉野工業所
パウダー容器
25日前
株式会社吉野工業所
スポイト容器
1か月前
株式会社吉野工業所
計量注出容器
1か月前
株式会社吉野工業所
計量注出容器
25日前
株式会社吉野工業所
スパウト容器
1か月前
株式会社吉野工業所
ねじキャップ
25日前
株式会社吉野工業所
計量注出容器
1か月前
株式会社吉野工業所
吐出キャップ
26日前
株式会社吉野工業所
ポンプ式吐出器
1か月前
株式会社吉野工業所
フォーマポンプ
1か月前
株式会社吉野工業所
ポンプ式吐出器
1か月前
株式会社吉野工業所
合成樹脂製容器
25日前
株式会社吉野工業所
把手付きボトル
25日前
株式会社吉野工業所
ブラシ型塗布具
25日前
株式会社吉野工業所
ねじキャップ容器
25日前
株式会社吉野工業所
ポンプ式泡吐出容器
25日前
株式会社吉野工業所
ポンプ携帯ホルダー
25日前
株式会社吉野工業所
トリガー式液体噴出器
25日前
株式会社吉野工業所
トリガー式液体噴出器
25日前
株式会社吉野工業所
携帯補助具を備えた容器
1か月前
株式会社吉野工業所
圧縮ばね部材及び吐出器
1か月前
花王株式会社
吐出容器
1か月前
花王株式会社
吐出容器
1か月前
株式会社吉野工業所
樹脂製品製造方法及び樹脂製品
25日前
株式会社吉野工業所
リフィル容器、および蓋付き容器
1か月前
ホーユー株式会社
エアゾール容器用吐出具
17日前
株式会社吉野工業所
容器、容器の製造方法、及び積層シートのオーバーラップ部の検出方法
25日前
個人
束ね具
26日前
続きを見る
他の特許を見る