TOP
|
特許
|
意匠
|
商標
特許ウォッチ
Twitter
他の特許を見る
公開番号
2025154051
公報種別
公開特許公報(A)
公開日
2025-10-10
出願番号
2024056834
出願日
2024-03-29
発明の名称
塗布容器
出願人
株式会社吉野工業所
代理人
個人
,
個人
,
個人
,
個人
主分類
B65D
47/42 20060101AFI20251002BHJP(運搬;包装;貯蔵;薄板状または線条材料の取扱い)
要約
【課題】内容物を簡単且つ安定して塗布することができ、操作性に優れた使い勝手の良い塗布容器を提供すること。
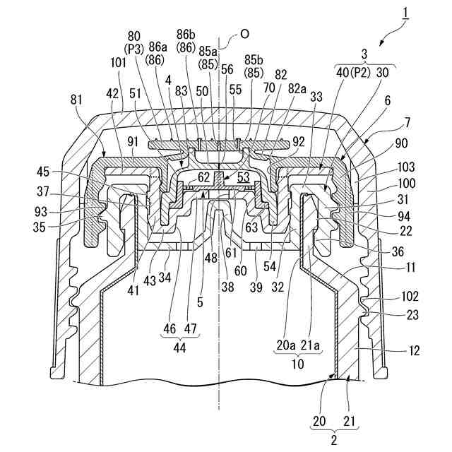
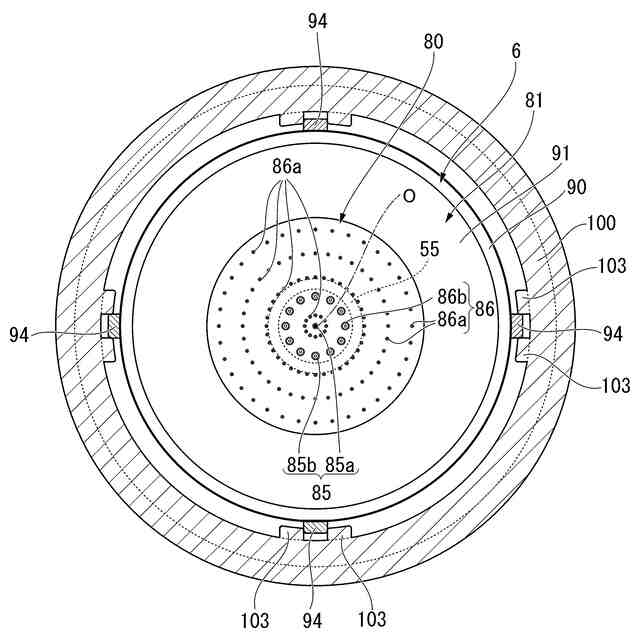
【解決手段】内容物が収容される容器本体2と、連通孔48を有する中栓部材3と、中栓部材との間に連通孔に連通する貯留室53を形成する弾性筒部4と、連通孔を離反可能に閉塞する弁体5と、待機位置P3から下方に向けて押し込まれた塗布位置に向けて移動可能な塗布板80を有する塗布部材6とを備え、塗布部材は塗布板を上下移動可能に支持する弾性連結片82を備え、弾性筒部は、待機位置から塗布位置に向けた塗布板の移動に伴って弾性変形可能とされ、弾性筒部の頂部には、塗布板を下方から支持する支持筒55と、貯留室内と支持筒内とを連通及び遮断するスリット56とが形成され、スリットは弾性筒部の弾性変形時に拡開し、塗布板には、支持筒内と外部を連通する吐出孔85が形成されている塗布容器1を提供する。
【選択図】図2
特許請求の範囲
【請求項1】
内容物が収容される容器本体と、
前記容器本体の口部に装着され、前記容器本体内に連通する連通孔が形成された中栓部材と、
前記連通孔を上方から覆う有頂筒状に形成され、前記中栓部材との間に前記連通孔に連通する貯留室を形成する弾性筒部と、
前記中栓部材と前記弾性筒部との間に設けられ、前記連通孔を離反可能に閉塞すると共に、前記貯留室の内圧に応じて前記連通孔を通じた前記容器本体内と前記貯留室内との連通及びその遮断を切り換える弁体と、
前記弾性筒部よりも上方に配置されると共に、待機位置から下方に向けて押し込まれた塗布位置に向けて移動可能に配置された塗布板を有する塗布部材と、を備え、
前記塗布部材は、
前記中栓部材に組み合わされた筒体と、
前記塗布板と前記筒体とを弾性変位可能に連結すると共に、前記待機位置と前記塗布位置との間で前記塗布板を上下移動可能に支持する弾性連結片と、を備え、
前記弾性筒部は、前記待機位置から前記塗布位置に向けた前記塗布板の移動に伴って下方に向けて弾性変形可能とされ、
前記弾性筒部の頂部には、上方に向けて突出すると共に前記塗布板を下方から支持する支持筒と、前記貯留室内と前記支持筒内とを連通及び遮断するスリットとが形成され、
前記スリットは、前記弾性筒部の弾性変形時に拡開し、
前記塗布板には、前記支持筒内と外部を連通する吐出孔が形成されていることを特徴とする塗布容器。
続きを表示(約 770 文字)
【請求項2】
請求項1に記載の塗布容器において、
前記貯留室内には、前記塗布板が前記塗布位置に位置したときに、弾性変形した前記弾性筒部の前記頂部を下方から押し上げて前記スリットを拡開させる突起部が設けられている、塗布容器。
【請求項3】
請求項1に記載の塗布容器において、
前記塗布板の上面には、上方に向けて突出した複数の微小突起が形成され、
複数の前記微小突起の少なくとも1つには、前記吐出孔が開口している、塗布容器。
【請求項4】
請求項1に記載の塗布容器において、
前記容器本体に装着され、前記塗布板を上方から覆う有頂筒状の装着キャップを備え、
前記中栓部材は、
前記容器本体の口部に固定されると共に、前記容器本体内に連通した貫通孔が形成された固定中栓と、
前記固定中栓よりも上方に配置された状態で前記固定中栓に対して上下方向に移動可能に組み合わされると共に、前記弾性筒部、前記弁体及び前記塗布部材が組み合わされた可動中栓と、を備え、
前記連通孔は、前記可動中栓に形成され、前記貫通孔を通じて前記容器本体内に連通し、
前記可動中栓は、前記容器本体に対する前記装着キャップの取り外しに伴って上方移動し、
前記固定中栓には、前記連通孔を閉塞すると共に、前記可動中栓の上方移動時に前記連通孔を開放する栓体が設けられている、塗布容器。
【請求項5】
請求項1に記載の塗布容器において、
前記容器本体は、
内容物が収容されると共に内容物の減少に伴い減容する内容器と、
前記内容器が内装され、前記内容器との間に外気を吸入する吸気孔が設けられた外容器と、を備えている、塗布容器。
発明の詳細な説明
【技術分野】
【0001】
本発明は、塗布容器に関する。
続きを表示(約 2,400 文字)
【背景技術】
【0002】
従来から、薬液等の内容物を例えば人体の頭皮や皮膚等の被塗布部に対して塗布する塗布容器が知られている。
この種の塗布容器に関連する技術として、例えば特許文献1に記載された液体注入具が知られている。この液体注入具は、内部に内容物(液体)を収容する筒状の軸部と、軸部に組み合わされたマイクロニードル部と、軸部の内部に収容されたピストンを有する吐出部と、を備えている。
マイクロニードル部は、軸部の内部に連通した貫通孔を有する複数の第1マイクロニードルと、複数の第2マイクロニードルとが設けられた本体部を有している。吐出部は、使用者によってボタンが押下げ操作される毎にピストンをマイクロニードル部側に向けて移動させる定量移動部を有し、貫通孔を通じて内容物を吐出させる機能を有している。
【0003】
この液体注入具では、第1マイクロニードル及び第2マイクロニードルを被塗布部に対して押し付けながら、ボタンを押下げ操作することで、ピストンを移動させる。これにより、貫通孔を通じて内容物を被塗布部に塗布することが可能となる。
【先行技術文献】
【特許文献】
【0004】
特開2023-147466号公報
【発明の概要】
【発明が解決しようとする課題】
【0005】
しかしながら上記従来の液体注入具では、第1マイクロニードル及び第2マイクロニードルを被塗布部に対して押し付けた状態を維持しながら、さらに吐出部のボタンを押下げ操作する必要があるので、異なる操作を別々に行う必要がある。従って、使い勝手が悪く、操作性に課題が残されていた。
さらに、異なる操作を別々に行うので、例えばボタンを押下げ操作する際に、被塗布部に対する第1マイクロニードル及び第2マイクロニードルの押し付けが不十分になる場合があり、内容物の塗布を安定して行うことが難しい場合があった。
【0006】
本発明は、このような事情に鑑みてなされたものであって、その目的は、内容物を簡単且つ安定して塗布することができ、操作性に優れた使い勝手の良い塗布容器を提供することである。
【課題を解決するための手段】
【0007】
(1)本発明に係る塗布容器は、内容物が収容される容器本体と、前記容器本体の口部に装着され、前記容器本体内に連通する連通孔が形成された中栓部材と、前記連通孔を上方から覆う有頂筒状に形成され、前記中栓部材との間に前記連通孔に連通する貯留室を形成する弾性筒部と、前記中栓部材と前記弾性筒部との間に設けられ、前記連通孔を離反可能に閉塞すると共に、前記貯留室の内圧に応じて前記連通孔を通じた前記容器本体内と前記貯留室内との連通及びその遮断を切り換える弁体と、前記弾性筒部よりも上方に配置されると共に、待機位置から下方に向けて押し込まれた塗布位置に向けて移動可能に配置された塗布板を有する塗布部材と、を備え、前記塗布部材は、前記中栓部材に組み合わされた筒体と、前記塗布板と前記筒体とを弾性変位可能に連結すると共に、前記待機位置と前記塗布位置との間で前記塗布板を上下移動可能に支持する弾性連結片と、を備え、前記弾性筒部は、前記待機位置から前記塗布位置に向けた前記塗布板の移動に伴って下方に向けて弾性変形可能とされ、前記弾性筒部の頂部には、上方に向けて突出すると共に前記塗布板を下方から支持する支持筒と、前記貯留室内と前記支持筒内とを連通及び遮断するスリットとが形成され、前記スリットは、前記弾性筒部の弾性変形時に拡開し、前記塗布板には、前記支持筒内と外部を連通する吐出孔が形成されていることを特徴とする。
【0008】
本発明に係る塗布容器によれば、内容物を塗布する場合には、塗布部材の塗布板を被塗布部に押し付けることで、塗布板を押込み操作することができ、弾性連結片を弾性変位させながら塗布板を待機位置から塗布位置に移動させることができる。これにより、塗布板の移動に伴って弾性筒部を下方に向けて弾性変形させることができ、スリットを拡開させることができる。従って、スリットを通じて貯留室内と支持筒内とを連通させることができる。これと同時に、塗布板の押込み操作による弾性筒部の弾性変形に伴って貯留室の内圧を加圧することができる。従って、貯留室内に貯留されていた内容物を、スリットを通じて支持筒内に流動させ、さらに支持筒内から吐出孔を通じて外部に吐出することができる。その結果、塗布板を利用して、吐出した内容物を被塗布部に塗布することができる。
【0009】
なお内容物の吐出の際、貯留室の内圧が加圧されるので、弁体は連通孔を閉塞した閉弁状態を維持する。従って、連通孔を通じた容器本体内と貯留室内との連通を遮断することができる。これにより、塗布板の押込み操作によって、貯留室内に貯留されている分の内容物だけを塗布することができる。
【0010】
次いで、塗布板の押込み操作を解除すると、弾性筒部が弾性復元変形することに加えて、弾性連結片が弾性復元変形する。これにより、塗布板を塗布位置から待機位置に復元変位することができる。この際、弾性筒部の弾性復元変形の初期段階でスリットを閉じて閉弁させることができるので、スリットを通じた貯留室内と支持筒内との連通を遮断することができる。
従って、その後の弾性筒部の弾性復元変形によって、貯留室の内圧を速やかに負圧にすることができる。これにより、弁体を速やかに開弁させることができ、連通孔を通じて容器本体内から貯留室内に向けて十分な量の内容物を流入させることができる。従って、次回の吐出に必要な十分な量の内容物を適切に貯留室内に貯留することができ、次回以降の安定した吐出を行うことができる。
(【0011】以降は省略されています)
この特許をJ-PlatPat(特許庁公式サイト)で参照する
関連特許
株式会社吉野工業所
蓋体
1か月前
株式会社吉野工業所
吐出器
25日前
株式会社吉野工業所
吐出器
1か月前
株式会社吉野工業所
塗布容器
1か月前
株式会社吉野工業所
吐出容器
1か月前
株式会社吉野工業所
歯ブラシ
1か月前
株式会社吉野工業所
塗布容器
1か月前
株式会社吉野工業所
繰出容器
25日前
株式会社吉野工業所
吐出容器
25日前
株式会社吉野工業所
吐出容器
25日前
株式会社吉野工業所
吐出ポンプ
1か月前
株式会社吉野工業所
ノズル部材
25日前
株式会社吉野工業所
ねじキャップ
25日前
株式会社吉野工業所
削り出し容器
1か月前
株式会社吉野工業所
計量注出容器
1か月前
株式会社吉野工業所
スポイト容器
1か月前
株式会社吉野工業所
スポイト容器
1か月前
株式会社吉野工業所
吐出キャップ
26日前
株式会社吉野工業所
スパウト容器
1か月前
株式会社吉野工業所
パウダー容器
25日前
株式会社吉野工業所
計量注出容器
25日前
株式会社吉野工業所
計量注出容器
1か月前
株式会社吉野工業所
ポンプ式吐出器
1か月前
株式会社吉野工業所
フォーマポンプ
1か月前
株式会社吉野工業所
合成樹脂製容器
25日前
株式会社吉野工業所
ブラシ型塗布具
25日前
株式会社吉野工業所
ポンプ式吐出器
1か月前
株式会社吉野工業所
コンパクト容器
1か月前
株式会社吉野工業所
把手付きボトル
25日前
株式会社吉野工業所
ポンプ式吐出容器
1か月前
株式会社吉野工業所
ねじキャップ容器
25日前
株式会社吉野工業所
キャップ付き吐出栓
1か月前
株式会社吉野工業所
ポンプ式泡吐出容器
25日前
株式会社吉野工業所
ポンプ携帯ホルダー
25日前
株式会社吉野工業所
トリガー式液体噴出器
1か月前
株式会社吉野工業所
トリガー式液体噴出器
25日前
続きを見る
他の特許を見る