TOP
|
特許
|
意匠
|
商標
特許ウォッチ
Twitter
他の特許を見る
公開番号
2025149208
公報種別
公開特許公報(A)
公開日
2025-10-08
出願番号
2024049705
出願日
2024-03-26
発明の名称
キャップ付き容器
出願人
株式会社吉野工業所
代理人
個人
主分類
B65D
47/08 20060101AFI20251001BHJP(運搬;包装;貯蔵;薄板状または線条材料の取扱い)
要約
【課題】 容器の口筒部とキャップ本体の全高を低くして軽量化しても、口筒部にヒンジキャップを打栓により安定して装着できるキャップ付き容器を提供すること。
【解決手段】 キャップ付き容器であって、容器Aは、口筒部1から突設され、垂直な外周面2bと、外周面2bの上端から傾斜する傾斜面2aと、が形成された嵌合突条2を備え、キャップ本体Bは、口筒部1の外周に嵌着される外周壁部9と、口筒部1の内周に嵌着される内筒部10と、を備え、外周壁部9は、内周から突設され、口筒部1の嵌合突条2下部と係合する係合突部11と、上面から上下方向に破断可能な縦方向弱化部20と、縦方向弱化部20の下端から周方向に破断可能な周方向弱化部27と、を備え、口筒部1の嵌合突条2の傾斜面2aとキャップ本体Bの外周壁部9との間に、全周にわたる空間aを形成したことを特徴とする。
【選択図】 図1
特許請求の範囲
【請求項1】
口筒部の全高を低くした容器に、キャップ本体の全高を低くしたヒンジキャップを打栓により装着するキャップ付き容器であって、
容器は、口筒部から突設され、垂直な外周面と、外周面の上端から傾斜する傾斜面と、が形成された嵌合突条を備え、
キャップ本体は、口筒部の外周に嵌着される外周壁部と、口筒部の内周に嵌着される内筒部と、を備え、
外周壁部は、内周から突設され、口筒部の嵌合突条下部と係合する係合突部と、ヒンジ部近傍の上面から上下方向に破断可能な縦方向弱化部と、縦方向弱化部の下端から周方向に破断可能な周方向弱化部と、を備え、
口筒部の嵌合突条の傾斜面とキャップ本体の外周壁部との間に、全周にわたる空間を形成したことを特徴とするキャップ付き容器。
続きを表示(約 360 文字)
【請求項2】
内筒部は、断面がU字状に形成されたことを特徴とする請求項1に記載のキャップ付き容器。
【請求項3】
外周壁部の内周が嵌合突条の外周面と係合する位置は、内筒部のシール部が口筒部の内周と係合する位置と同じ高さ範囲にあることを特徴とする請求項1または2に記載のキャップ付き容器。
【請求項4】
周方向弱化部の破断開始位置は、口筒部の嵌合突条の傾斜面とキャップ本体の外周壁部との間に形成された空間の上部に形成されたことを特徴とする請求項1または2に記載のキャップ付き容器。
【請求項5】
周方向弱化部の破断開始位置は、口筒部の嵌合突条の傾斜面とキャップ本体の外周壁部との間に形成された空間の上部に形成されたことを特徴とする請求項3に記載のキャップ付き容器。
発明の詳細な説明
【技術分野】
【0001】
本発明は、容器の口筒部にヒンジキャップを打栓により装着するキャップ付き容器に関し、とくに、容器とヒンジキャップを軽量化したキャップ付き容器に関するものである。
続きを表示(約 2,000 文字)
【背景技術】
【0002】
従来から、ヒンジキャップを軽量化する場合には、肉厚を薄くする必要があり、蓋体の側周壁の肉厚を薄くした場合に、ヒンジキャップの打栓の際に座屈したり、係止突部の形状がしっかり出ないために、嵌合力がばらついたりすることがあり、さらに高温充填の際のシャワー水による洗浄、冷却にも影響が出るという問題があった。
【0003】
このため、容器口部に装着されるキャップ本体と、キャップ本体にヒンジ部を介して連設される蓋体とからなり、キャップ本体は、容器の口部に装着される装着部と、装着部から立設される蓋係合部とを備え、蓋体は、頂壁と、頂壁の周縁部から垂設される側周壁と、側周壁の外周下部のヒンジ部と反対側に突設される摘み部とを備え、側周壁は、内周下部の周方向に形成され、蓋係合部と係合する係止突部と、係止突部の上方から周方向に形成され、閉蓋時に、蓋係合部の上面と当接または近接する座屈防止突部と、下面から上向きに凹設される周方向の肉抜き溝とを備えるヒンジキャップが従来から知られている(特許文献1参照)。
【先行技術文献】
【特許文献】
【0004】
特開2023-124442号公報
【発明の概要】
【発明が解決しようとする課題】
【0005】
しかしながら、特許文献1記載のヒンジキャップでは、さらなる軽量化が困難であるため、ヒンジキャップだけでなく容器の口筒部(口部)の形状から見直すことが必要になるが、キャップ本体および容器の口筒部の全高を低くした場合、容器の口筒部にヒンジキャップのキャップ本体を打栓し難くなるとともに、容器の口筒部とキャップ本体のシール部の密閉性を確保することが困難になるという問題があった。
【0006】
本発明は、上記問題を解決することを課題とし、容器の口筒部とキャップ本体の全高を低くして軽量化しても、容器の口筒部にヒンジキャップを打栓により安定して装着できるキャップ付き容器を提供することを目的とする。
【課題を解決するための手段】
【0007】
本発明は、上記の課題を解決するため、キャップ付き容器として、口筒部の全高を低くした容器に、キャップ本体の全高を低くしたヒンジキャップを打栓により装着するキャップ付き容器であって、容器は、口筒部から突設され、垂直な外周面と、外周面の上端から傾斜する傾斜面と、が形成された嵌合突条を備え、キャップ本体は、口筒部の外周に嵌着される外周壁部と、口筒部の内周に嵌着される内筒部と、を備え、外周壁部は、内周から突設され、口筒部の嵌合突条下部と係合する係合突部と、ヒンジ部近傍の上面から上下方向に破断可能な縦方向弱化部と、縦方向弱化部の下端から周方向に破断可能な周方向弱化部と、を備え、口筒部の嵌合突条の傾斜面とキャップ本体の外周壁部との間に、全周にわたる空間を形成したことを特徴とする構成を採用する。
【0008】
キャップ付き容器の具体的実施形態として、内筒部は、断面がU字状に形成されたことを特徴とする構成、また、外周壁部の内周が嵌合突条の外周面と係合する位置は、内筒部のシール部が口筒部の内周と係合する位置と同じ高さ範囲にあることを特徴とする構成、また、周方向弱化部の破断開始位置は、口筒部の嵌合突条の傾斜面とキャップ本体の外周壁部との間に形成された空間の上部に形成されたことを特徴とする構成を採用する。
【発明の効果】
【0009】
本発明のキャップ付き容器は、容器の口筒部とキャップ本体の全高を低くして軽量化しても、容器の口筒部にヒンジキャップを打栓する際に、破損することなく、安定して装着することができ、分別廃棄の際に、簡単に分別廃棄することができる。
【図面の簡単な説明】
【0010】
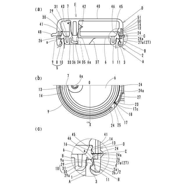
本発明の実施例であるキャップ付き容器を示す図であり、(a)は閉蓋状態の側断面図、(b)はキャップ本体の一部上面図、(c)は(a)の要部拡大図である。
本発明の実施例であるキャップ付き容器を示す図であり、(a)は図1(b)の0-X線切断矢視位置の要部拡大図、(b)は容器の口筒部の側断面図である。
本発明の実施例であるヒンジキャップの開蓋状態を示す図であり、(a)は上面図、(b)は(a)の要部拡大図、(c)は(a)の0-Y線切断矢視位置の要部拡大図である。
本発明の実施例であるヒンジキャップの開蓋状態を示す図であり、(a)は側断面図、(b)は下面図である。
従来のキャップ付き容器を示す図であり、(a)は従来のヒンジキャップの側断面要部拡大図、(b)は従来の容器の口筒部の側面断面図である。
【発明を実施するための形態】
(【0011】以降は省略されています)
この特許をJ-PlatPat(特許庁公式サイト)で参照する
関連特許
株式会社吉野工業所
塗布容器
27日前
株式会社吉野工業所
塗布容器
27日前
株式会社吉野工業所
吐出容器
27日前
株式会社吉野工業所
吐出ポンプ
27日前
株式会社吉野工業所
スポイト容器
27日前
株式会社吉野工業所
計量注出容器
今日
株式会社吉野工業所
削り出し容器
27日前
株式会社吉野工業所
コンパクト容器
27日前
株式会社吉野工業所
ポンプ式吐出器
27日前
株式会社吉野工業所
合成樹脂製壜体
27日前
株式会社吉野工業所
ポンプ式吐出器
28日前
株式会社吉野工業所
ポンプ式吐出容器
27日前
株式会社吉野工業所
キャップ付き吐出栓
27日前
株式会社吉野工業所
トリガー式液体噴出器
27日前
株式会社吉野工業所
トリガー式液体噴出器
28日前
株式会社吉野工業所
泡吐出具及び泡吐出容器
27日前
花王株式会社
吐出容器
20日前
株式会社吉野工業所
移行栓キャップ付き容器
27日前
花王株式会社
吐出容器
20日前
株式会社吉野工業所
オーバーキャップ付き容器
27日前
株式会社吉野工業所
ポンプ式吐出具及びポンプ式吐出容器
27日前
株式会社吉野工業所
ノズル部材、ポンプ式吐出器、及び吐出器付き容器
27日前
個人
収容箱
3か月前
個人
コンベア
5か月前
個人
容器
9か月前
個人
ゴミ収集器
7か月前
個人
段ボール箱
7か月前
個人
段ボール箱
7か月前
個人
土嚢運搬器具
8か月前
個人
バンド
2か月前
個人
楽ちんハンド
5か月前
個人
角筒状構造体
5か月前
個人
宅配システム
7か月前
個人
コード類収納具
8か月前
個人
閉塞装置
10か月前
個人
廃棄物収容容器
3か月前
続きを見る
他の特許を見る