TOP
|
特許
|
意匠
|
商標
特許ウォッチ
Twitter
他の特許を見る
10個以上の画像は省略されています。
公開番号
2025169539
公報種別
公開特許公報(A)
公開日
2025-11-14
出願番号
2024074304
出願日
2024-05-01
発明の名称
質問処理装置、質問処理方法、及びプログラム
出願人
日本電気株式会社
代理人
個人
主分類
G06F
16/90 20190101AFI20251107BHJP(計算;計数)
要約
【課題】質問に対する回答を生成するための新たな技術を提供する。
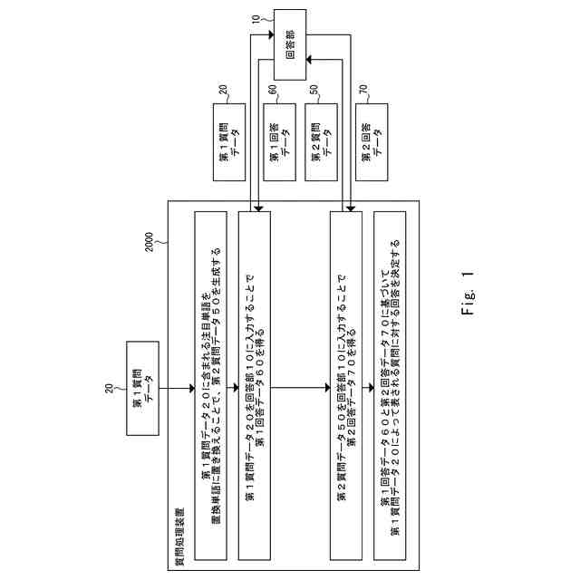
【解決手段】質問処理装置は、対象質問を表す第1質問データを取得し、第1質問データにおいて注目単語を置換単語で置き換えることにより、第2質問データを生成し、質問が入力されたことに応じて回答を出力するように構成された回答手段に対して第1質問データを入力することによって得られる第1回答データと、回答手段に対して第2質問データを入力することによって得られる第2回答データとに基づいて、対象質問に対する回答を決定する。
【選択図】図1
特許請求の範囲
【請求項1】
対象質問を表す第1質問データを取得する取得手段と、
前記第1質問データにおいて注目単語を置換単語で置き換えることにより、第2質問データを生成する生成手段と、
質問が入力されたことに応じて回答を出力するように構成された回答手段に対して前記第1質問データを入力することによって得られる第1回答データと、前記回答手段に対して前記第2質問データを入力することによって得られる第2回答データとに基づいて、前記対象質問に対する回答を決定する決定手段と、を有する質問処理装置。
続きを表示(約 1,500 文字)
【請求項2】
前記決定手段は、
前記第1回答データと前記第2回答データとが互いに類似しない場合に、拒否メッセージを前記対象質問に対する回答として決定し、
前記第1回答データと前記第2回答データとが互いに類似する場合に、前記第1回答データを前記対象質問に対する回答として決定する、請求項1に記載の質問処理装置。
【請求項3】
前記決定手段は、
前記第1回答データと前記第2回答データとが互いに類似しない場合に、前記第2回答データを前記対象質問に対する回答として決定し、
前記第1回答データと前記第2回答データとが互いに類似する場合に、前記第1回答データを前記対象質問に対する回答として決定する、請求項1に記載の質問処理装置。
【請求項4】
前記生成手段は、
前記注目単語の種類と前記置換単語とを対応づける置換単語情報を用いて、前記第1質問データから抽出された前記注目単語の種類に対応する前記置換単語を特定し、
前記特定された置換単語で前記抽出された注目単語を置き換えることにより、前記第2質問データを生成する、請求項1から3いずれか一項に記載の質問処理装置。
【請求項5】
前記置換単語情報は、前記注目単語の種類に対応する前記置換単語として、その種類の単語の汎用表現を示す、請求項4に記載の質問処理装置。
【請求項6】
前記生成手段は、
前記注目単語の種類と前記置換単語の種類とを対応づける置換単語情報を用いて、前記第1質問データから抽出された前記注目単語の種類に対応する前記置換単語の種類を特定し、
前記抽出された注目単語について、前記特定された置換単語の種類に該当する情報を特定し、
前記特定された情報を表す前記置換単語で前記抽出された注目単語を置き換えることにより、前記第2質問データを生成する、請求項1から3いずれか一項に記載の質問処理装置。
【請求項7】
前記置換単語情報は、前記注目単語の種類に対応する前記置換単語の種類として、前記注目単語の種類の上位概念を示す、請求項6に記載の質問処理装置。
【請求項8】
前記注目単語は、個人又はグループを特定可能な単語である、請求項1から3いずれか一項に記載の質問処理装置。
【請求項9】
対象質問を表す第1質問データを取得する取得ステップと、
前記第1質問データにおいて注目単語を置換単語で置き換えることにより、第2質問データを生成する生成ステップと、
質問が入力されたことに応じて回答を出力するように構成された回答手段に対して前記第1質問データを入力することによって得られる第1回答データと、前記回答手段に対して前記第2質問データを入力することによって得られる第2回答データとに基づいて、前記対象質問に対する回答を決定する決定ステップと、を有する、コンピュータによって実行される質問処理方法。
【請求項10】
対象質問を表す第1質問データを取得する取得ステップと、
前記第1質問データにおいて注目単語を置換単語で置き換えることにより、第2質問データを生成する生成ステップと、
質問が入力されたことに応じて回答を出力するように構成された回答手段に対して前記第1質問データを入力することによって得られる第1回答データと、前記回答手段に対して前記第2質問データを入力することによって得られる第2回答データとに基づいて、前記対象質問に対する回答を決定する決定ステップと、をコンピュータに実行させるプログラム。
発明の詳細な説明
【技術分野】
【0001】
本開示は、質問処理装置、質問処理方法、及びプログラムに関する。
続きを表示(約 1,900 文字)
【背景技術】
【0002】
質問に対する回答を生成するための技術が開発されている。例えば非特許文献1は、テキストや画像などの種々のデータで構成される質問に対して回答を出力する大規模言語モデル(LLM: Large Language Model)を開示する。
【先行技術文献】
【非特許文献】
【0003】
OpenAI、「GPT-4 Technical Report」、[online]、2023年3月15日、[2024年4月15日検索]、インターネット<URL: https://arxiv.org/pdf/2303.08774.pdf>
【発明の概要】
【発明が解決しようとする課題】
【0004】
非特許文献1において、言語モデルから得られる回答には、個人情報などといった秘密にすべき情報が含まれる可能性がある。本開示はこの課題に鑑みてなされたものであり、その目的の一つは、質問に対する回答を生成するための新たな技術を提供することである。
【課題を解決するための手段】
【0005】
本開示に係る質問処理装置は、対象質問を表す第1質問データを取得する取得手段と、前記第1質問データにおいて注目単語を置換単語で置き換えることにより、第2質問データを生成する生成手段と、質問が入力されたことに応じて回答を出力するように構成された回答手段に対して前記第1質問データを入力することによって得られる第1回答データと、前記回答手段に対して前記第2質問データを入力することによって得られる第2回答データとに基づいて、前記対象質問に対する回答を決定する決定手段と、を有する。
【0006】
本開示に係る質問処理方法は、コンピュータによって実行される。当該質問処理方法は、対象質問を表す第1質問データを取得する取得ステップと、前記第1質問データにおいて注目単語を置換単語で置き換えることにより、第2質問データを生成する生成ステップと、質問が入力されたことに応じて回答を出力するように構成された回答手段に対して前記第1質問データを入力することによって得られる第1回答データと、前記回答手段に対して前記第2質問データを入力することによって得られる第2回答データとに基づいて、前記対象質問に対する回答を決定する決定ステップと、を有する。
【0007】
本開示に係るプログラムは、対象質問を表す第1質問データを取得する取得ステップと、前記第1質問データにおいて注目単語を置換単語で置き換えることにより、第2質問データを生成する生成ステップと、質問が入力されたことに応じて回答を出力するように構成された回答手段に対して前記第1質問データを入力することによって得られる第1回答データと、前記回答手段に対して前記第2質問データを入力することによって得られる第2回答データとに基づいて、前記対象質問に対する回答を決定する決定ステップと、をコンピュータに実行させる。
【発明の効果】
【0008】
本開示によれば、質問に対する回答を生成するための新たな技術が提供される。
【図面の簡単な説明】
【0009】
質問処理装置の動作の概要を例示する図である。
質問処理装置の機能構成を例示するブロック図である。
質問処理装置を実現するコンピュータのハードウエア構成を例示するブロック図である。
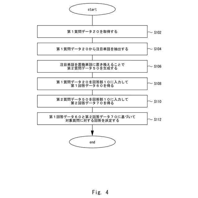
質問処理装置によって実行される処理の流れを例示するフローチャートである。
置換単語情報を例示する第1の図である。
置換単語情報を例示する第2の図である。
対象質問に対する回答を決定する処理の流れを例示する第1のフローチャートである。
対象質問に対する回答を決定する処理の流れを例示する第2のフローチャートである。
訓練部が含まれる質問処理装置の機能構成を例示する図である。
【発明を実施するための形態】
【0010】
以下では、本開示の実施形態について、図面を参照しながら詳細に説明する。各図面において、同一又は対応する要素には同一の符号が付されており、説明の明確化のため、必要に応じて重複説明は省略される。また、特に説明しない限り、所定値や閾値などといった予め定められている値は、その値を利用する装置からアクセス可能な記憶装置などに予め格納されている。さらに、特に説明しない限り、記憶部は、1つ以上の任意の数の記憶装置によって構成される。
(【0011】以降は省略されています)
この特許をJ-PlatPat(特許庁公式サイト)で参照する
関連特許
日本電気株式会社
特定装置
11日前
日本電気株式会社
推論装置および推論方法
1か月前
日本電気株式会社
時刻維持装置および時刻維持方法
1か月前
日本電気株式会社
考査装置、考査方法、プログラム
1か月前
日本電気株式会社
考査装置、考査方法、プログラム
1か月前
日本電気株式会社
ボロメータアレイ、及び光検出方法
13日前
日本電気株式会社
測定装置、測定方法及びプログラム
今日
日本電気株式会社
交渉装置、交渉方法及びプログラム
19日前
日本電気株式会社
監視装置、監視方法、及びプログラム
1か月前
日本電気株式会社
情報処理装置、方法、及び、プログラム
4日前
日本電気株式会社
情報処理装置、方法、及び、プログラム
4日前
日本電気株式会社
情報処理装置、情報処理方法、プログラム
4日前
日本電気株式会社
情報処理装置、情報処理方法、プログラム
1か月前
日本電気株式会社
乗車誘導計画装置および乗車誘導計画方法
25日前
日本電気株式会社
情報処理装置、情報処理方法、プログラム
11日前
日本電気株式会社
店舗端末、情報処理方法、及びプログラム
1か月前
日本電気株式会社
制御装置、制御プログラム、および制御方法
4日前
日本電気株式会社
経路選択装置、経路選択方法及びプログラム
1か月前
日本電気株式会社
制御装置、無線端末、方法、及びプログラム
12日前
日本電気株式会社
合意判定装置、合意判定方法及びプログラム
19日前
日本電気株式会社
発話認識装置、プログラム及び発話認識方法
13日前
日本電気株式会社
情報処理装置、情報処理方法及びプログラム
4日前
日本電気株式会社
情報処理装置、情報処理方法、及びプログラム
1か月前
日本電気株式会社
情報処理装置、情報処理方法、及びプログラム
1か月前
日本電気株式会社
情報処理装置、応答方法、及び応答プログラム
13日前
日本電気株式会社
情報処理装置、情報処理方法およびプログラム
19日前
日本電気株式会社
情報処理装置、情報処理方法およびプログラム
20日前
日本電気株式会社
原子発振器、制御方法、制御装置、プログラム
11日前
日本電気株式会社
質問処理装置、質問処理方法、及びプログラム
25日前
日本電気株式会社
学習装置、利用装置、学習方法及びプログラム
1か月前
日本電気株式会社
情報処理装置、情報処理方法、及びプログラム
5日前
日本電気株式会社
情報処理装置、情報処理方法、及びプログラム
1か月前
日本電気株式会社
情報処理装置、情報処理方法、及びプログラム
1か月前
日本電気株式会社
情報処理装置、情報処理方法、及びプログラム
1か月前
日本電気株式会社
情報処理装置、情報処理方法、及びプログラム
6日前
日本電気株式会社
情報処理装置、情報処理方法、及びプログラム
6日前
続きを見る
他の特許を見る