TOP
|
特許
|
意匠
|
商標
特許ウォッチ
Twitter
他の特許を見る
10個以上の画像は省略されています。
公開番号
2025172577
公報種別
公開特許公報(A)
公開日
2025-11-26
出願番号
2024078163
出願日
2024-05-13
発明の名称
ボロメータアレイ、及び光検出方法
出願人
日本電気株式会社
代理人
個人
,
個人
主分類
H04N
25/70 20230101AFI20251118BHJP(電気通信技術)
要約
【課題】異なる情報を含む2つ以上の画像を取得可能なボロメータアレイを提供する。
【解決手段】ボロメータアレイであって、複数のボロメータと、複数のボロメータが並んで設けられた基板と、を備え、各々のボロメータは、第1電極と、第1電極と電極間領域を挟んで設けられた第2電極と、第1電極及び第2電極と接続されたカーボンナノチューブ膜と、第1電極、第2電極及びカーボンナノチューブ膜が設けられた面の少なくとも一部を覆う受光部と、受光部からカーボンナノチューブ膜へ延びる接続部と、を備え、複数のボロメータは、検出対象光に含まれる第1波長を吸収目標波長として受光部で光熱変換する第1ボロメータと、光熱変換する波長帯域が第1ボロメータと異なる第2ボロメータと、を含む。
【選択図】図28
特許請求の範囲
【請求項1】
複数のボロメータと、
複数の前記ボロメータが並んで設けられた基板と、
を備え、
各々の前記ボロメータは、
第1電極と、
前記第1電極と電極間領域を挟んで設けられた第2電極と、
前記第1電極及び前記第2電極と接続されたカーボンナノチューブ膜と、
前記第1電極、前記第2電極及びカーボンナノチューブ膜が設けられた面の少なくとも一部を覆う受光部と、
前記受光部から前記カーボンナノチューブ膜へ延びる接続部と、
を備え、
複数の前記ボロメータは、
検出対象光に含まれる第1波長を吸収目標波長として前記受光部で光熱変換する第1ボロメータと、
光熱変換する波長帯域が前記第1ボロメータと異なる第2ボロメータと、
を含む、
ボロメータアレイ。
続きを表示(約 1,300 文字)
【請求項2】
前記第1ボロメータは、
前記カーボンナノチューブ膜を間に挟んで前記受光部と反対側に位置すると共に前記検出対象光を反射する第1反射膜を備え、
前記第1反射膜から前記受光部までの距離が前記第1波長の4分の1である、
請求項1記載のボロメータアレイ。
【請求項3】
前記第1ボロメータの前記受光部は、
前記検出対象光の前記第1波長を含む成分を吸収する第1波長吸収部材を備える、
請求項1または2記載のボロメータアレイ。
【請求項4】
前記第1ボロメータの前記受光部は、
光熱変換を行う光熱変換層と、
前記光熱変換層の受光面の少なくとも一部を覆うように形成されると共に前記第1波長を含む成分を選択的に透過する第1波長透過部材を備える、
請求項1または2記載のボロメータアレイ。
【請求項5】
前記第2ボロメータは、前記第1波長と異なると共に前記検出対象光に含まれる第2波長を吸収目標波長として前記受光部で光熱変換する、
請求項1または2記載のボロメータアレイ。
【請求項6】
前記第2ボロメータは、
前記カーボンナノチューブ膜を間に挟んで前記受光部と反対側に位置すると共に前記検出対象光を反射する第2反射膜を備え、
前記第2反射膜から前記受光部までの距離が前記第2波長の4分の1である、
請求項5記載のボロメータアレイ。
【請求項7】
前記第2ボロメータの前記受光部は、
前記検出対象光の前記第2波長を含む成分を吸収する第2波長吸収部材を備える、
請求項5記載のボロメータアレイ。
【請求項8】
前記第2ボロメータの前記受光部は、
光熱変換を行う光熱変換層と、
前記光熱変換層の受光面の少なくとも一部を覆うように形成されると共に前記第2波長を含む成分を選択的に透過する第2波長透過部材を備える、
請求項5記載のボロメータアレイ。
【請求項9】
前記ボロメータは、第1方向と前記第1方向と直交する第2方向との各々に配列されており、
前記第1方向にて、前記第1ボロメータと前記第2ボロメータとが交互に配列され、
前記第2方向にて、前記第1ボロメータと前記第2ボロメータとが交互に配列されている、
請求項1または2記載のボロメータアレイ。
【請求項10】
ボロメータアレイは、ボロメータとして第1ボロメータと第2ボロメータとを備え、
各々のボロメータが、
第1電極と、
前記第1電極と電極間領域を挟んで設けられた第2電極と、
前記第1電極及び前記第2電極と接続されたカーボンナノチューブ膜と、
前記第1電極、前記第2電極及びカーボンナノチューブ膜が設けられた面の少なくとも一部を覆う受光部と、
前記受光部から前記カーボンナノチューブ膜へ延びる接続部と、
を備え、
前記第1ボロメータと前記第2ボロメータとで検出対象光の異なる波長帯域を検出する、
光検出方法。
発明の詳細な説明
【技術分野】
【0001】
本開示は、ボロメータアレイ、及び光検出方法に関する。
続きを表示(約 2,800 文字)
【背景技術】
【0002】
赤外線を検出するために、ボロメータが用いられることは広く知られている。
例えば、特許文献1は、温度上昇によって抵抗が変化するボロメータ膜を備えるボロメータ及びその製造方法を開示する。特許文献1に開示されたボロメータのボロメータ膜は、例えばカーボンナノチューブ膜である。
【先行技術文献】
【特許文献】
【0003】
特開2022-25052号公報
【発明の概要】
【発明が解決しようとする課題】
【0004】
赤外線画像を取得するセンサは、例えば複数のボロメータを備えるボロメータアレイを備える。赤外線は、幾つかの代表的な波長帯域が含まれる。波長帯域によって得られる情報が異なる。このため、2つ以上のカメラを設置し、各々のカメラに異なる波長帯域を検出帯域とするボロメータアレイを搭載することで、異なる情報を含む2つ以上の画像を取得することができる。しかしながら、このような場合には、2つ以上の画像に視差が生じる。このため、複数の画像を結合する処理は複雑となる。
【0005】
本開示の目的は、上述の課題を解決するボロメータアレイ、及び光検出方法を提供することにある。
【課題を解決するための手段】
【0006】
本開示の一態様に係るボロメータアレイは、複数のボロメータと、複数の上記ボロメータが並んで設けられた基板と、を備え、各々の上記ボロメータは、第1電極と、上記第1電極と電極間領域を挟んで設けられた第2電極と、上記第1電極及び上記第2電極と接続されたカーボンナノチューブ膜と、上記第1電極、上記第2電極及びカーボンナノチューブ膜が設けられた面の少なくとも一部を覆う受光部と、上記受光部から上記カーボンナノチューブ膜へ延びる接続部と、を備え、複数の上記ボロメータは、検出対象光に含まれる第1波長を吸収目標波長として上記受光部で光熱変換する第1ボロメータと、光熱変換する波長帯域が上記第1ボロメータと異なる第2ボロメータと、を含む。
【0007】
本開示の一態様に係る光検出方法は、ボロメータアレイは、ボロメータとして第1ボロメータと第2ボロメータとを備え、各々のボロメータが、第1電極と、上記第1電極と電極間領域を挟んで設けられた第2電極と、上記第1電極及び上記第2電極と接続されたカーボンナノチューブ膜と、上記第1電極、上記第2電極及びカーボンナノチューブ膜が設けられた面の少なくとも一部を覆う受光部と、上記受光部から上記カーボンナノチューブ膜へ延びる接続部と、を備え、上記第1ボロメータと上記第2ボロメータとで検出対象光の異なる波長帯域を検出する。
【発明の効果】
【0008】
上記一態様によれば、2つ以上の画像に視差が生じることを抑制できる。
【図面の簡単な説明】
【0009】
本開示に係るボロメータアレイの一例を示す模式的な平面図である。
本開示に係るボロメータアレイの一例を示す模式的な平面図である。
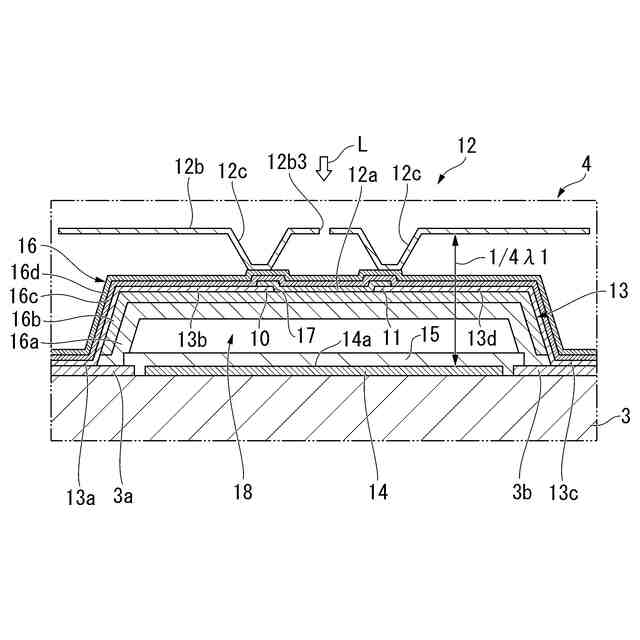
本開示に係るボロメータアレイが備える第1ボロメータの一例を示す模式的な断面図である。
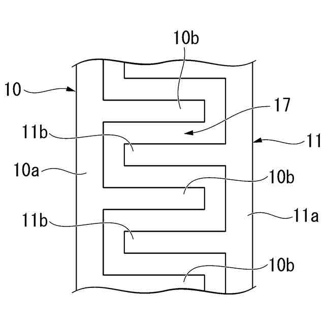
本開示に係るボロメータが備える電極間領域を含む模式的な平面図である。
本開示に係るボロメータが備える受光部も模式的な断面図である。
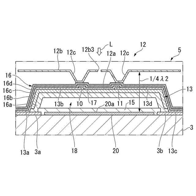
本開示に係るボロメータアレイが備える第2ボロメータの一例を示す模式的な断面図である。
本開示に係るボロメータアレイの製造方法の一例を示すフローチャートである。
本開示に係るボロメータアレイの製造方法のステップS1における製造途中のボロメータアレイの一例を示す模式的な断面図である。
本開示に係るボロメータアレイの製造方法のステップS2における製造途中のボロメータアレイの一例を示す模式的な断面図である。
本開示に係るボロメータアレイの製造方法のステップS3における製造途中のボロメータアレイの一例を示す模式的な断面図である。
本開示に係るボロメータアレイの製造方法のステップS4における製造途中のボロメータアレイの一例を示す模式的な断面図である。
本開示に係るボロメータアレイの製造方法のステップS5における製造途中のボロメータアレイの一例を示す模式的な断面図である。
本開示に係るボロメータアレイの製造方法のステップS6における製造途中のボロメータアレイの一例を示す模式的な断面図である。
本開示に係るボロメータアレイの製造方法のステップS7における製造途中のボロメータアレイの一例を示す模式的な断面図である。
本開示に係るボロメータアレイの製造方法のステップS8における製造途中のボロメータアレイの一例を示す模式的な断面図である。
本開示に係るボロメータアレイの製造方法のステップS9における製造途中のボロメータアレイの一例を示す模式的な断面図である。
本開示に係るボロメータアレイの製造方法のステップS10における製造途中のボロメータアレイの一例を示す模式的な断面図である。
本開示に係るボロメータアレイの製造方法のステップS11における製造途中のボロメータアレイの一例を示す模式的な断面図である。
本開示に係るボロメータアレイの製造方法のステップS12における製造途中のボロメータアレイの一例を示す模式的な断面図である。
本開示に係るボロメータアレイの製造方法のステップS13における製造途中のボロメータアレイの一例を示す模式的な断面図である。
本開示に係るボロメータアレイの製造方法のステップS14における製造途中のボロメータアレイの一例を示す模式的な断面図である。
本開示に係るボロメータアレイが備える第1ボロメータの一例を示す模式的な断面図である。
本開示に係るボロメータアレイが備える第2ボロメータの一例を示す模式的な断面図である。
本開示に係るボロメータアレイが備える第1ボロメータの一例を示す模式的な断面図である。
本開示に係るボロメータアレイが備える第2ボロメータの一例を示す模式的な断面図である。
本開示に係るボロメータアレイが備える第1ボロメータの一例を示す模式的な断面図である。
本開示に係るボロメータアレイが備える第2ボロメータの一例を示す模式的な断面図である。
本開示に係るボロメータアレイの一例を示す模式的な断面図である。
本開示に係るボロメータアレイの一例を示す模式的な断面図である。
【発明を実施するための形態】
【0010】
以下、本開示に係る各種実施形態について、図面を用いて説明する。
(【0011】以降は省略されています)
この特許をJ-PlatPat(特許庁公式サイト)で参照する
関連特許
日本電気株式会社
監視装置
1か月前
日本電気株式会社
管理装置
1か月前
日本電気株式会社
監視装置
1か月前
日本電気株式会社
光モジュール
29日前
日本電気株式会社
異常検知装置
1か月前
日本電気株式会社
海底分岐装置
1か月前
日本電気株式会社
光集積回路素子
1か月前
日本電気株式会社
レーザモジュール
1か月前
日本電気株式会社
超伝導量子回路装置
1か月前
日本電気株式会社
受信器および通信装置
1か月前
日本電気株式会社
システム、装置及び方法
1か月前
日本電気株式会社
推論装置および推論方法
21日前
日本電気株式会社
ラインカード及びイジェクタ
1か月前
日本電気株式会社
制御装置、プログラム及び方法
1か月前
日本電気株式会社
時刻維持装置および時刻維持方法
20日前
日本電気株式会社
考査装置、考査方法、プログラム
22日前
日本電気株式会社
考査装置、考査方法、プログラム
22日前
日本電気株式会社
交渉装置、交渉方法及びプログラム
6日前
日本電気株式会社
ボロメータアレイ、及び光検出方法
今日
日本電気株式会社
交渉装置、交渉方法及びプログラム
29日前
日本電気株式会社
推定装置、推定方法及びプログラム
1か月前
日本電気株式会社
情報処理装置、制御方法及び記憶媒体
1か月前
日本電気株式会社
レコメンド装置およびレコメンド方法
1か月前
日本電気株式会社
監視装置、監視方法、及びプログラム
19日前
日本電気株式会社
端末、端末の制御方法及びプログラム
1か月前
日本電気株式会社
学習装置、学習方法及び学習プログラム
1か月前
日本電気株式会社
安否確認支援装置、方法及びプログラム
1か月前
日本電気株式会社
乗車誘導計画装置および乗車誘導計画方法
12日前
日本電気株式会社
店舗端末、情報処理方法、及びプログラム
21日前
日本電気株式会社
情報処理装置、情報処理方法、プログラム
21日前
日本電気株式会社
経路選択装置、経路選択方法及びプログラム
19日前
日本電気株式会社
合意判定装置、合意判定方法及びプログラム
27日前
日本電気株式会社
視聴支援装置、視聴支援方法及びプログラム
27日前
日本電気株式会社
健康管理装置、健康管理方法及びプログラム
29日前
日本電気株式会社
情報処理装置、情報処理方法及びプログラム
1か月前
日本電気株式会社
処理システム、処理方法、およびプログラム
1か月前
続きを見る
他の特許を見る