TOP
|
特許
|
意匠
|
商標
特許ウォッチ
Twitter
他の特許を見る
公開番号
2025163754
公報種別
公開特許公報(A)
公開日
2025-10-30
出願番号
2024067248
出願日
2024-04-18
発明の名称
画像生成装置、画像生成方法、及びプログラム
出願人
日本電気株式会社
代理人
個人
主分類
G06T
1/00 20060101AFI20251023BHJP(計算;計数)
要約
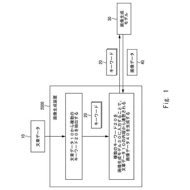
【課題】テキストから画像を生成するための新たな技術を提供する。
【解決手段】本開示に係るを有する画像生成装置は、文章データを取得し、文章データから複数のキーワードを抽出し、複数のキーワードを画像生成モデルに入力することで、文章データに関連する画像を生成する。
【選択図】図1
特許請求の範囲
【請求項1】
文章データを取得する取得手段と、
前記文章データから複数のキーワードを抽出する抽出手段と、
前記複数のキーワードを画像生成モデルに入力することで、前記文章データに関連する画像を生成する生成手段と、を有する画像生成装置。
続きを表示(約 1,200 文字)
【請求項2】
前記抽出手段は、
前記キーワードとして抽出されるべき単語のうちの1つ以上について、その単語の意味を表す意味テキストが示されるキーワード情報を取得し、
前記キーワード情報において前記意味テキストと対応づけられている単語が前記文章データに含まれる場合、その単語に対応する前記意味テキストから1つ以上の前記キーワードを抽出する、請求項1に記載の画像生成装置。
【請求項3】
前記抽出手段は、
前記キーワードとして抽出されるべき単語のうちの1つ以上について、その単語に対応する置換単語が示されるキーワード情報を取得し、
前記キーワード情報において前記置換単語と対応づけられている単語が前記文章データに含まれる場合、その単語に対応する前記置換単語を前記キーワードとして抽出する、請求項1に記載の画像生成装置。
【請求項4】
前記生成手段は、
各前記キーワードの特徴に基づいて各前記キーワードの重みを決定し、
各前記キーワードと各前記キーワードの重みを前記画像生成モデルに入力する、請求項1に記載の画像生成装置。
【請求項5】
前記生成手段は、前記文章データにおける各前記キーワードの出現回数に基づいて、各前記キーワードの重みを決定する、請求項4に記載の画像生成装置。
【請求項6】
前記生成手段は、前記キーワードが多義語ではなく、かつ、特定のトピックに関連する単語である場合に、前記キーワードの重みを増加させる、請求項4に記載の画像生成装置。
【請求項7】
前記生成手段は、前記キーワードが多義語であり、かつ、特定のトピックに関連する単語でない場合に、前記キーワードの重みを減少させる、請求項4に記載の画像生成装置。
【請求項8】
文章データを取得する取得ステップと、
前記文章データから複数のキーワードを抽出する抽出ステップと、
前記複数のキーワードを画像生成モデルに入力することで、前記文章データに関連する画像を生成する生成ステップと、を有する、コンピュータによって実行される画像生成方法。
【請求項9】
前記抽出ステップにおいて、
前記キーワードとして抽出されるべき単語のうちの1つ以上について、その単語の意味を表す意味テキストが示されるキーワード情報を取得し、
前記キーワード情報において前記意味テキストと対応づけられている単語が前記文章データに含まれる場合、その単語に対応する前記意味テキストから1つ以上の前記キーワードを抽出する、請求項8に記載の画像生成方法。
【請求項10】
文章データを取得する取得ステップと、
前記文章データから複数のキーワードを抽出する抽出ステップと、
前記複数のキーワードを画像生成モデルに入力することで、前記文章データに関連する画像を生成する生成ステップと、をコンピュータに実行させるプログラム。
発明の詳細な説明
【技術分野】
【0001】
本開示は、画像生成装置、画像生成方法、及びプログラムに関する。
続きを表示(約 1,300 文字)
【背景技術】
【0002】
テキストから画像を生成する技術が開発されている。例えば特許文献1は、ユーザによって選択された1つ以上のタグからプロンプトを生成し、当該プロンプトを用いてイラストの背景画像を自動生成するシステムを開示する。
【先行技術文献】
【特許文献】
【0003】
特許第7398723号公報
【発明の概要】
【発明が解決しようとする課題】
【0004】
特許文献1のシステムにおいて、ユーザは、生成したい背景画像の特徴を、予め用意されているタグの中から選択する必要がある。本開示はこの課題に鑑みてなされたものであり、その目的の一つは、テキストから画像を生成するための新たな技術を提供することである。
【課題を解決するための手段】
【0005】
本開示に係る画像生成装置は、文章データを取得する取得手段と、前記文章データから複数のキーワードを抽出する抽出手段と、前記複数のキーワードを画像生成モデルに入力することで、前記文章データに関連する画像を生成する生成手段と、を有する。
【0006】
本開示に係る画像生成方法は、コンピュータによって実行される。当該画像生成方法は、文章データを取得する取得ステップと、前記文章データから複数のキーワードを抽出する抽出ステップと、前記複数のキーワードを画像生成モデルに入力することで、前記文章データに関連する画像を生成する生成ステップと、を有する。
【0007】
本開示に係るプログラムは、文章データを取得する取得ステップと、前記文章データから複数のキーワードを抽出する抽出ステップと、前記複数のキーワードを画像生成モデルに入力することで、前記文章データに関連する画像を生成する生成ステップと、をコンピュータに実行させる。
【発明の効果】
【0008】
本開示によれば、テキストから画像を生成するための新たな技術が提供される。
【図面の簡単な説明】
【0009】
画像生成装置の概要を例示する図である。
画像生成装置の機能構成を例示するブロック図である。
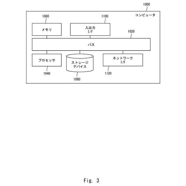
画像生成装置を実現するコンピュータのハードウエア構成を例示するブロック図である。
画像生成装置によって実行される処理の流れを例示するフローチャートである。
【発明を実施するための形態】
【0010】
以下では、本開示の実施形態について、図面を参照しながら詳細に説明する。各図面において、同一又は対応する要素には同一の符号が付されており、説明の明確化のため、必要に応じて重複説明は省略される。また、特に説明しない限り、所定値や閾値などといった予め定められている値は、その値を利用する装置からアクセス可能な記憶装置などに予め格納されている。さらに、特に説明しない限り、記憶部は、1つ以上の任意の数の記憶装置によって構成される。
(【0011】以降は省略されています)
この特許をJ-PlatPat(特許庁公式サイト)で参照する
関連特許
日本電気株式会社
異常検知装置
1か月前
日本電気株式会社
光モジュール
26日前
日本電気株式会社
推論装置および推論方法
18日前
日本電気株式会社
考査装置、考査方法、プログラム
19日前
日本電気株式会社
考査装置、考査方法、プログラム
19日前
日本電気株式会社
時刻維持装置および時刻維持方法
17日前
日本電気株式会社
交渉装置、交渉方法及びプログラム
3日前
日本電気株式会社
交渉装置、交渉方法及びプログラム
26日前
日本電気株式会社
監視装置、監視方法、及びプログラム
16日前
日本電気株式会社
乗車誘導計画装置および乗車誘導計画方法
9日前
日本電気株式会社
店舗端末、情報処理方法、及びプログラム
18日前
日本電気株式会社
情報処理装置、情報処理方法、プログラム
18日前
日本電気株式会社
経路選択装置、経路選択方法及びプログラム
16日前
日本電気株式会社
健康管理装置、健康管理方法及びプログラム
26日前
日本電気株式会社
合意判定装置、合意判定方法及びプログラム
24日前
日本電気株式会社
処理システム、処理方法、およびプログラム
1か月前
日本電気株式会社
視聴支援装置、視聴支援方法及びプログラム
24日前
日本電気株式会社
合意判定装置、合意判定方法及びプログラム
3日前
日本電気株式会社
情報処理装置、情報処理方法、及びプログラム
17日前
日本電気株式会社
情報処理装置、情報処理方法、及びプログラム
17日前
日本電気株式会社
情報処理装置、情報処理方法、及びプログラム
17日前
日本電気株式会社
情報処理装置、情報処理方法、及びプログラム
17日前
日本電気株式会社
情報処理装置、情報処理方法、及びプログラム
17日前
日本電気株式会社
情報処理装置、情報処理方法、及びプログラム
17日前
日本電気株式会社
情報処理装置、分析方法、及び分析プログラム
24日前
日本電気株式会社
情報処理装置、情報処理方法、及びプログラム
17日前
日本電気株式会社
情報処理装置、情報処理方法、及びプログラム
17日前
日本電気株式会社
画像生成装置、画像生成方法、及びプログラム
24日前
日本電気株式会社
情報処理装置、情報処理方法、及びプログラム
24日前
日本電気株式会社
視線検出装置、視線検出方法、及びプログラム
1か月前
日本電気株式会社
学習装置、利用装置、学習方法及びプログラム
16日前
日本電気株式会社
質問処理装置、質問処理方法、及びプログラム
9日前
日本電気株式会社
情報処理装置、情報処理方法およびプログラム
3日前
日本電気株式会社
情報処理装置、情報処理方法、及びプログラム
1か月前
日本電気株式会社
情報処理装置、情報処理方法およびプログラム
4日前
日本電気株式会社
情報処理装置、情報処理方法、及びプログラム
1か月前
続きを見る
他の特許を見る