TOP
|
特許
|
意匠
|
商標
特許ウォッチ
Twitter
他の特許を見る
10個以上の画像は省略されています。
公開番号
2025171184
公報種別
公開特許公報(A)
公開日
2025-11-20
出願番号
2024076257
出願日
2024-05-09
発明の名称
情報処理装置、情報処理方法およびプログラム
出願人
日本電気株式会社
代理人
個人
主分類
G06Q
10/1053 20230101AFI20251113BHJP(計算;計数)
要約
【課題】効果的な求人の文章の作成を支援する情報処理装置、情報処理方法およびプログラムを提供する。
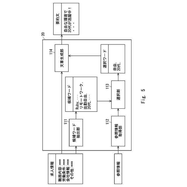
【解決手段】情報処理装置は、依頼者の求人票を記載するための求人情報から要約文を生成するための複数の候補ワードを抽出する候補ワード抽出部と、依頼者による求人情報に関連する参照情報を取得する参照情報取得部と、参照情報に含まれるワードとの関係に基づいて候補ワードから選択ワードを選択する選択部と、求人票の要約文として選択ワードを含む文章を生成して提示する文章生成部と、を備える。
【選択図】図1
特許請求の範囲
【請求項1】
依頼者の求人票を記載するための求人情報から要約文を生成するための複数の候補ワードを抽出する候補ワード抽出部と、
前記依頼者による求人情報に関連する参照情報を取得する参照情報取得部と、
前記参照情報に含まれるワードとの関係に基づいて前記候補ワードから選択ワードを選択する選択部と、
前記求人票の前記要約文として前記選択ワードを含む文章を生成して提示する文章生成部と、を備える
情報処理装置。
続きを表示(約 1,200 文字)
【請求項2】
前記選択部は、業種または職種を示すワードの少なくともいずれかと紐付く前記候補ワードの内、前記参照情報に含まれるワードのベクトルから所定の基準よりも遠い前記候補ワードを選択する、
請求項1に記載の情報処理装置。
【請求項3】
前記選択部は、業種または職種を示すワードの少なくともいずれかと紐付く前記候補ワードの内、前記参照情報において出現頻度が所定の基準よりも低い前記候補ワードを選択する、
請求項1に記載の情報処理装置。
【請求項4】
前記文章生成部は、感情分析することによりポジティブの感情スコアが所定値以上またはネガティブの感情スコアが所定値未満となる前記要約文を生成して提示する、
請求項1に記載の情報処理装置。
【請求項5】
前記参照情報取得部は、前記依頼者による求人情報と他者による求人情報とを照合することにより、他者による類似の求人情報を抽出し、前記類似の求人情報から前記参照情報を取得する、
請求項1に記載の情報処理装置。
【請求項6】
前記文章生成部は、前記要約文を生成した根拠を示す根拠情報を生成し、併せて提示する、
請求項1に記載の情報処理装置。
【請求項7】
前記候補ワードに関連するワードを所定のワードデータベースから抽出することにより前記候補ワードを拡張する拡張処理部をさらに備え、
前記選択部は、拡張された前記候補ワードから前記選択ワードを選択する、
請求項1~6のいずれか一項に記載の情報処理装置。
【請求項8】
前記参照情報に関連するワードを所定のワードデータベースから抽出することにより前記参照情報を拡張する拡張処理部をさらに備え、
前記選択部は、拡張された前記参照情報に含まれるワードとの関係に基づいて前記候補ワードから前記選択ワードを選択する、
請求項1~6のいずれか一項に記載の情報処理装置。
【請求項9】
コンピュータが、
依頼者の求人票を記載するための求人情報から要約文を生成するための複数の候補ワードを抽出し、
前記求人情報に関連する参照情報を取得し、
前記参照情報に含まれるワードとの関係に基づいて前記候補ワードから選択ワードを選択し、
前記求人票の前記要約文として前記選択ワードを含む文章を生成して提示する、
情報処理方法。
【請求項10】
依頼者の求人票を記載するための求人情報から要約文を生成するための複数の候補ワードを抽出し、
前記求人情報に関連する参照情報を取得し、
前記参照情報に含まれるワードとの関係に基づいて前記候補ワードから選択ワードを選択し、
前記求人票の前記要約文として前記選択ワードを含む文章を生成して提示する、
情報処理方法を、コンピュータに実行させる、
プログラム。
発明の詳細な説明
【技術分野】
【0001】
本開示は、情報処理装置、情報処理方法およびプログラムに関する。
続きを表示(約 1,100 文字)
【背景技術】
【0002】
労働市場における人材の流動が活発になっている。これに伴い、求人票を使った人材マッチングサービスを支援する技術が進展してる。
【0003】
特許文献1に記載の情報処理装置は、求職者及び求人者の少なくとも一方の情報からエンティティを抽出し、抽出した求職者及び求人者の少なくとも一方のエンティティを所定のカテゴリに分類する。
【0004】
特許文献2に記載の情報提供方法は、記憶装置が記憶する複数の求人項目の情報を用いて、表示媒体に求人項目を表示させ、所定条件が設定された求人項目と設定されていない求人項目が検知されたとき、設定されていない求人項目に対して新たな条件を表示させる。
【0005】
特許文献3によれば、情報処理システムは、プロセッサを用いて、求人者の求める人材条件を受け付け、それに関連する情報を取得し、取得した情報を人工知能に入力して求人票を出力し、さらに人工知能から追加の人材条件を取得する。
【先行技術文献】
【特許文献】
【0006】
特開2024-008344号公報
特開2021-093121号公報
特許第7373091号
【発明の概要】
【発明が解決しようとする課題】
【0007】
しかし、人事担当者が全ての求職者に対して効果的な求人文書を作成するのは容易ではない。
【0008】
本開示の目的は、上述した課題を鑑み、効果的な求人の文章の作成を支援する情報処理装置等を提供することにある。
【課題を解決するための手段】
【0009】
本開示にかかる情報処理装置は、候補ワード抽出部と、参照情報取得部と、選択部と、文章生成部、を有している。候補ワード抽出部は、依頼者の求人票を記載するための求人情報から要約文を生成するための複数の候補ワードを抽出する。参照情報取得部は、依頼者による求人情報に関連する参照情報を取得する。選択部は、参照情報に含まれるワードとの関係に基づいて候補ワードから選択ワードを選択する。文章生成部は、求人票の要約文として選択ワードを含む文章を生成して提示する。
【0010】
本開示にかかる情報処理方法は、コンピュータが以下の処理を実行する。コンピュータは、依頼者の求人票を記載するための求人情報から要約文を生成するための複数の候補ワードを抽出する。コンピュータは、求人情報に関連する参照情報を取得する。コンピュータは、参照情報に含まれるワードとの関係に基づいて候補ワードから選択ワードを選択する。コンピュータは、求人票の要約文として選択ワードを含む文章を生成して提示する。
(【0011】以降は省略されています)
この特許をJ-PlatPat(特許庁公式サイト)で参照する
関連特許
日本電気株式会社
監視装置
1か月前
日本電気株式会社
管理装置
1か月前
日本電気株式会社
監視装置
1か月前
日本電気株式会社
異常検知装置
1か月前
日本電気株式会社
光モジュール
26日前
日本電気株式会社
海底分岐装置
1か月前
日本電気株式会社
光集積回路素子
1か月前
日本電気株式会社
レーザモジュール
1か月前
日本電気株式会社
超伝導量子回路装置
1か月前
日本電気株式会社
受信器および通信装置
1か月前
日本電気株式会社
推論装置および推論方法
18日前
日本電気株式会社
システム、装置及び方法
1か月前
日本電気株式会社
光伝送システムおよび方法
1か月前
日本電気株式会社
ラインカード及びイジェクタ
1か月前
日本電気株式会社
制御装置、プログラム及び方法
1か月前
日本電気株式会社
時刻維持装置および時刻維持方法
17日前
日本電気株式会社
演算処理装置および演算処理方法
1か月前
日本電気株式会社
兆候検知装置および兆候検知方法
1か月前
日本電気株式会社
考査装置、考査方法、プログラム
19日前
日本電気株式会社
考査装置、考査方法、プログラム
19日前
日本電気株式会社
交渉装置、交渉方法及びプログラム
26日前
日本電気株式会社
交渉装置、交渉方法及びプログラム
3日前
日本電気株式会社
推定装置、推定方法及びプログラム
1か月前
日本電気株式会社
情報処理装置、制御方法及び記憶媒体
1か月前
日本電気株式会社
端末、端末の制御方法及びプログラム
1か月前
日本電気株式会社
レコメンド装置およびレコメンド方法
1か月前
日本電気株式会社
監視装置、監視方法、及びプログラム
16日前
日本電気株式会社
ソーナー装置、通信方法、プログラム
1か月前
日本電気株式会社
安否確認支援装置、方法及びプログラム
1か月前
日本電気株式会社
学習装置、学習方法及び学習プログラム
1か月前
日本電気株式会社
判別装置、判別方法、およびプログラム
1か月前
日本電気株式会社
店舗端末、情報処理方法、及びプログラム
18日前
日本電気株式会社
情報処理装置、情報処理方法、プログラム
18日前
日本電気株式会社
動作認識装置、動作認識方法、プログラム
1か月前
日本電気株式会社
乗車誘導計画装置および乗車誘導計画方法
9日前
日本電気株式会社
視聴支援装置、視聴支援方法及びプログラム
24日前
続きを見る
他の特許を見る