TOP
|
特許
|
意匠
|
商標
特許ウォッチ
Twitter
他の特許を見る
10個以上の画像は省略されています。
公開番号
2025147789
公報種別
公開特許公報(A)
公開日
2025-10-07
出願番号
2024048208
出願日
2024-03-25
発明の名称
動作認識装置、動作認識方法、プログラム
出願人
日本電気株式会社
代理人
個人
,
個人
,
個人
,
個人
主分類
G06V
40/20 20220101AFI20250930BHJP(計算;計数)
要約
【課題】人物の動作を適切に認識することができる動作認識装置、動作認識方法及びプログラムを提供する。
【解決手段】動作認識装置100は、時系列の動作データから所定の時間単位毎における動作の特徴を表す動作特徴データを抽出する抽出部121と、所定の時間単位毎の動作特徴データをそれぞれ動作要素データに変換する変換部122と、動作要素データの時系列に沿った配列に基づいて動作要素データを結合した結合データを基本動作データとして生成する結合部123と、を備える。これにより、動作データから基本動作を認識することができ、意思決定の支援に利用することができる。
【選択図】図9
特許請求の範囲
【請求項1】
時系列の動作データから所定の時間単位毎における動作の特徴を表す動作特徴データを抽出する抽出部と、
所定の時間単位毎の前記動作特徴データをそれぞれ動作要素データに変換する変換部と、
前記動作要素データの時系列に沿った配列に基づいて、前記動作要素データを結合した結合データを基本動作データとして生成する結合部と、
を備えた動作認識装置。
続きを表示(約 1,100 文字)
【請求項2】
請求項1に記載の動作認識装置であって、
前記変換部は、前記動作特徴データに基づいて当該動作特徴データをクラスに分類して、当該クラスに対応する予め設定された単位の記号で表した前記動作要素データに変換し、
前記結合部は、前記動作データに対応する時系列に沿った前記記号の配列に基づいて、複数の前記記号の結合からなる記号列にて表される前記結合データを生成する、
動作認識装置。
【請求項3】
請求項2に記載の動作認識装置であって、
前記結合部は、前記記号の配列内における前記記号列の出現状況に基づいて、前記基本動作データとする前記結合データである前記記号列を生成する、
動作認識装置。
【請求項4】
請求項2に記載の動作認識装置であって、
前記結合部は、前記記号の配列内における前記記号列同士の比較に基づいて、所定の前記記号列内の前記記号を変更して複数の前記記号列を統一する、
動作認識装置。
【請求項5】
請求項2に記載の動作認識装置であって、
前記結合部は、前記記号の配列内において所定回数以上連続する前記記号のみを用いて前記記号列を生成する、
動作認識装置。
【請求項6】
請求項2に記載の動作認識装置であって、
前記記号列と共に、当該記号列に対応する前記動作データに基づく映像を出力する出力部を備えた、
動作認識装置。
【請求項7】
請求項6に記載の動作認識装置であって、
前記出力部は、出力された前記記号列及び前記映像に対して、入力された説明情報を関連付ける、
動作認識装置。
【請求項8】
請求項2に記載の動作認識装置であって、
前記変換部は、機械学習モデルを用いて前記動作特徴データをクラスに分類する、
動作認識装置。
【請求項9】
請求項2に記載の動作認識装置であって、
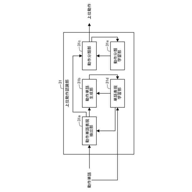
前記記号列の組み合わせに基づいて、上位動作を認識する認識部を備えた、
動作認識装置。
【請求項10】
時系列の動作データから所定の時間単位毎における動作の特徴を表す動作特徴データを抽出し、
所定の時間単位毎の前記動作特徴データをそれぞれ動作要素データに変換し、
前記動作要素データの時系列に沿った配列に基づいて、前記動作要素データを結合した結合データを基本動作データとして生成する、
動作認識方法。
(【請求項11】以降は省略されています)
発明の詳細な説明
【技術分野】
【0001】
本開示は、動作認識装置、動作認識方法、プログラムに関する。
続きを表示(約 1,900 文字)
【背景技術】
【0002】
特許文献1に、映像から人物の動作である行動を認識することが記載されている。具体的に、特許文献1では、映像の各フレームにおける人物の骨格情報から、人物の基本動作を認識し、基本動作の組み合わせからなる上位行動を認識している。このとき、基本動作として、例えば、手を上げる、下を向く、などが挙げられており、上位行動として、作業行動や不審行動などが挙げられている。
【先行技術文献】
【特許文献】
【0003】
特開2022-3434号公報
【発明の概要】
【発明が解決しようとする課題】
【0004】
しかしながら、上述した特許文献1に記載の技術では、予め基本動作が定義されていなければならず、定義されていない場合には動作を認識することができない。その結果、人物の動作を適切に認識することができない、という問題が生じる。
【0005】
このため、本開示の目的の一つは、上述した課題である、人物の動作を適切に認識することができない、ことを解決することにある。
【課題を解決するための手段】
【0006】
本開示の一形態である動作認識装置は、
時系列の動作データから所定の時間単位毎における動作の特徴を表す動作特徴データを抽出する抽出部と、
所定の時間単位毎の前記動作特徴データをそれぞれ動作要素データに変換する変換部と、
前記動作要素データの時系列に沿った配列に基づいて、前記動作要素データを結合した結合データを基本動作データとして生成する結合部と、
を備えた、
という構成をとる。
また、本開示の一形態である動作認識方法は、
時系列の動作データから所定の時間単位毎における動作の特徴を表す動作特徴データを抽出し、
所定の時間単位毎の前記動作特徴データをそれぞれ動作要素データに変換し、
前記動作要素データの時系列に沿った配列に基づいて、前記動作要素データを結合した結合データを基本動作データとして生成する、
という構成をとる。
また、本開示の一形態であるプログラムは、
時系列の動作データから所定の時間単位毎における動作の特徴を表す動作特徴データを抽出し、
所定の時間単位毎の前記動作特徴データをそれぞれ動作要素データに変換し、
前記動作要素データの時系列に沿った配列に基づいて、前記動作要素データを結合した結合データを基本動作データとして生成する、
処理をコンピュータに実行させる、
という構成をとる。
【発明の効果】
【0007】
本開示は、以上のように構成されることにより、人物の動作を適切に認識することができる。
【図面の簡単な説明】
【0008】
本開示にかかる動作認識装置の構成を示すブロック図である。
本開示にかかる動作認識装置の構成を示すブロック図である。
本開示にかかる動作認識装置の構成を示すブロック図である。
本開示にかかる動作認識装置の構成を示すブロック図である。
本開示にかかる動作認識装置の構成を示すブロック図である。
本開示にかかる動作認識装置の構成を示すブロック図である。
本開示にかかる動作認識装置の処理動作を示すフローチャートである。
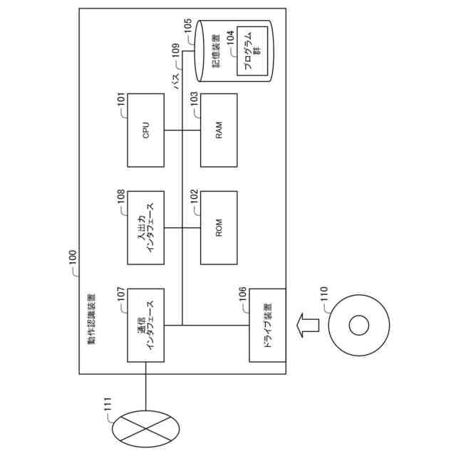
本開示にかかる動作認識装置のハードウェア構成を示すブロック図である。
本開示にかかる動作認識装置の構成を示すブロック図である。
【発明を実施するための形態】
【0009】
<第1の実施形態>
本開示の第1の実施形態について、図面を参照して説明する。なお、図面はいずれの実施形態においても関連しうる。
【0010】
[構成]
本実施形態における動作認識装置10は、映像などから取得できる人物の時系列の動作データから、人物の動作を認識するものである。なお、以下では、認識対象となる人物の動作を、上位動作と称することとする。このとき、人物の上位動作は、基本動作の組み合わせから構成されるため、まずは動作データから基本動作を認識する必要があるが、上位動作に含まれる基本動作が不明である場合がある。そこで、本実施形態における動作認識装置10は、人物の動作データから、上位動作を構成する基本動作をまずは特定することとする。
(【0011】以降は省略されています)
この特許をJ-PlatPat(特許庁公式サイト)で参照する
関連特許
日本電気株式会社
特定装置
2日前
日本電気株式会社
交渉装置、交渉方法及びプログラム
10日前
日本電気株式会社
ボロメータアレイ、及び光検出方法
4日前
日本電気株式会社
情報処理装置、情報処理方法、プログラム
2日前
日本電気株式会社
乗車誘導計画装置および乗車誘導計画方法
16日前
日本電気株式会社
合意判定装置、合意判定方法及びプログラム
10日前
日本電気株式会社
発話認識装置、プログラム及び発話認識方法
4日前
日本電気株式会社
経路選択装置、経路選択方法及びプログラム
23日前
日本電気株式会社
制御装置、無線端末、方法、及びプログラム
3日前
日本電気株式会社
情報処理装置、応答方法、及び応答プログラム
4日前
日本電気株式会社
情報処理装置、情報処理方法およびプログラム
10日前
日本電気株式会社
原子発振器、制御方法、制御装置、プログラム
2日前
日本電気株式会社
学習装置、利用装置、学習方法及びプログラム
23日前
日本電気株式会社
情報処理装置、情報処理方法およびプログラム
11日前
日本電気株式会社
質問処理装置、質問処理方法、及びプログラム
16日前
日本電気株式会社
情報共有装置、情報共有方法、およびプログラム
4日前
日本電気株式会社
文書検索装置、文書検索方法、及び、プログラム
10日前
日本電気株式会社
情報処理装置、情報処理方法、及び、プログラム
3日前
日本電気株式会社
スケジューリング装置、方法、および、プログラム
10日前
日本電気株式会社
同期装置、同期システム、同期方法及びプログラム
2日前
日本電気株式会社
サーバ装置、サーバ装置の制御方法及びプログラム
23日前
日本電気株式会社
ダッシュボード表示装置、表示方法及びプログラム
2日前
日本電気株式会社
システム、端末装置、情報処理方法、及びプログラム
10日前
日本電気株式会社
画像解析システム、注目点検出装置及び画像解析方法
2日前
日本電気株式会社
監視システム、監視装置、監視方法、及び、プログラム
3日前
日本電気株式会社
天体撮像装置、天体撮像方法および天体撮像プログラム
4日前
日本電気株式会社
治験支援装置、治験支援方法および治験支援プログラム
2日前
日本電気株式会社
セキュリティシステム、セキュリティ方法及びプログラム
3日前
日本電気株式会社
情報処理装置、情報処理方法、および情報処理プログラム
10日前
日本電気株式会社
旅行支援端末、装置、システム、方法、及び、プログラム
18日前
日本電気株式会社
テスト前提データ導出装置およびテスト前提データ導出方法
10日前
日本電気株式会社
通信制御装置、通信システム、通信制御方法及びプログラム
2日前
日本電気株式会社
サーバ装置、システム、サーバ装置の制御方法及びプログラム
4日前
日本電気株式会社
情報処理装置、情報処理システム、情報処理方法及びプログラム
23日前
日本電気株式会社
ボロメータアレイ、ボロメータアレイユニット、及び光検出方法
4日前
日本電気株式会社
ハッシュタグ生成装置、ハッシュタグ生成方法、及び、プログラム
10日前
続きを見る
他の特許を見る