TOP
|
特許
|
意匠
|
商標
特許ウォッチ
Twitter
他の特許を見る
10個以上の画像は省略されています。
公開番号
2025167020
公報種別
公開特許公報(A)
公開日
2025-11-07
出願番号
2024071276
出願日
2024-04-25
発明の名称
情報処理装置、情報処理システム、情報処理方法及びプログラム
出願人
日本電気株式会社
代理人
個人
主分類
G06Q
10/06 20230101AFI20251030BHJP(計算;計数)
要約
【課題】人的資本経営に資することが可能な情報処理装置、情報処理システム、情報処理方法及びプログラムを提供する。
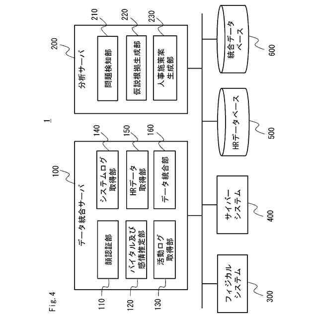
【解決手段】情報処理装置は、人物のサイバー空間上及びフィジカル空間上のログ情報を取得する第1の取得部と、記人物の人的資源情報を取得する第2の取得部と、人物のログ情報と人物の人的資源情報とを紐づけた統合データを格納する格納部と、統合データに基づいて、人的資本経営に関する問題に対する仮説及び根拠を生成し、生成した仮説及び根拠を出力する第1の生成部と、を備える。
【選択図】図1
特許請求の範囲
【請求項1】
人物のサイバー空間上及びフィジカル空間上のログ情報を取得する第1の取得手段と、
前記人物の人的資源情報を取得する第2の取得手段と、
前記人物のログ情報と前記人物の人的資源情報とを紐づけた統合データを格納する格納手段と、
前記統合データに基づいて、人的資本経営に関する問題に対する仮説及び根拠を生成し、前記生成した仮説及び根拠を出力する第1の生成手段と、
を備える情報処理装置。
続きを表示(約 1,200 文字)
【請求項2】
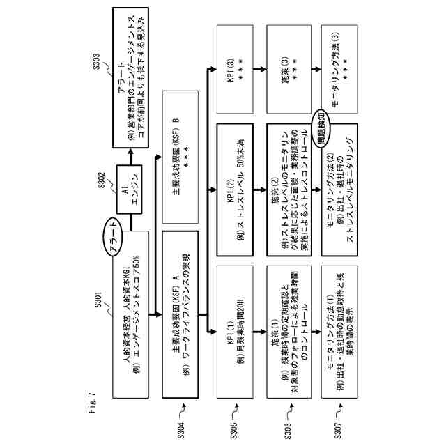
前記人物のログ情報に基づいて、前記問題を検出する検出手段を備える、
請求項1に記載の情報処理装置。
【請求項3】
前記第1の生成手段は、前記問題の検出結果に応じて、前記問題の要因に対する問いを生成し、前記生成した問いと前記統合データに基づいて、前記仮説及び根拠を生成する、
請求項2に記載の情報処理装置。
【請求項4】
前記検出手段は、前記人的資本経営のためのKGIに基づいて、前記問題を検出する、
請求項2に記載の情報処理装置。
【請求項5】
前記検出手段は、前記人物のログ情報に基づいて、前記KGIに関するKPIを判定し、前記問題を検出する、
請求項4に記載の情報処理装置。
【請求項6】
前記仮説及び根拠に基づいて、前記問題に対する人事施策案を作成する第2の生成手段を備える、
請求項1乃至5のいずれか一項に記載の情報処理装置。
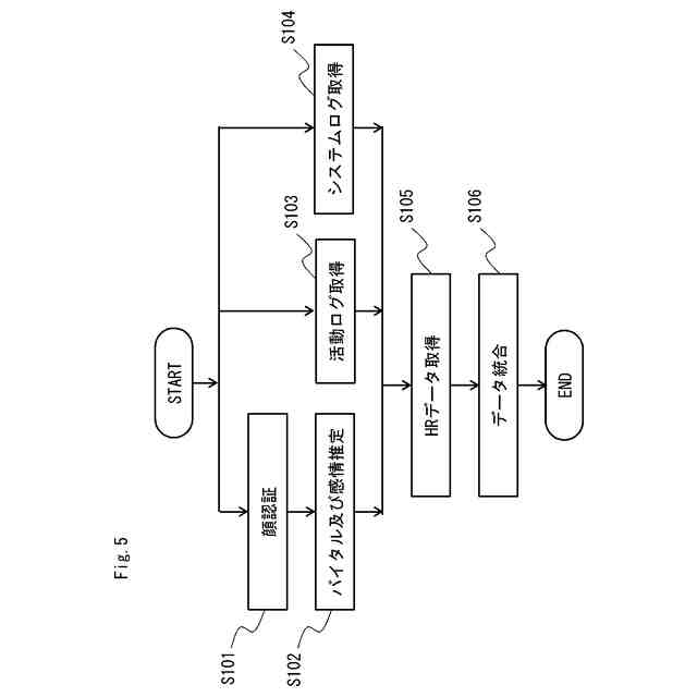
【請求項7】
前記人物のサイバー空間上のログ情報は、前記人物のシステム利用ログを含み、
前記人物のフィジカル空間上のログ情報は、前記人物のバイタル情報、前記人物の感情情報、前記人物の活動ログのいずれかを含み、
前記人物の人的資源情報は、前記人物の属性情報、前記人物の成果情報、前記人物の意識情報のいずれかを含む、
請求項1乃至5のいずれか一項に記載の情報処理装置。
【請求項8】
人物のサイバー空間上及びフィジカル空間上のログ情報を取得する第1の取得手段と、
前記人物の人的資源情報を取得する第2の取得手段と、
前記人物のログ情報と前記人物の人的資源情報とを紐づけた統合データを格納する格納手段と、
前記統合データに基づいて、人的資本経営に関する問題に対する仮説及び根拠を生成し、前記生成した仮説及び根拠を出力する第1の生成手段と、
を備える情報処理システム。
【請求項9】
人物のサイバー空間上及びフィジカル空間上のログ情報を取得し、
前記人物の人的資源情報を取得し、
前記人物のログ情報と前記人物の人的資源情報とを紐づけた統合データを格納し、
前記統合データに基づいて、人的資本経営に関する問題に対する仮説及び根拠を生成し、前記生成した仮説及び根拠を出力する、
情報処理方法。
【請求項10】
人物のサイバー空間上及びフィジカル空間上のログ情報を取得し、
前記人物の人的資源情報を取得し、
前記人物のログ情報と前記人物の人的資源情報とを紐づけた統合データを格納し、
前記統合データに基づいて、人的資本経営に関する問題に対する仮説及び根拠を生成し、前記生成した仮説及び根拠を出力する、
処理をコンピュータに実行させるためのプログラム。
発明の詳細な説明
【技術分野】
【0001】
本開示は、情報処理装置、情報処理システム、情報処理方法及びプログラムに関する。
続きを表示(約 1,400 文字)
【背景技術】
【0002】
近年、企業の経営に関し、人材を資本と捉えて企業価値を高める人的資本経営が注目されている。企業における人材の価値を最大限に引き出すためには、人材に関する情報を分析し、経営戦略へ結び付けることが必要である。
【0003】
関連する技術として、例えば、特許文献1には、作業従事者のバイタル情報、行動情報、作業品質情報を紐づけて分析するシステムが記載されている。
【先行技術文献】
【特許文献】
【0004】
特開2022-082304号公報
【発明の概要】
【発明が解決しようとする課題】
【0005】
特許文献1では、作業従事者のバイタル情報、行動情報、作業品質情報等を分析して、作業従事者への作業に関するアドバイスを生成する。このように、特許文献1などの関連する技術では、人物の情報を分析しているものの、人的資本経営について考慮されていないため、人的資本経営に資することはできない。
【0006】
本開示は、このような課題に鑑み、人的資本経営に資することが可能な情報処理装置、情報処理システム、情報処理方法及びプログラムを提供することを目的の一つとする。
【課題を解決するための手段】
【0007】
本開示の一態様に係る情報処理装置は、人物のサイバー空間上及びフィジカル空間上のログ情報を取得する第1の取得手段と、前記人物の人的資源情報を取得する第2の取得手段と、前記人物のログ情報と前記人物の人的資源情報とを紐づけた統合データを格納する格納手段と、前記統合データに基づいて、人的資本経営に関する問題に対する仮説及び根拠を生成し、前記生成した仮説及び根拠を出力する第1の生成手段と、を備えるものである。
【0008】
本開示の一態様に係る情報処理システムは、人物のサイバー空間上及びフィジカル空間上のログ情報を取得する第1の取得手段と、前記人物の人的資源情報を取得する第2の取得手段と、前記人物のログ情報と前記人物の人的資源情報とを紐づけた統合データを格納する格納手段と、前記統合データに基づいて、人的資本経営に関する問題に対する仮説及び根拠を生成し、前記生成した仮説及び根拠を出力する第1の生成手段と、を備えるものである。
【0009】
本開示の一態様に係る情報処理方法は、人物のサイバー空間上及びフィジカル空間上のログ情報を取得し、前記人物の人的資源情報を取得し、前記人物のログ情報と前記人物の人的資源情報とを紐づけた統合データを格納し、前記統合データに基づいて、人的資本経営に関する問題に対する仮説及び根拠を生成し、前記生成した仮説及び根拠を出力するものである。
【0010】
本開示の一態様に係るプログラムは、人物のサイバー空間上及びフィジカル空間上のログ情報を取得し、前記人物の人的資源情報を取得し、前記人物のログ情報と前記人物の人的資源情報とを紐づけた統合データを格納し、前記統合データに基づいて、人的資本経営に関する問題に対する仮説及び根拠を生成し、前記生成した仮説及び根拠を出力する、処理をコンピュータに実行させるためのプログラムである。
【発明の効果】
(【0011】以降は省略されています)
この特許をJ-PlatPat(特許庁公式サイト)で参照する
関連特許
日本電気株式会社
管理装置
1か月前
日本電気株式会社
監視装置
1か月前
日本電気株式会社
監視装置
1か月前
日本電気株式会社
光モジュール
26日前
日本電気株式会社
海底分岐装置
1か月前
日本電気株式会社
異常検知装置
1か月前
日本電気株式会社
推論装置および推論方法
18日前
日本電気株式会社
ラインカード及びイジェクタ
1か月前
日本電気株式会社
時刻維持装置および時刻維持方法
17日前
日本電気株式会社
考査装置、考査方法、プログラム
19日前
日本電気株式会社
考査装置、考査方法、プログラム
19日前
日本電気株式会社
交渉装置、交渉方法及びプログラム
3日前
日本電気株式会社
交渉装置、交渉方法及びプログラム
26日前
日本電気株式会社
端末、端末の制御方法及びプログラム
1か月前
日本電気株式会社
監視装置、監視方法、及びプログラム
16日前
日本電気株式会社
レコメンド装置およびレコメンド方法
1か月前
日本電気株式会社
安否確認支援装置、方法及びプログラム
1か月前
日本電気株式会社
情報処理装置、情報処理方法、プログラム
18日前
日本電気株式会社
乗車誘導計画装置および乗車誘導計画方法
9日前
日本電気株式会社
店舗端末、情報処理方法、及びプログラム
18日前
日本電気株式会社
健康管理装置、健康管理方法及びプログラム
26日前
日本電気株式会社
合意判定装置、合意判定方法及びプログラム
24日前
日本電気株式会社
処理システム、処理方法、およびプログラム
1か月前
日本電気株式会社
視聴支援装置、視聴支援方法及びプログラム
24日前
日本電気株式会社
経路選択装置、経路選択方法及びプログラム
16日前
日本電気株式会社
合意判定装置、合意判定方法及びプログラム
3日前
日本電気株式会社
行動推奨装置、行動推奨方法及びプログラム
1か月前
日本電気株式会社
処理システム、処理方法、およびプログラム
1か月前
日本電気株式会社
学習装置、利用装置、学習方法及びプログラム
16日前
日本電気株式会社
情報処理装置、情報処理方法およびプログラム
3日前
日本電気株式会社
情報処理装置、情報処理方法、及びプログラム
24日前
日本電気株式会社
情報処理装置、分析方法、及び分析プログラム
24日前
日本電気株式会社
情報処理装置、情報処理方法およびプログラム
4日前
日本電気株式会社
画像生成装置、画像生成方法、及びプログラム
24日前
日本電気株式会社
質問処理装置、質問処理方法、及びプログラム
9日前
日本電気株式会社
情報処理装置、情報処理方法、及びプログラム
17日前
続きを見る
他の特許を見る