TOP
|
特許
|
意匠
|
商標
特許ウォッチ
Twitter
他の特許を見る
10個以上の画像は省略されています。
公開番号
2025172574
公報種別
公開特許公報(A)
公開日
2025-11-26
出願番号
2024078158
出願日
2024-05-13
発明の名称
ボロメータアレイ、ボロメータアレイユニット、及び光検出方法
出願人
日本電気株式会社
代理人
個人
,
個人
主分類
G01J
1/02 20060101AFI20251118BHJP(測定;試験)
要約
【課題】複数のボロメータにおける抵抗値や抵抗温度変化係数の特性のばらつきによる影響を抑制する可能とする。
【解決手段】ボロメータアレイであって、複数のボロメータと、複数のボロメータが並んで設けられた基板と、を備え、各々のボロメータは、第1電極と、第1電極と電極間領域を挟んで設けられた第2電極と、第1電極及び第2電極と接続された半導体型カーボンナノチューブ膜と、半導体型カーボンナノチューブ膜に対して離れて配置されると共に、半導体型カーボンナノチューブ膜に印加される電場を半導体型カーボンナノチューブ膜の特性に応じて調整可能な第3電極と、を備える。
【選択図】図36
特許請求の範囲
【請求項1】
複数のボロメータと、
複数の前記ボロメータが並んで設けられた基板と、
を備え、
各々の前記ボロメータは、
第1電極と、
前記第1電極と電極間領域を挟んで設けられた第2電極と、
前記第1電極及び前記第2電極と接続された半導体型カーボンナノチューブ膜と、
前記半導体型カーボンナノチューブ膜に対して離れて配置されると共に、前記半導体型カーボンナノチューブ膜に印加される電場を前記半導体型カーボンナノチューブ膜の特性に応じて調整可能な第3電極と、
を備える、
ボロメータアレイ。
続きを表示(約 1,400 文字)
【請求項2】
各々の前記ボロメータは、
前記第1電極、前記第2電極及び前記半導体型カーボンナノチューブ膜を前記基板との間に空洞が形成されるように支持する支持脚を有し、
前記支持脚として、
前記第1電極に接続される第1配線を内包する第1支持脚と、
前記第2電極に接続される第2配線を内包する第2支持脚と、
前記第3電極に接続される第3配線を内包する第3支持脚と、
を備える、
請求項1記載のボロメータアレイ。
【請求項3】
各々の前記ボロメータは、前記支持脚として、配線を内包しない第4支持脚を備える、
請求項2記載のボロメータアレイ。
【請求項4】
前記ボロメータは、第1方向と前記第1方向と直交する第2方向との各々に配列されており、
前記第1方向及び前記第2方向と直交する第3方向から見て、前記第1支持脚と前記第2支持脚とが前記半導体型カーボンナノチューブ膜を間に挟んで前記第1方向に配列されており、前記第3支持脚と前記第4支持脚とが前記半導体型カーボンナノチューブ膜を間に挟んで前記第2方向に配列されている、
請求項3記載のボロメータアレイ。
【請求項5】
前記ボロメータは、第1方向と前記第1方向と直交する第2方向との各々に配列されており、
前記第1方向及び前記第2方向と直交する第3方向から見て、前記第3電極は、前記半導体型カーボンナノチューブ膜に、少なくとも一部が重なるように配置されている、
請求項1~4のいずれか一項に記載のボロメータアレイ。
【請求項6】
前記第3方向から見て、前記第3電極は、前記第1電極及び前記第2電極の少なくとも一方に、少なくとも一部が重なるように配置されている、
請求項5記載のボロメータアレイ。
【請求項7】
各々の前記ボロメータは、前記第3方向にて、前記半導体型カーボンナノチューブ膜を間に挟んで配列される複数の前記第3電極を備える、
請求項5記載のボロメータアレイ。
【請求項8】
前記ボロメータは、第1方向と前記第1方向と直交する第2方向との各々に配列されており、
前記第1電極と前記第2電極とが前記第1方向にて前記半導体型カーボンナノチューブ膜を間に挟んで配列されており、
前記第3電極は、前記第2方向にて前記半導体型カーボンナノチューブ膜と並んで配置されている、
請求項1~4のいずれか一項に記載のボロメータアレイ。
【請求項9】
請求項1~4のいずれか一項に記載のボロメータアレイと、
前記ボロメータごとに前記第3電極に印加する電圧を調整可能な制御装置と、
を備える、
ボロメータアレイユニット。
【請求項10】
ボロメータアレイは、ボロメータとして第1ボロメータと第2ボロメータとを備え、
各々の前記ボロメータが、
第1電極と、
前記第1電極と電極間領域を挟んで設けられた第2電極と、
前記第1電極及び前記第2電極と接続された半導体型カーボンナノチューブ膜と、
を備え、
前記半導体型カーボンナノチューブ膜に印加される電場を前記半導体型カーボンナノチューブ膜の特性に応じて調整する、
光検出方法。
発明の詳細な説明
【技術分野】
【0001】
本開示は、ボロメータアレイ、ボロメータアレイユニット、及び光検出方法に関する。
続きを表示(約 3,200 文字)
【背景技術】
【0002】
赤外線を検出するために、ボロメータが用いられることは広く知られている。
例えば、特許文献1は、半導体型カーボンチューブを含むカーボンナノチューブ膜を備えるボロメータ型赤外線検出器を開示する。また、特許文献1は、複数の素子をアレイ状に並べてボロメータアレイとすることが可能であることも開示する。
【先行技術文献】
【特許文献】
【0003】
特開2023-174027号公報
【発明の概要】
【発明が解決しようとする課題】
【0004】
半導体型カーボンナノチューブ膜を有するボロメータは、保護膜等の物質がドーピングされることで、半導体型カーボンナノチューブ膜の特性が変化する。
複数のボロメータを備えるボロメータアレイでは、ボロメータの位置に応じて、半導体型カーボンナノチューブ膜のドーピング状態が異なる。このようなドーピング状態のばらつきの影響でキャリアの状態密度のばらつきが生じ、ボロメータの抵抗値や抵抗温度変化係数等の特性にもばらつきが生じ、検出性能の向上の妨げとなる可能性がある。
【0005】
本開示の目的は、上述の課題を解決するボロメータアレイ、ボロメータアレイユニット、及び光検出方法を提供することにある。
【課題を解決するための手段】
【0006】
本開示の一態様に係るボロメータアレイは、複数のボロメータと、複数の上記ボロメータが並んで設けられた基板と、を備え、各々の上記ボロメータが、第1電極と、上記第1電極と電極間領域を挟んで設けられた第2電極と、上記第1電極及び上記第2電極と接続された半導体型カーボンナノチューブ膜と、上記半導体型カーボンナノチューブ膜に対して離れて配置されると共に、上記半導体型カーボンナノチューブ膜に印加される電場を上記半導体型カーボンナノチューブ膜の特性に応じて調整可能な第3電極と、を備える。
【0007】
本開示の一態様に係るボロメータアレイユニットは、本開示の一態様に係るボロメータアレイと、ボロメータごとに上記第3電極に印加する電圧を調整可能な制御装置と、を備える。
【0008】
本開示の一態様に係る光検出方法は、 ボロメータアレイが、ボロメータとして第1ボロメータと第2ボロメータとを備え、各々の上記ボロメータが、第1電極と、上記第1電極と電極間領域を挟んで設けられた第2電極と、上記第1電極及び上記第2電極と接続された半導体型カーボンナノチューブ膜と、を備え、上記半導体型カーボンナノチューブ膜に印加される電場を上記半導体型カーボンナノチューブ膜の特性に応じて調整する。
【発明の効果】
【0009】
上記一態様によれば、ボロメータの抵抗値や抵抗温度変化係数等の特性のばらつきに基づく検出性能への影響を抑止することができる。
【図面の簡単な説明】
【0010】
本開示に係るボロメータアレイの一例を示す模式的な平面図である。
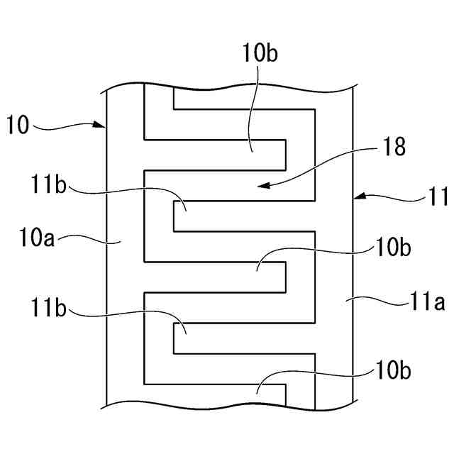
本開示に係るボロメータアレイが備えるボロメータの一例を示す模式的な平面図である。
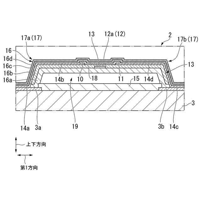
本開示に係るボロメータアレイが備えるボロメータの一例を示す模式的な断面図であり、図2のA-A断面図である。
本開示に係るボロメータが備える電極間領域を含む模式的な平面図である。
本開示に係るボロメータアレイの製造方法の一例を示すフローチャートである。
本開示に係るボロメータアレイの製造方法のステップS1における製造途中のボロメータアレイの一例を示す模式的な断面図である。
本開示に係るボロメータアレイの製造方法のステップS2における製造途中のボロメータアレイの一例を示す模式的な断面図である。
本開示に係るボロメータアレイの製造方法のステップS3における製造途中のボロメータアレイの一例を示す模式的な断面図である。
本開示に係るボロメータアレイの製造方法のステップS4における製造途中のボロメータアレイの一例を示す模式的な断面図である。
本開示に係るボロメータアレイの製造方法のステップS5における製造途中のボロメータアレイの一例を示す模式的な断面図である。
本開示に係るボロメータアレイの製造方法のステップS6における製造途中のボロメータアレイの一例を示す模式的な断面図である。
本開示に係るボロメータアレイの製造方法のステップS7における製造途中のボロメータアレイの一例を示す模式的な断面図である。
本開示に係るボロメータアレイの製造方法のステップS8における製造途中のボロメータアレイの一例を示す模式的な断面図である。
本開示に係るボロメータアレイの製造方法のステップS9における製造途中のボロメータアレイの一例を示す模式的な断面図である。
本開示に係るボロメータアレイの製造方法のステップS10における製造途中のボロメータアレイの一例を示す模式的な断面図である。
本開示に係るボロメータアレイの製造方法のステップS11における製造途中のボロメータアレイの一例を示す模式的な断面図である。
本開示に係るボロメータアレイの製造方法のステップS12における製造途中のボロメータアレイの一例を示す模式的な断面図である。
本開示に係るボロメータアレイの製造方法のステップS13における製造途中のボロメータアレイの一例を示す模式的な断面図である。
本開示に係るボロメータアレイが備えるボロメータの第3電極を含む模式図である。
本開示に係るボロメータアレイが備えるボロメータの変形例の第3電極を含む模式的な縦断面図である。
本開示に係るボロメータアレイが備えるボロメータの変形例の第3電極を含む模式的な縦断面図である。
本開示に係るボロメータアレイが備えるボロメータの変形例の第3電極を含む模式的な縦断面図である。
本開示に係るボロメータアレイが備えるボロメータの変形例の第3電極を含む模式的な縦断面図である。
本開示に係るボロメータアレイが備えるボロメータの変形例の第3電極を含む模式的な縦断面図である。
本開示に係るボロメータアレイが備えるボロメータの変形例の第3電極を含む模式的な縦断面図である。
本開示に係るボロメータアレイが備えるボロメータの変形例の第3電極を含む模式的な縦断面図である。
本開示に係るボロメータアレイが備えるボロメータの変形例の第3電極を含む模式的な横断面図である。
本開示に係るボロメータアレイが備えるボロメータの変形例の第3電極を含む模式的な横断面図である。
本開示に係るボロメータアレイが備えるボロメータの変形例の第3電極を含む模式的な横断面図である。
本開示に係るボロメータアレイが備えるボロメータの変形例の第3電極を含む模式的な横断面図である。
本開示に係るボロメータアレイが備えるボロメータの変形例の第3電極を含む模式的な横断面図である。
本開示に係るボロメータアレイが備えるボロメータの変形例の第3電極を含む模式的な横断面図である。
本開示に係るボロメータアレイが備えるボロメータの変形例を示す模式的な断面図である。
本開示に係るボロメータアレイが備えるボロメータの変形例を示す模式的な断面図である。
本開示に係るボロメータアレイユニットの一例を示す模式図である。
本開示に係るボロメータアレイの一例を示す模式的な断面図である。
【発明を実施するための形態】
(【0011】以降は省略されています)
この特許をJ-PlatPat(特許庁公式サイト)で参照する
関連特許
日本電気株式会社
管理装置
1か月前
日本電気株式会社
監視装置
1か月前
日本電気株式会社
監視装置
1か月前
日本電気株式会社
異常検知装置
1か月前
日本電気株式会社
光モジュール
29日前
日本電気株式会社
海底分岐装置
1か月前
日本電気株式会社
推論装置および推論方法
21日前
日本電気株式会社
ラインカード及びイジェクタ
1か月前
日本電気株式会社
時刻維持装置および時刻維持方法
20日前
日本電気株式会社
考査装置、考査方法、プログラム
22日前
日本電気株式会社
考査装置、考査方法、プログラム
22日前
日本電気株式会社
ボロメータアレイ、及び光検出方法
今日
日本電気株式会社
交渉装置、交渉方法及びプログラム
29日前
日本電気株式会社
交渉装置、交渉方法及びプログラム
6日前
日本電気株式会社
監視装置、監視方法、及びプログラム
19日前
日本電気株式会社
端末、端末の制御方法及びプログラム
1か月前
日本電気株式会社
レコメンド装置およびレコメンド方法
1か月前
日本電気株式会社
安否確認支援装置、方法及びプログラム
1か月前
日本電気株式会社
店舗端末、情報処理方法、及びプログラム
21日前
日本電気株式会社
情報処理装置、情報処理方法、プログラム
21日前
日本電気株式会社
乗車誘導計画装置および乗車誘導計画方法
12日前
日本電気株式会社
経路選択装置、経路選択方法及びプログラム
19日前
日本電気株式会社
健康管理装置、健康管理方法及びプログラム
29日前
日本電気株式会社
処理システム、処理方法、およびプログラム
1か月前
日本電気株式会社
発話認識装置、プログラム及び発話認識方法
今日
日本電気株式会社
合意判定装置、合意判定方法及びプログラム
6日前
日本電気株式会社
視聴支援装置、視聴支援方法及びプログラム
27日前
日本電気株式会社
合意判定装置、合意判定方法及びプログラム
27日前
日本電気株式会社
行動推奨装置、行動推奨方法及びプログラム
1か月前
日本電気株式会社
処理システム、処理方法、およびプログラム
1か月前
日本電気株式会社
情報処理装置、情報処理方法、及びプログラム
20日前
日本電気株式会社
視線検出装置、視線検出方法、及びプログラム
1か月前
日本電気株式会社
情報処理装置、情報処理方法、及びプログラム
20日前
日本電気株式会社
情報処理装置、情報処理方法、及びプログラム
20日前
日本電気株式会社
情報処理装置、情報処理方法、及びプログラム
1か月前
日本電気株式会社
情報処理装置、情報処理方法、及びプログラム
20日前
続きを見る
他の特許を見る