TOP
|
特許
|
意匠
|
商標
特許ウォッチ
Twitter
他の特許を見る
10個以上の画像は省略されています。
公開番号
2025171687
公報種別
公開特許公報(A)
公開日
2025-11-20
出願番号
2024077276
出願日
2024-05-10
発明の名称
ハッシュタグ生成装置、ハッシュタグ生成方法、及び、プログラム
出願人
日本電気株式会社
代理人
個人
,
個人
主分類
G06F
16/908 20190101AFI20251113BHJP(計算;計数)
要約
【課題】ユーザがコンテンツを見つけ易いハッシュタグを生成可能なハッシュタグ生成装置、方法及びプログラムを提供すること。
【解決手段】本開示のハッシュタグ生成装置は、文章、画像、動画及び音声の少なくともいずれかを含むコンテンツに対してハッシュタグを生成する生成プロンプトを受付する受付部と、ハッシュタグの生成に用い、機械学習による言語モデルに対して、ハッシュタグの生成のために複数の人格を設定する設定部と、言語モデルに対して設定された複数の人格の間でのプロンプトを用いた対話を通じて、コンテンツのハッシュタグを生成する生成部と、生成したハッシュタグを出力させる出力部と、を備え、出力した文書により意思決定を支援することができる。
【選択図】図1
特許請求の範囲
【請求項1】
文章、画像、動画及び音声の少なくともいずれかを含むコンテンツに対してハッシュタグを生成する生成プロンプトを受付する、受付手段と、
前記ハッシュタグの生成に用いる言語モデルに対して、ハッシュタグの生成のために複数の人格を設定する、設定手段と、
前記言語モデルに対して設定された複数の人格の間でのプロンプトを用いた対話を通じて、前記コンテンツのハッシュタグを生成する、生成手段と、
生成した前記ハッシュタグを出力させる、出力手段と、を備える、ハッシュタグ生成装置。
続きを表示(約 1,300 文字)
【請求項2】
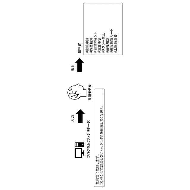
前記複数の人格として、前記コンテンツの内容が答えとなる質問をするインタビューアと、ハッシュタグを生成するコピーライタと、前記コピーライタと前記インタビューアとの間の対話の支援するファシリテータを少なくとも含む、請求項1に記載のハッシュタグ生成装置。
【請求項3】
前記生成手段は、前記言語モデルに、前記ファシリテータが、前記コンテンツが答えとなる質問を前記インタビューアに出力させるためのプロンプトを入力する、請求項2に記載のハッシュタグ生成装置。
【請求項4】
前記生成手段は、前記言語モデルに、前記ファシリテータが、前記コンテンツの内容と前記インタビューアからの前記質問に基づき、前記コピーライタにハッシュタグを生成させるためのプロンプトを入力する、請求項3に記載のハッシュタグ生成装置。
【請求項5】
前記複数の人格として、更に、生成したハッシュタグの妥当性を判定する裁判官を含み、
前記ファシリテータは、前記インタビューアと前記コピーライタと前記裁判官との間の対話を支援する、請求項2に記載のハッシュタグ生成装置。
【請求項6】
前記受付手段は、更に、ハッシュタグ生成するためのハッシュタグ候補を受付し、
前記生成手段は、前記ハッシュタグ候補を用いて、前記コンテンツのハッシュタグを生成する、請求項1~請求項5のいずれか一項に記載のハッシュタグ生成装置。
【請求項7】
前記受付手段は、更に、前記コンテンツを検索したユーザが入力した検索タグを受付し、
前記検索タグに基づいて、前記コンテンツの内容の修正を提案する、修正手段を更に備える、請求項1に記載のハッシュタグ生成装置。
【請求項8】
前記修正手段は、更に、提案した修正に対して承諾を受付した場合、前記提案に沿って前記コンテンツを修正する、請求項7に記載のハッシュタグ生成装置。
【請求項9】
コンピュータが、
文章、画像、動画及び音声の少なくともいずれかを含むコンテンツに対してハッシュタグを生成する生成プロンプトを受付し、
前記ハッシュタグの生成に用いる言語モデルに対して、ハッシュタグの生成のために複数の人格を設定し、
前記言語モデルに対して設定された複数の人格の間でのプロンプトを用いた対話を通じて、前記コンテンツのハッシュタグを生成し、
生成した前記ハッシュタグを出力させる、ハッシュタグ生成方法。
【請求項10】
文章、画像、動画及び音声の少なくともいずれかを含むコンテンツに対してハッシュタグを生成する生成プロンプトを受付し、
前記ハッシュタグの生成に用いる言語モデルに対して、ハッシュタグの生成のために複数の人格を設定し、
前記言語モデルに対して設定された複数の人格の間でのプロンプトを用いた対話を通じて、前記コンテンツのハッシュタグを生成し、
生成した前記ハッシュタグを出力させる、ことをコンピュータに実行させるプログラム。
発明の詳細な説明
【技術分野】
【0001】
本開示は、ハッシュタグ生成装置、ハッシュタグ生成方法、及び、プログラムに関する。
続きを表示(約 1,400 文字)
【背景技術】
【0002】
組織において、文書、メールやチャットによるメッセージ、製品の口コミ情報等の自然言語ベースの情報が膨大に蓄積されている。情報を検索するユーザは、必要な情報を検索するために、検索ワードを入力して情報を検索する。検索システムにおいて、コンテンツ提供者は、ユーザが該当コンテンツを容易に見つけられるよう事前にハッシュタグを付与する。
【0003】
コンテンツ提供者側のハッシュタグの生成工数を削減するために、ハッシュタグを自動生成させる技術がある。例えば、特許文献1には、SNS(Social Networking Service)サービス等に投稿されたデジタルコンテンツに対して、ハッシュタグを生成する技術が開示されている。
【先行技術文献】
【特許文献】
【0004】
特開2023-145963号公報
【発明の概要】
【発明が解決しようとする課題】
【0005】
ユーザが、探しているコンテンツをより見つけ易くするようなハッシュタグを生成することが求められている。この場合、コンテンツ内のテキスト又は画像には直接表現されていない内容を含むハッシュタグの生成が必要である。
【0006】
本開示の目的の一例は、ユーザがコンテンツを見つけ易いハッシュタグを生成可能なハッシュタグ生成装置等を提供することにある。
【課題を解決するための手段】
【0007】
本開示の一態様におけるハッシュタグ生成装置は、文章、画像、動画及び音声の少なくともいずれかを含むコンテンツに対してハッシュタグを生成する生成プロンプトを受付する、受付手段と、ハッシュタグの生成に用いる言語モデルに対して、ハッシュタグの生成のために複数の人格を設定する、設定手段と、言語モデルに対して設定された複数の人格の間でのプロンプトを用いた対話を通じて、コンテンツのハッシュタグを生成する、生成手段と、生成したハッシュタグを出力させる、出力手段と、を備える。
【0008】
本開示の一態様におけるハッシュタグ生成方法は、コンピュータが、文章、画像、動画及び音声の少なくともいずれかを含むコンテンツに対してハッシュタグを生成する生成プロンプトを受付し、ハッシュタグの生成に用いる言語モデルに対して、ハッシュタグの生成のために複数の人格を設定し、言語モデルに対して設定された複数の人格の間でのプロンプトを用いた対話を通じて、コンテンツのハッシュタグを生成し、生成したハッシュタグを出力させる。
【0009】
本開示の一態様におけるプログラムは、文章、画像、動画及び音声の少なくともいずれかを含むコンテンツに対してハッシュタグを生成する生成プロンプトを受付し、ハッシュタグの生成に用いる言語モデルに対して、ハッシュタグの生成のために複数の人格を設定し、言語モデルに対して設定された複数の人格の間でのプロンプトを用いた対話を通じて、コンテンツのハッシュタグを生成し、生成したハッシュタグを出力させる、ことをコンピュータに実行させる。
【発明の効果】
【0010】
本開示による効果の一例によれば、ユーザがコンテンツを見つけ易いハッシュタグの生成が可能である。
【図面の簡単な説明】
(【0011】以降は省略されています)
この特許をJ-PlatPat(特許庁公式サイト)で参照する
関連特許
日本電気株式会社
時刻維持装置および時刻維持方法
17日前
日本電気株式会社
交渉装置、交渉方法及びプログラム
3日前
日本電気株式会社
監視装置、監視方法、及びプログラム
16日前
日本電気株式会社
乗車誘導計画装置および乗車誘導計画方法
9日前
日本電気株式会社
合意判定装置、合意判定方法及びプログラム
3日前
日本電気株式会社
経路選択装置、経路選択方法及びプログラム
16日前
日本電気株式会社
学習装置、利用装置、学習方法及びプログラム
16日前
日本電気株式会社
質問処理装置、質問処理方法、及びプログラム
9日前
日本電気株式会社
情報処理装置、情報処理方法、及びプログラム
17日前
日本電気株式会社
情報処理装置、情報処理方法、及びプログラム
17日前
日本電気株式会社
情報処理装置、情報処理方法、及びプログラム
17日前
日本電気株式会社
情報処理装置、情報処理方法、及びプログラム
17日前
日本電気株式会社
情報処理装置、情報処理方法、及びプログラム
17日前
日本電気株式会社
情報処理装置、情報処理方法、及びプログラム
17日前
日本電気株式会社
情報処理装置、情報処理方法、及びプログラム
17日前
日本電気株式会社
情報処理装置、情報処理方法、及びプログラム
17日前
日本電気株式会社
情報処理装置、情報処理方法およびプログラム
4日前
日本電気株式会社
情報処理装置、情報処理方法およびプログラム
3日前
日本電気株式会社
情報出力システム、情報出力方法及びプログラム
17日前
日本電気株式会社
文書検索装置、文書検索方法、及び、プログラム
3日前
日本電気株式会社
スケジューリング装置、方法、および、プログラム
3日前
日本電気株式会社
サーバ装置、サーバ装置の制御方法及びプログラム
16日前
日本電気株式会社
飛行体監視システム、飛行体監視方法及びプログラム
17日前
日本電気株式会社
システム、端末装置、情報処理方法、及びプログラム
3日前
日本電気株式会社
中間言語生成装置、中間言語生成方法及びプログラム
17日前
日本電気株式会社
中間言語生成装置、中間言語生成方法及びプログラム
17日前
日本電気株式会社
造形管理装置、造形管理方法および造形管理プログラム
17日前
日本電気株式会社
情報処理装置、情報処理方法、および情報処理プログラム
3日前
日本電気株式会社
旅行支援端末、装置、システム、方法、及び、プログラム
11日前
日本電気株式会社
テスト前提データ導出装置およびテスト前提データ導出方法
3日前
日本電気株式会社
情報処理装置、情報処理システム、情報処理方法及びプログラム
16日前
日本電気株式会社
ハッシュタグ生成装置、ハッシュタグ生成方法、及び、プログラム
3日前
日本電気株式会社
情報処理装置、情報処理方法、プログラム、及び情報処理システム
3日前
日本電気株式会社
データベース生成装置、データ処理装置、制御装置、及びこれらの方法
3日前
日本電気株式会社
情報処理装置、情報処理方法、プログラム、サーバ、及び情報処理システム
16日前
日本電気株式会社
光増幅装置および光増幅方法
5日前
続きを見る
他の特許を見る