TOP
|
特許
|
意匠
|
商標
特許ウォッチ
Twitter
他の特許を見る
公開番号
2025170388
公報種別
公開特許公報(A)
公開日
2025-11-18
出願番号
2025144587,2023559318
出願日
2025-09-01,2021-11-11
発明の名称
光増幅装置および光増幅方法
出願人
日本電気株式会社
代理人
個人
,
個人
主分類
H01S
3/067 20060101AFI20251111BHJP(基本的電気素子)
要約
【課題】マルチコア光ファイバ伝送システムにおいては、マルチコア光伝送路とマルチコア光増幅器を接続することが困難な場合が生じる、という課題を解決する光増幅装置および光増幅方法を提供する。
【解決手段】光増幅装置は、複数の増幅用コアを備えたマルチコア光増幅手段と、マルチコア光増幅手段と、複数の伝送路コアを備えたマルチコア光伝送路とを接続する接続手段、とを有し、複数の増幅用コアの個数の総和は、複数の伝送路コアのうち信号光が伝搬する伝送コアの個数以上である。
【選択図】図1
特許請求の範囲
【請求項1】
信号光の光増幅を行う複数の増幅用コアを備えたマルチコア光増幅手段と、
前記マルチコア光増幅手段と、複数の伝送路コアを備えたマルチコア光伝送路とを接続する接続手段と、
を有し、
前記複数の増幅用コアの個数の総和は、前記複数の伝送路コアのうち前記信号光が伝搬する伝送コアの個数以上であり、
前記光増幅の動作モードに応じて選択された、前記複数の増幅用コアと、前記複数の伝送路コアと、が予め接続されている
光増幅装置。
続きを表示(約 1,000 文字)
【請求項2】
前記マルチコア光増幅手段は、前記増幅用コアの個数が異なる複数のマルチコアファイバが混在している
請求項1に記載した光増幅装置。
【請求項3】
前記動作モードは、予め定められた要求仕様に基づいて設定される
請求項1または2に記載した光増幅装置。
【請求項4】
前記マルチコア光増幅手段は、励起光をクラッド励起することによって光増幅を行う
請求項1から3のいずれか一項に記載した光増幅装置。
【請求項5】
前記動作モードが低消費電力である場合、前記増幅用コアの個数ごとに必要となる個数の前記マルチコアファイバが前記励起光の強度に基づいて選択される
請求項2を引用する請求項4に記載した光増幅装置。
【請求項6】
前記選択は、
前記マルチコア光増幅手段に含まれる複数のマルチコアファイバごとの前記励起光の強度の総和が低減するように、
信号光が伝搬する前記伝送路コアと前記複数のマルチコアファイバとの組み合わせを調整して行われる
請求項5に記載した光増幅装置。
【請求項7】
前記動作モードが高増幅効率である場合、前記増幅用コアの個数ごとに必要となる個数の前記マルチコアファイバが前記励起光の密度に基づいて選択される
請求項2を引用する請求項4に記載した光増幅装置。
【請求項8】
前記選択は、
前記マルチコア光増幅手段に含まれる複数のマルチコアファイバごとの前記励起光の密度の総和が増大するように、
信号光が伝搬する前記伝送路コアと前記複数のマルチコアファイバとの組み合わせを調整して行われる
請求項7に記載した光増幅装置。
【請求項9】
前記励起光は前記動作モードに応じた分岐比で分岐され、
前記分岐された励起光は前記マルチコア光増幅手段に含まれる複数のマルチコアファイバに各々導入される
請求項4から8のいずれか一項に記載した光増幅装置。
【請求項10】
信号光の光増幅を行う複数の増幅用コアの個数の総和が、複数の伝送路コアのうち前記信号光が伝搬する伝送コアの個数以上であり、
前記光増幅の動作モードに応じて選択された、マルチコアファイバを用いた前記複数の増幅用コアと、マルチコアファイバを用いた前記複数の伝送路コアと、が予め接続されている
光増幅方法。
発明の詳細な説明
【技術分野】
【0001】
本発明は、光増幅装置および光増幅方法に関し、特に、マルチコア光ファイバ伝送システムにおいて用いられる光増幅装置および光増幅方法に関する。
続きを表示(約 1,500 文字)
【背景技術】
【0002】
モバイルトラフィックやビデオサービスの急速な拡大などにより、コアネットワークにおける通信容量の拡大が求められている。この容量拡大の要求は、今後も継続する傾向にある。通信容量の拡大はこれまで、時間多重技術や波長多重技術を用いることによって実現されてきた。この時間多重技術や波長多重技術は、シングルコア光ファイバによる光通信システムに適用されてきた。
【0003】
通信容量をさらに拡大するため、これまでの多重技術とは異なる次元の多重技術である空間多重技術が開発されている。空間多重技術には、光ファイバ1本あたりのコア数を増大させるマルチコア技術と、伝播モード数を増大させるマルチモード技術がある。現在の光ファイバ通信で用いられているコア数およびモード数は、いずれも一個である。そのため、コア数およびモード数を増大させることによって通信容量を飛躍的に拡大することが可能である。
【0004】
マルチコア技術で用いられるマルチコア光ファイバに適した光増幅方式としては、コア励起方式とクラッド励起方式の二方式がある。コア励起方式では、各コアを通して光伝送される光信号の強度をコア毎に個別の励起光源を用いて個別に増幅する。一方、クラッド励起方式では、各コアを通して光伝送される光信号の強度を共通の励起光源を用いて一括して増幅する。
【0005】
マルチコア光ファイバを伝送する光信号の光強度を効率よく増幅するためには、各コアを通して光伝送される光信号の強度を共通の励起光源を用いて一括して増幅するクラッド励起方式が望ましい。また、クラッド励起方式では、現在の単一コア励起方式による光増幅器の構成を原理的にはそのままクラッド励起方式の光増幅器の構成として用いることができる。
【0006】
このようなクラッド励起方式による光増幅器の一例が、特許文献1に記載されている。
【0007】
特許文献1に記載された関連する光増幅器は、マルチコア光ファイバ91、励起用光源92、光アイソレータ94、光合波器93、マルチコア光ファイバ97#1及び97#2を備える。ここで、マルチコア光ファイバ91には、希土類イオンを添加した複数のコアが第1クラッド中に配置されている。さらに、マルチコア光ファイバ91は、第1クラッドの周囲に配置されかつ希土類イオンを励起する波長を有する励起光を反射する第2クラッドを備える。そして、複数のコアは、伝搬光が結合するコア間距離を有する構成としている。
【0008】
また、関連技術としては、特許文献2、3に記載された技術がある。
【先行技術文献】
【特許文献】
【0009】
特開2017-21070号公報
特開2019-139029号公報
特表2020-513162号公報
【発明の概要】
【発明が解決しようとする課題】
【0010】
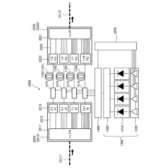
マルチコア光ファイバを用いたマルチコア光ファイバ伝送システムにおいては、マルチコア光伝送路の間に上述した関連する光増幅器のようなマルチコア光増幅器が挿入される。したがって、マルチコア光伝送路の各コアとマルチコア光増幅器の各コアが光学的に接続される必要がある。ここで、マルチコア光ファイバは、コアを稠密充填するためにコア数やコアの配置に制限がある。そのため、マルチコア光伝送路のコア数とマルチコア光増幅器のコア数が一致せず、マルチコア光伝送路とマルチコア光増幅器を接続することが困難な場合が生じる。
(【0011】以降は省略されています)
この特許をJ-PlatPat(特許庁公式サイト)で参照する
関連特許
日本電気株式会社
管理装置
1か月前
日本電気株式会社
監視装置
1か月前
日本電気株式会社
監視装置
1か月前
日本電気株式会社
海底分岐装置
1か月前
日本電気株式会社
光モジュール
26日前
日本電気株式会社
異常検知装置
1か月前
日本電気株式会社
光集積回路素子
1か月前
日本電気株式会社
レーザモジュール
1か月前
日本電気株式会社
超伝導量子回路装置
1か月前
日本電気株式会社
推論装置および推論方法
18日前
日本電気株式会社
システム、装置及び方法
1か月前
日本電気株式会社
ラインカード及びイジェクタ
1か月前
日本電気株式会社
制御装置、プログラム及び方法
1か月前
日本電気株式会社
考査装置、考査方法、プログラム
19日前
日本電気株式会社
時刻維持装置および時刻維持方法
17日前
日本電気株式会社
考査装置、考査方法、プログラム
19日前
日本電気株式会社
推定装置、推定方法及びプログラム
1か月前
日本電気株式会社
交渉装置、交渉方法及びプログラム
26日前
日本電気株式会社
交渉装置、交渉方法及びプログラム
3日前
日本電気株式会社
監視装置、監視方法、及びプログラム
16日前
日本電気株式会社
情報処理装置、制御方法及び記憶媒体
1か月前
日本電気株式会社
レコメンド装置およびレコメンド方法
1か月前
日本電気株式会社
端末、端末の制御方法及びプログラム
1か月前
日本電気株式会社
安否確認支援装置、方法及びプログラム
1か月前
日本電気株式会社
学習装置、学習方法及び学習プログラム
1か月前
日本電気株式会社
店舗端末、情報処理方法、及びプログラム
18日前
日本電気株式会社
乗車誘導計画装置および乗車誘導計画方法
9日前
日本電気株式会社
情報処理装置、情報処理方法、プログラム
18日前
日本電気株式会社
合意判定装置、合意判定方法及びプログラム
24日前
日本電気株式会社
処理システム、処理方法、およびプログラム
1か月前
日本電気株式会社
視聴支援装置、視聴支援方法及びプログラム
24日前
日本電気株式会社
健康管理装置、健康管理方法及びプログラム
26日前
日本電気株式会社
情報処理装置、計算方法、およびプログラム
1か月前
日本電気株式会社
行動推奨装置、行動推奨方法及びプログラム
1か月前
日本電気株式会社
情報処理装置、提示方法、およびプログラム
1か月前
日本電気株式会社
経路選択装置、経路選択方法及びプログラム
16日前
続きを見る
他の特許を見る