TOP
|
特許
|
意匠
|
商標
特許ウォッチ
Twitter
他の特許を見る
公開番号
2025166380
公報種別
公開特許公報(A)
公開日
2025-11-06
出願番号
2024070368
出願日
2024-04-24
発明の名称
飛行体監視システム、飛行体監視方法及びプログラム
出願人
日本電気株式会社
代理人
個人
主分類
B64U
10/13 20230101AFI20251029BHJP(航空機;飛行;宇宙工学)
要約
【課題】飛行体の運航リスクを好適に抑制できる飛行体管理システム、飛行体監視方法、及びプログラムを提供する。
【解決手段】本開示に係る飛行体監視システムは、運航計画に基づいて飛行する飛行体の飛行体監視システムであって、地上に設置されたセンサが観測した飛行体の飛行状態を含む観測情報を取得する観測情報取得部と、観測情報に基づいて、飛行体の飛行状態が異常状態であるか否かを判定する判定部と、飛行体が異常状態である場合に、飛行体の運航管理者に対して通知するための注意喚起情報を出力する出力部と、を備える。
【選択図】図1
特許請求の範囲
【請求項1】
運航計画に基づいて飛行する飛行体の飛行体監視システムであって、
地上に設置されたセンサが観測した前記飛行体の飛行状態を含む観測情報を取得する観測情報取得部と、
前記観測情報に基づいて、前記飛行体の飛行状態が異常状態であるか否かを判定する判定部と、
前記飛行体の飛行状態が異常状態である場合に、前記飛行体の運航管理者に対して通知するための注意喚起情報を出力する出力部と、
を備える、
飛行体監視システム。
続きを表示(約 1,300 文字)
【請求項2】
前記観測情報は、前記飛行体を含む画像と、前記画像の撮影時刻および前記画像の位置に関する情報と、を含む、
請求項1に記載の飛行体監視システム。
【請求項3】
前記判定部は、前記観測情報と、前記運航計画に含まれる情報であって前記観測情報に対応する情報と、が異なる場合に、前記飛行体の飛行状態が異常状態であると判定する、
請求項1又は2に記載の飛行体監視システム。
【請求項4】
前記判定部は、前記運航計画の計画時刻における前記飛行体の位置と、前記計画時刻に対応する時刻に前記センサが観測した前記飛行体の位置と、の距離が閾値距離以上の場合に、前記飛行体の飛行状態が異常状態であると判定する、
請求項1又は2に記載の飛行体監視システム。
【請求項5】
前記判定部は、複数の異なる時刻における前記観測情報を対比することにより、前記飛行体の飛行状態が異常状態であるか否かを判定する、
請求項1又は2に記載の飛行体監視システム。
【請求項6】
前記判定部は、さらに、前記飛行体の異常状態が緊急着陸を促す状態であるか否かを判定し、
前記出力部は、前記判定部が前記緊急着陸を促す状態であると判定した場合に、さらに、前記飛行体を着陸させる着陸場の位置を含む前記注意喚起情報を出力する、
請求項1又は2に記載の飛行体監視システム。
【請求項7】
前記出力部は、前記判定部が前記緊急着陸を促す状態であると判定した場合に、さらに、前記緊急着陸後に前記飛行体に対して行う処理に関する情報を含む前記注意喚起情報を出力する、
請求項6に記載の飛行体監視システム。
【請求項8】
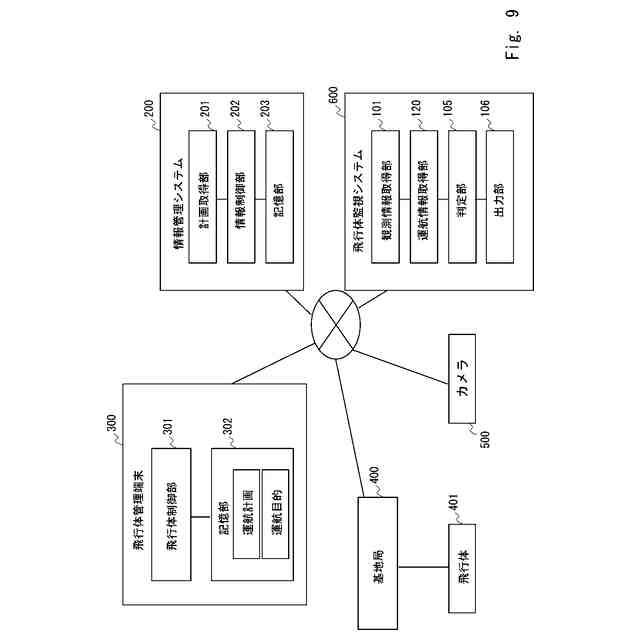
前記飛行体の運航目的を含む運航情報を取得する運航情報取得部を備え、
前記判定部は、前記飛行体の飛行状態が異常状態であると判定した場合に、前記飛行体の運航目的に応じた対応手段を推定し、
前記出力部は、前記対応手段を含む前記注意喚起情報を出力する、
請求項1又は2に記載の飛行体監視システム。
【請求項9】
運航計画に基づいて飛行する飛行体の飛行体監視方法であって、
地上に設置されたセンサが観測した前記飛行体の飛行状態を含む観測情報を取得し、
前記観測情報に基づいて、前記飛行体の飛行状態が異常状態であるか否かを判定し、
前記飛行体の飛行状態が異常状態である場合に、前記飛行体の運航管理者に対して通知するための注意喚起情報を出力する、
処理をコンピュータが実行する、
飛行体監視方法。
【請求項10】
運航計画に基づいて飛行する飛行体のプログラムであって、
地上に設置されたセンサが観測した前記飛行体の飛行状態を含む観測情報を取得し、
前記観測情報に基づいて、前記飛行体の飛行状態が異常状態であるか否かを判定し、
前記飛行体の飛行状態が異常状態である場合に、前記飛行体の運航管理者に対して通知するための注意喚起情報を出力する、
処理をコンピュータに実行させる、
プログラム。
発明の詳細な説明
【技術分野】
【0001】
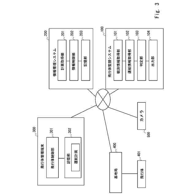
本開示は、飛行体監視システム、飛行体監視方法及びプログラムに関する。
続きを表示(約 1,300 文字)
【背景技術】
【0002】
ドローンの活用が進展し、ドローンの自律飛行を遠隔から監視、制御する目視外飛行の運航が拡がっている。目視外飛行においては、ドローンの運航状況を管理することが求められる。
【0003】
特許文献1には、無人機の運航状況を正確に管理できる運航管理システムが開示されている。
【先行技術文献】
【特許文献】
【0004】
国際公開第2023-181253号公報
【発明の概要】
【発明が解決しようとする課題】
【0005】
特許文献1に開示された運航管理システムでは、無人機の位置情報や計画情報を含む共有情報が随時更新される。しかし、目視外飛行では、ドローンが運航計画通りに運航できない事態に陥ることが想定されるため、特許文献1に開示された運航管理システムでは、この点への配慮が不十分であった。
【0006】
本開示の目的は、上述した課題に鑑み、飛行体の運航リスクを好適に抑制できる飛行体管理システム、飛行体監視方法及びプログラムを提供することにある。
【課題を解決するための手段】
【0007】
本開示に係る飛行体監視システムは、
運航計画に基づいて飛行する飛行体の飛行体監視システムであって、
地上に設置されたセンサが観測した前記飛行体の飛行状態を含む観測情報を取得する観測情報取得部と、
前記観測情報に基づいて、前記飛行体の飛行状態が異常状態であるか否かを判定する判定部と、
前記飛行体が異常状態である場合に、前記飛行体の運航管理者に対して通知するための注意喚起情報を出力する出力部と、
を備える。
【0008】
本開示に係る飛行体監視方法は、
運航計画に基づいて飛行する飛行体の飛行体監視方法であって、
地上に設置されたセンサが観測した前記飛行体の飛行状態を含む観測情報を取得し、
前記観測情報に基づいて、前記飛行体の飛行状態が異常状態であるか否かを判定し、
前記飛行体が異常状態である場合に、前記飛行体の運航管理者に対して通知するための注意喚起情報を出力する、
処理をコンピュータが実行する。
【0009】
本開示に係るプログラムは、
運航計画に基づいて飛行する飛行体のプログラムであって、
地上に設置されたセンサが観測した前記飛行体の飛行状態を含む観測情報を取得し、
前記観測情報に基づいて、前記飛行体の飛行状態が異常状態であるか否かを判定し、
前記飛行体が異常状態である場合に、前記飛行体の運航管理者に対して通知するための注意喚起情報を出力する、
処理をコンピュータに実行させる。
【発明の効果】
【0010】
本開示により、飛行体の運航リスクを好適に抑制できる飛行体監視システム、飛行体監視方法及びプログラムを提供できる。
【図面の簡単な説明】
(【0011】以降は省略されています)
この特許をJ-PlatPat(特許庁公式サイト)で参照する
関連特許
日本電気株式会社
監視装置
1か月前
日本電気株式会社
管理装置
1か月前
日本電気株式会社
監視装置
1か月前
日本電気株式会社
特定装置
10日前
日本電気株式会社
異常検知装置
1か月前
日本電気株式会社
光モジュール
1か月前
日本電気株式会社
海底分岐装置
1か月前
日本電気株式会社
推論装置および推論方法
1か月前
日本電気株式会社
ラインカード及びイジェクタ
1か月前
日本電気株式会社
時刻維持装置および時刻維持方法
1か月前
日本電気株式会社
考査装置、考査方法、プログラム
1か月前
日本電気株式会社
考査装置、考査方法、プログラム
1か月前
日本電気株式会社
交渉装置、交渉方法及びプログラム
18日前
日本電気株式会社
ボロメータアレイ、及び光検出方法
12日前
日本電気株式会社
交渉装置、交渉方法及びプログラム
1か月前
日本電気株式会社
レコメンド装置およびレコメンド方法
1か月前
日本電気株式会社
監視装置、監視方法、及びプログラム
1か月前
日本電気株式会社
端末、端末の制御方法及びプログラム
1か月前
日本電気株式会社
情報処理装置、方法、及び、プログラム
3日前
日本電気株式会社
安否確認支援装置、方法及びプログラム
1か月前
日本電気株式会社
情報処理装置、方法、及び、プログラム
3日前
日本電気株式会社
店舗端末、情報処理方法、及びプログラム
1か月前
日本電気株式会社
情報処理装置、情報処理方法、プログラム
10日前
日本電気株式会社
乗車誘導計画装置および乗車誘導計画方法
24日前
日本電気株式会社
情報処理装置、情報処理方法、プログラム
3日前
日本電気株式会社
情報処理装置、情報処理方法、プログラム
1か月前
日本電気株式会社
経路選択装置、経路選択方法及びプログラム
1か月前
日本電気株式会社
追跡支援装置、追跡支援方法及びプログラム
1か月前
日本電気株式会社
視聴支援装置、視聴支援方法及びプログラム
1か月前
日本電気株式会社
追跡支援装置、追跡支援方法及びプログラム
1か月前
日本電気株式会社
発話認識装置、プログラム及び発話認識方法
12日前
日本電気株式会社
制御装置、無線端末、方法、及びプログラム
11日前
日本電気株式会社
処理システム、処理方法、およびプログラム
1か月前
日本電気株式会社
合意判定装置、合意判定方法及びプログラム
1か月前
日本電気株式会社
健康管理装置、健康管理方法及びプログラム
1か月前
日本電気株式会社
制御装置、制御プログラム、および制御方法
3日前
続きを見る
他の特許を見る