TOP
|
特許
|
意匠
|
商標
特許ウォッチ
Twitter
他の特許を見る
10個以上の画像は省略されています。
公開番号
2025168755
公報種別
公開特許公報(A)
公開日
2025-11-12
出願番号
2024073479
出願日
2024-04-30
発明の名称
旅行支援端末、装置、システム、方法、及び、プログラム
出願人
日本電気株式会社
代理人
個人
主分類
G06Q
50/10 20120101AFI20251105BHJP(計算;計数)
要約
【課題】第1のユーザが実際に周遊した旅行履歴を用いて第2のユーザの旅行を充実させること。
【解決手段】旅行支援端末は、第1のユーザにより各地点で撮影された複数の画像を含めて撮影順序に基づいて生成された巡回記録情報であって各画像の撮影地点と三次元仮想空間上の各地点とが対応付けられた巡回記録情報と、第2のユーザの位置情報と、に基づいて決定された推薦地点に関する情報を取得する取得手段と、第2のユーザの視点で表示される画面に対して、推薦地点への移動を推薦するように表示させる表示手段と、を備える。
【選択図】図1
特許請求の範囲
【請求項1】
第1のユーザにより各地点で撮影された複数の画像を含めて撮影順序に基づいて生成された巡回記録情報であって各画像の撮影地点と三次元仮想空間上の各地点とが対応付けられた前記巡回記録情報と、第2のユーザの位置情報と、に基づいて決定された推薦地点に関する情報を取得する取得手段と、
前記第2のユーザの視点で表示される画面に対して、前記推薦地点への移動を推薦するように表示させる表示手段と、
を備える旅行支援端末。
続きを表示(約 1,100 文字)
【請求項2】
前記表示手段は、前記推薦地点への移動を推薦するための推薦表示情報を前記画面に表示させる
請求項1に記載の旅行支援端末。
【請求項3】
前記表示手段は、前記第2のユーザが前記巡回記録情報に含まれる第1地点を訪問した際に、前記巡回記録情報における前記撮影順序に基づいて、前記第1のユーザが前記第1地点の次に訪問した第2地点を前記推薦地点として前記推薦表示情報を表示させる
請求項2に記載の旅行支援端末。
【請求項4】
前記巡回記録情報は、前記画像の撮影時刻を含み、
前記表示手段は、前記第2のユーザが前記巡回記録情報に含まれる第1地点を訪問した際の時刻情報と前記撮影時刻とに基づいて前記巡回記録情報の中から決定された地点を前記推薦地点として前記推薦表示情報を表示させる
請求項2に記載の旅行支援端末。
【請求項5】
前記巡回記録情報は、前記第1のユーザの第1の属性情報を含み、
前記表示手段は、前記第1の属性情報と前記第2のユーザの第2の属性情報との類似性と、前記巡回記録情報とに基づいて、前記推薦表示情報を表示させる
請求項2又は3に記載の旅行支援端末。
【請求項6】
前記表示手段は、複数の前記第1のユーザにおける前記巡回記録情報に含まれる各第1の属性情報と前記第2の属性情報との類似性に応じて、複数の推薦地点における前記推薦表示情報を異なる表示形態で表示させる
請求項5に記載の旅行支援端末。
【請求項7】
前記表示手段は、複数の前記第1のユーザにおける前記巡回記録情報に基づいて、前記画面に対して、複数の推薦地点における前記推薦表示情報を表示させる
請求項2又は3に記載の旅行支援端末。
【請求項8】
前記表示手段は、前記複数の推薦地点のそれぞれを訪問した前記第1のユーザによる評価に応じて、各推薦地点における前記推薦表示情報を異なる表示形態で表示させる
請求項7に記載の旅行支援端末。
【請求項9】
前記表示手段は、各推薦地点に関連する費用に応じて、各推薦地点における前記推薦表示情報を異なる表示形態で表示させる
請求項7に記載の旅行支援端末。
【請求項10】
前記表示手段は、前記第2のユーザが利用する前記三次元仮想空間を表示する前記画面に対して、前記推薦地点への移動を推薦するように表示させる
請求項1又は2に記載の旅行支援端末。
(【請求項11】以降は省略されています)
発明の詳細な説明
【技術分野】
【0001】
本開示は、旅行支援端末、装置、システム、方法、及び、プログラムに関する。
続きを表示(約 1,600 文字)
【背景技術】
【0002】
特許文献1には、2次元の画像に基づいて仮想空間画像を描画する情報処理装置に関する技術が開示されている。特許文献1にかかる情報処理装置は、撮像対象物又は風景を捕捉した2次元の画像データに基づいて撮像対象物又は風景を含む3次元の仮想空間のデータを作成し、3次元の仮想空間のデータに基づいて、仮想カメラから視た仮想空間画像を描画する。
【先行技術文献】
【特許文献】
【0003】
特開2024-008779号公報
【発明の概要】
【発明が解決しようとする課題】
【0004】
ここで、旅行予定者が旅行を計画する際に他の旅行者が実際に体験した旅行の履歴を活用することへのニーズがある。
【0005】
本開示の目的は、上述した課題を鑑み、第1のユーザが実際に周遊した旅行履歴を用いて第2のユーザの旅行を充実させることを支援するための旅行支援端末、装置、システム、方法、及び、プログラムを提供することにある。
【課題を解決するための手段】
【0006】
本開示にかかる旅行支援端末は、
第1のユーザにより各地点で撮影された複数の画像を含めて撮影順序に基づいて生成された巡回記録情報であって各画像の撮影地点と三次元仮想空間上の各地点とが対応付けられた前記巡回記録情報と、第2のユーザの位置情報と、に基づいて決定された推薦地点に関する情報を取得する取得手段と、
前記第2のユーザの視点で表示される画面に対して、前記推薦地点への移動を推薦するように表示させる表示手段と、
を備える。
【0007】
本開示にかかる旅行支援装置は、
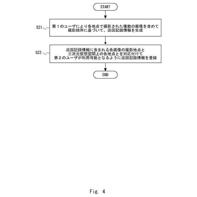
第1のユーザにより各地点で撮影された複数の画像を含めて撮影順序に基づいて、巡回記録情報を生成する生成手段と、
前記巡回記録情報に含まれる各画像の撮影地点と三次元仮想空間上の各地点とを対応付けて、第2のユーザが利用可能となるように前記巡回記録情報を登録する登録手段と、
を備える。
【0008】
本開示にかかる旅行支援端末は、
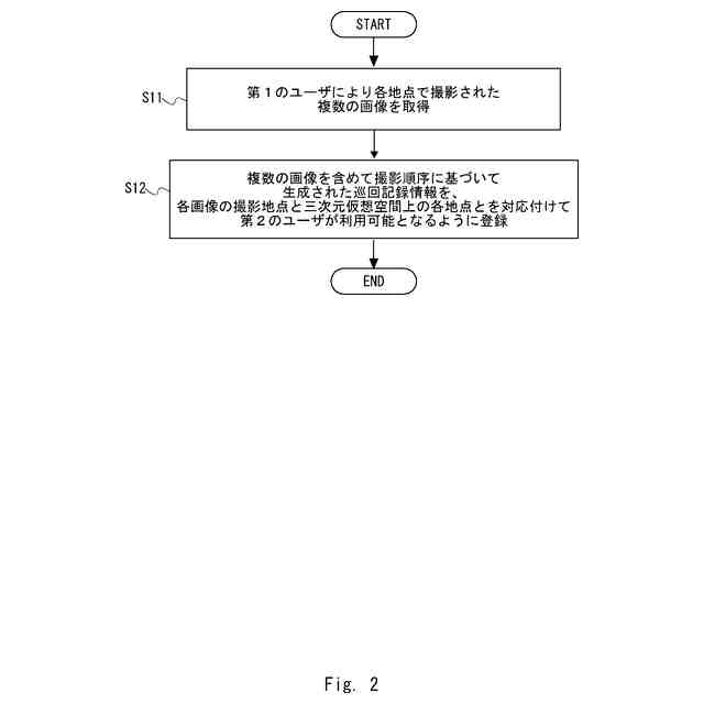
第1のユーザにより各地点で撮影された複数の画像を取得する取得手段と、
前記複数の画像を含めて撮影順序に基づいて生成された巡回記録情報を、各画像の撮影地点と三次元仮想空間上の各地点とを対応付けて、第2のユーザが利用可能となるように登録する登録手段と、
を備える。
【0009】
本開示にかかる旅行支援システムは、
第1の旅行支援端末と、
第2の旅行支援端末と、
旅行支援装置と、を備え、
前記第1の旅行支援端末は、第1のユーザにより各地点で撮影された複数の画像を前記旅行支援装置へ送信し、
前記旅行支援装置は、
前記第1の旅行支援端末から受信した前記複数の画像を含めて撮影順序に基づいて、巡回記録情報を生成し、
前記巡回記録情報に含まれる各画像の撮影地点と三次元仮想空間上の各地点とを対応付けて、第2のユーザが前記第2の旅行支援端末により利用可能となるように前記巡回記録情報を登録する。
【0010】
本開示にかかる旅行支援方法は、
コンピュータが、
第1のユーザにより各地点で撮影された複数の画像を含めて撮影順序に基づいて生成された巡回記録情報であって各画像の撮影地点と三次元仮想空間上の各地点とが対応付けられた前記巡回記録情報と、第2のユーザの位置情報と、に基づいて決定された推薦地点に関する情報を取得し、
前記第2のユーザの視点で表示される画面に対して、前記推薦地点への移動を推薦するように表示させる。
(【0011】以降は省略されています)
この特許をJ-PlatPat(特許庁公式サイト)で参照する
関連特許
日本電気株式会社
監視装置
1か月前
日本電気株式会社
監視装置
1か月前
日本電気株式会社
管理装置
1か月前
日本電気株式会社
光モジュール
26日前
日本電気株式会社
異常検知装置
1か月前
日本電気株式会社
海底分岐装置
1か月前
日本電気株式会社
光集積回路素子
1か月前
日本電気株式会社
超伝導量子回路装置
1か月前
日本電気株式会社
システム、装置及び方法
1か月前
日本電気株式会社
推論装置および推論方法
18日前
日本電気株式会社
ラインカード及びイジェクタ
1か月前
日本電気株式会社
時刻維持装置および時刻維持方法
17日前
日本電気株式会社
考査装置、考査方法、プログラム
19日前
日本電気株式会社
考査装置、考査方法、プログラム
19日前
日本電気株式会社
交渉装置、交渉方法及びプログラム
3日前
日本電気株式会社
交渉装置、交渉方法及びプログラム
26日前
日本電気株式会社
レコメンド装置およびレコメンド方法
1か月前
日本電気株式会社
端末、端末の制御方法及びプログラム
1か月前
日本電気株式会社
監視装置、監視方法、及びプログラム
16日前
日本電気株式会社
安否確認支援装置、方法及びプログラム
1か月前
日本電気株式会社
乗車誘導計画装置および乗車誘導計画方法
9日前
日本電気株式会社
情報処理装置、情報処理方法、プログラム
18日前
日本電気株式会社
店舗端末、情報処理方法、及びプログラム
18日前
日本電気株式会社
追跡支援装置、追跡支援方法及びプログラム
1か月前
日本電気株式会社
処理システム、処理方法、およびプログラム
1か月前
日本電気株式会社
合意判定装置、合意判定方法及びプログラム
3日前
日本電気株式会社
情報処理装置、計算方法、およびプログラム
1か月前
日本電気株式会社
情報処理装置、提示方法、およびプログラム
1か月前
日本電気株式会社
追跡支援装置、追跡支援方法及びプログラム
1か月前
日本電気株式会社
行動推奨装置、行動推奨方法及びプログラム
1か月前
日本電気株式会社
処理システム、処理方法、およびプログラム
1か月前
日本電気株式会社
視聴支援装置、視聴支援方法及びプログラム
24日前
日本電気株式会社
合意判定装置、合意判定方法及びプログラム
24日前
日本電気株式会社
経路選択装置、経路選択方法及びプログラム
16日前
日本電気株式会社
健康管理装置、健康管理方法及びプログラム
26日前
日本電気株式会社
情報処理装置、情報処理方法、及びプログラム
24日前
続きを見る
他の特許を見る