TOP
|
特許
|
意匠
|
商標
特許ウォッチ
Twitter
他の特許を見る
公開番号
2025173115
公報種別
公開特許公報(A)
公開日
2025-11-27
出願番号
2024078515
出願日
2024-05-14
発明の名称
監視システム、監視装置、監視方法、及び、プログラム
出願人
日本電気株式会社
代理人
個人
主分類
G08B
23/00 20060101AFI20251119BHJP(信号)
要約
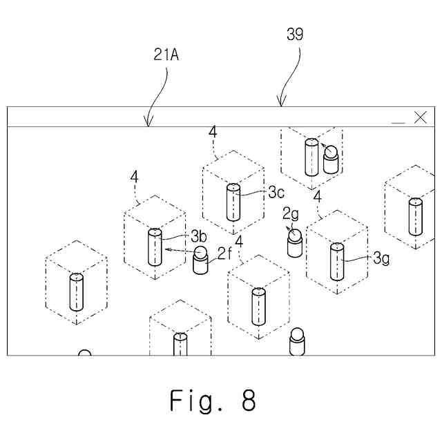
【課題】作業員が特定の空間に近づいていることを見落とすこと防止する技術を提供する。
【解決手段】現実空間を再現した仮想空間と、前記現実空間に存在する複数の作業員と、を表示装置に出力する出力手段と、前記複数の作業員のうち少なくとも何れか一人の、前記仮想空間内で設定された設定空間からの離間距離が第1の所定値未満であるとき、前記表示装置を介して前記複数の作業員を監視する監視者に対して注意喚起する注意喚起手段と、を含む、監視システムが提供される。
【選択図】図1
特許請求の範囲
【請求項1】
現実空間を再現した仮想空間と、前記現実空間に存在する複数の作業員と、を表示装置に出力する出力手段と、
前記複数の作業員のうち少なくとも何れか一人の、前記仮想空間内で設定された設定空間からの離間距離が第1の所定値未満であるとき、前記表示装置を介して前記複数の作業員を監視する監視者に対して注意喚起する注意喚起手段と、
を含む、
監視システム。
続きを表示(約 1,500 文字)
【請求項2】
請求項1に記載の監視システムであって、
前記注意喚起手段は、前記離間距離が前記第1の所定値未満である作業員を前記表示装置において強調表示する、
監視システム。
【請求項3】
請求項2に記載の監視システムであって、
前記注意喚起手段は、前記離間距離が前記第1の所定値未満である作業員を前記表示装置において拡大表示する、
監視システム。
【請求項4】
請求項2に記載の監視システムであって、
前記離間距離が前記第1の所定値未満である作業員が複数である場合、
前記注意喚起手段は、前記離間距離が前記第1の所定値未満である複数の作業員毎の前記離間距離に応じて、前記離間距離が前記第1の所定値未満である複数の作業員を前記表示装置において強調表示する、
監視システム。
【請求項5】
請求項4に記載の監視システムであって、
前記注意喚起手段は、前記離間距離が前記第1の所定値未満である複数の作業員毎の前記離間距離に応じて、前記離間距離が前記第1の所定値未満である複数の作業員毎の前記強調表示の優先度を設定する、
監視システム。
【請求項6】
請求項5に記載の監視システムであって、
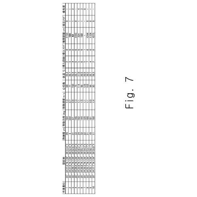
前記離間距離が前記第1の所定値未満である複数の作業員のうち、互いの前記離間距離の差分が第2の所定値未満となる組み合わせがある場合、
前記注意喚起手段は、
前記組み合わせに属する複数の作業員毎の熟練度、移動方向、移動速度、心拍数、体温、侵入回数に応じて、前記組み合わせに属する複数の作業員毎の前記強調表示の優先度を設定する、
監視システム。
【請求項7】
請求項6に記載の監視システムであって、
前記組み合わせに属する複数の作業員が、前記設定空間に近づく作業員と、前記設定空間から遠ざかる作業員と、を含む場合、
前記注意喚起手段は、前記設定空間に近づく作業員の前記強調表示の優先度を、前記設定空間から遠ざかる作業員の前記強調表示の優先度よりも高く設定する、
監視システム。
【請求項8】
現実空間を再現した仮想空間と、前記現実空間に存在する複数の作業員と、を表示装置に出力する出力手段と、
前記複数の作業員のうち少なくとも何れか一人の、前記仮想空間内で設定された設定空間からの離間距離が第1の所定値未満であるとき、前記表示装置を介して前記複数の作業員を監視する監視者に対して注意喚起する注意喚起手段と、
を含む、
監視装置。
【請求項9】
コンピューターが、
現実空間を再現した仮想空間と、前記現実空間に存在する複数の作業員と、を表示装置に出力し、
前記複数の作業員のうち少なくとも何れか一人の、前記仮想空間内で設定された設定空間からの離間距離が第1の所定値未満であるとき、前記表示装置を介して前記複数の作業員を監視する監視者に対して注意喚起する、
監視方法。
【請求項10】
コンピューターを、
現実空間を再現した仮想空間と、前記現実空間に存在する複数の作業員と、を表示装置に出力する出力手段と、
前記複数の作業員のうち少なくとも何れか一人の、前記仮想空間内で設定された設定空間からの離間距離が第1の所定値未満であるとき、前記表示装置を介して前記複数の作業員を監視する監視者に対して注意喚起する注意喚起手段と、
として機能させる、
プログラム。
発明の詳細な説明
【技術分野】
【0001】
本開示は、監視システム、監視装置、監視方法、及び、プログラムに関する。
続きを表示(約 1,300 文字)
【背景技術】
【0002】
特許文献1は、作業員が鉄塔の危険範囲に侵入することを防止する現場管理装置を開示している。具体的には、現場管理装置は、作業員端末から受信した位置情報に基づいて作業員の現在地を取得する。現場管理装置は、鉄塔構造図と作業員端末の現在地を重畳してモニタ表示する。現場管理装置のモニタを見ている管理者は、必要に応じてマイク等で作業員に注意指示する。
【先行技術文献】
【特許文献】
【0003】
特開2017-122988号公報
【発明の概要】
【発明が解決しようとする課題】
【0004】
上記特許文献1の構成では、作業員が近づいてはいけない空間に近づいていることを見落とす虞がある。
【0005】
本開示の目的は、作業員が特定の空間に近づいていることを見落とすこと防止する技術を提供することにある。
【課題を解決するための手段】
【0006】
現実空間を再現した仮想空間と、前記現実空間に存在する複数の作業員と、を表示装置に出力する出力手段と、
前記複数の作業員のうち少なくとも何れか一人の、前記仮想空間内で設定された設定空間からの離間距離が第1の所定値未満であるとき、前記表示装置を介して前記複数の作業員を監視する監視者に対して注意喚起する注意喚起手段と、
を含む、
監視システムが提供される。
【0007】
現実空間を再現した仮想空間と、前記現実空間に存在する複数の作業員と、を表示装置に出力する出力手段と、
前記複数の作業員のうち少なくとも何れか一人の、前記仮想空間内で設定された設定空間からの離間距離が第1の所定値未満であるとき、前記表示装置を介して前記複数の作業員を監視する監視者に対して注意喚起する注意喚起手段と、
を含む、
監視装置が提供される。
【0008】
コンピューターが、
現実空間を再現した仮想空間と、前記現実空間に存在する複数の作業員と、を表示装置に出力し、
前記複数の作業員のうち少なくとも何れか一人の、前記仮想空間内で設定された設定空間からの離間距離が第1の所定値未満であるとき、前記表示装置を介して前記複数の作業員を監視する監視者に対して注意喚起する、
監視方法が提供される。
【0009】
コンピューターを、
現実空間を再現した仮想空間と、前記現実空間に存在する複数の作業員と、を表示装置に出力する出力手段と、
前記複数の作業員のうち少なくとも何れか一人の、前記仮想空間内で設定された設定空間からの離間距離が第1の所定値未満であるとき、前記表示装置を介して前記複数の作業員を監視する監視者に対して注意喚起する注意喚起手段と、
として機能させる、
プログラムが提供される。
【発明の効果】
【0010】
本開示によれば、作業員が特定の空間に近づいていることを見落とすこと防止することができる。
【図面の簡単な説明】
(【0011】以降は省略されています)
この特許をJ-PlatPat(特許庁公式サイト)で参照する
関連特許
日本電気株式会社
特定装置
1日前
日本電気株式会社
監視装置
1か月前
日本電気株式会社
管理装置
1か月前
日本電気株式会社
監視装置
1か月前
日本電気株式会社
海底分岐装置
1か月前
日本電気株式会社
異常検知装置
1か月前
日本電気株式会社
光モジュール
1か月前
日本電気株式会社
光集積回路素子
1か月前
日本電気株式会社
超伝導量子回路装置
1か月前
日本電気株式会社
推論装置および推論方法
24日前
日本電気株式会社
ラインカード及びイジェクタ
1か月前
日本電気株式会社
時刻維持装置および時刻維持方法
23日前
日本電気株式会社
考査装置、考査方法、プログラム
25日前
日本電気株式会社
考査装置、考査方法、プログラム
25日前
日本電気株式会社
交渉装置、交渉方法及びプログラム
1か月前
日本電気株式会社
交渉装置、交渉方法及びプログラム
9日前
日本電気株式会社
ボロメータアレイ、及び光検出方法
3日前
日本電気株式会社
端末、端末の制御方法及びプログラム
1か月前
日本電気株式会社
監視装置、監視方法、及びプログラム
22日前
日本電気株式会社
レコメンド装置およびレコメンド方法
1か月前
日本電気株式会社
安否確認支援装置、方法及びプログラム
1か月前
日本電気株式会社
情報処理装置、情報処理方法、プログラム
1日前
日本電気株式会社
乗車誘導計画装置および乗車誘導計画方法
15日前
日本電気株式会社
店舗端末、情報処理方法、及びプログラム
24日前
日本電気株式会社
情報処理装置、情報処理方法、プログラム
24日前
日本電気株式会社
視聴支援装置、視聴支援方法及びプログラム
1か月前
日本電気株式会社
行動推奨装置、行動推奨方法及びプログラム
1か月前
日本電気株式会社
処理システム、処理方法、およびプログラム
1か月前
日本電気株式会社
経路選択装置、経路選択方法及びプログラム
22日前
日本電気株式会社
制御装置、無線端末、方法、及びプログラム
2日前
日本電気株式会社
処理システム、処理方法、およびプログラム
1か月前
日本電気株式会社
合意判定装置、合意判定方法及びプログラム
1か月前
日本電気株式会社
合意判定装置、合意判定方法及びプログラム
9日前
日本電気株式会社
健康管理装置、健康管理方法及びプログラム
1か月前
日本電気株式会社
追跡支援装置、追跡支援方法及びプログラム
1か月前
日本電気株式会社
追跡支援装置、追跡支援方法及びプログラム
1か月前
続きを見る
他の特許を見る