TOP
|
特許
|
意匠
|
商標
特許ウォッチ
Twitter
他の特許を見る
10個以上の画像は省略されています。
公開番号
2025173990
公報種別
公開特許公報(A)
公開日
2025-11-28
出願番号
2024079927
出願日
2024-05-16
発明の名称
原子発振器、制御方法、制御装置、プログラム
出願人
日本電気株式会社
代理人
個人
,
個人
,
個人
,
個人
主分類
H03L
7/26 20060101AFI20251120BHJP(基本電子回路)
要約
【課題】発振周波数の安定度のさらなる向上を図ることができないこと。
【解決手段】本開示の原子発振器は、アルカリ金属原子が封入されたガスセルと、ガスセルに対して少なくとも2つの異なる周波数成分を有する照射光を照射する光発生器と、ガスセルを透過した透過光を検出する光検出器と、ガスセルの透過光の光量に基づいて共鳴周波数を決定し、決定した共鳴周波数に基づいて発振器による発振周波数を制御する制御器と、を備えた原子発振器であって、予め設定された基準周波数と発振周波数との差に応じた報酬を用いて、取得した原子発振器の環境の状態に応じて環境の状態を制御する行動を出力するよう強化学習を行うエージェントを備える。
【選択図】図6
特許請求の範囲
【請求項1】
アルカリ金属原子が封入されたガスセルと、
前記ガスセルに対して少なくとも2つの異なる周波数成分を有する照射光を照射する光発生器と、
前記ガスセルを透過した透過光を検出する光検出器と、
前記ガスセルの前記透過光の光量に基づいて共鳴周波数を決定し、決定した前記共鳴周波数に基づいて発振器による発振周波数を制御する制御器と、
を備えた原子発振器であって、
予め設定された基準周波数と前記発振周波数との差に応じた報酬を用いて、取得した前記原子発振器の環境の状態に応じて当該環境の状態を制御する行動を出力するよう強化学習を行うエージェントを備えた、
原子発振器。
続きを表示(約 1,600 文字)
【請求項2】
請求項1に記載の原子発振器であって、
前記制御器は、前記発振周波数と前記基準周波数との差の絶対値が小さいほど大きな値となる前記報酬を設定し、
前記エージェントは、前記報酬を用いて強化学習を行う、
原子発振器。
【請求項3】
請求項1に記載の原子発振器であって、
前記制御器は、前記強化学習の時間の経過に応じた前記報酬を設定し、
前記エージェントは、前記報酬を用いて強化学習を行う、
原子発振器。
【請求項4】
請求項3に記載の原子発振器であって、
前記制御器は、前記強化学習の時間が経過するほど小さな値となる前記報酬を設定する、
原子発振器。
【請求項5】
請求項1に記載の原子発振器であって、
前記制御器は、前記エージェントが出力した前記行動に基づいて前記原子発振器の前記環境の状態を制御したときの前記発振周波数と前記基準周波数との差に応じた報酬を設定し、
前記エージェントは、前記報酬を用いて強化学習を行う、
原子発振器。
【請求項6】
請求項1に記載の原子発振器であって、
前記エージェントは、取得した前記原子発振器の前記環境の状態に応じて前記行動を出力し、
前記制御器は、前記エージェントが出力した前記行動に基づいて、前記原子発振器の前記環境の状態を制御する、
原子発振器。
【請求項7】
請求項1に記載の原子発振器であって、
前記エージェントにより取得される前記環境の状態は、前記ガスセルと前記光発生器と前記光検出器と前記発振器とから計測される計測値のうちの少なくとも1つである、
原子発振器。
【請求項8】
請求項1に記載の原子発振器であって、
前記エージェントにより出力される前記行動は、前記ガスセルと前記光発生器と前記光検出器と前記発振器とのうちの少なくとも1つの状態を制御する制御値である、
原子発振器。
【請求項9】
アルカリ金属原子が封入されたガスセルと、
前記ガスセルに対して少なくとも2つの異なる周波数成分を有する照射光を照射する光発生器と、
前記ガスセルを透過した透過光を検出する光検出器と、
前記ガスセルの前記透過光の光量に基づいて共鳴周波数を決定し、決定した前記共鳴周波数に基づいて発振器による発振周波数を制御する制御器と、
を備えた原子発振器であって、
予め設定された基準周波数と前記発振周波数との差に応じた報酬を用いて、取得した前記原子発振器の環境の状態に応じて当該環境の状態を制御する行動を出力するよう強化学習を行ったエージェントを備え、
前記エージェントは、取得した前記原子発振器の前記環境の状態に応じて前記行動を出力し、
前記制御器は、前記エージェントが出力した前記行動に基づいて、前記原子発振器の前記環境の状態を制御する、
原子発振器。
【請求項10】
アルカリ金属原子が封入されたガスセルと、
前記ガスセルに対して少なくとも2つの異なる周波数成分を有する照射光を照射する光発生器と、
前記ガスセルを透過した透過光を検出する光検出器と、
前記ガスセルの前記透過光の光量に基づいて共鳴周波数を決定し、決定した前記共鳴周波数に基づいて発振器による発振周波数を制御する制御装置と、
を備えた原子発振器における前記制御装置による制御方法であって、
前記制御装置が備えるエージェントが、予め設定された基準周波数と前記発振周波数との差に応じた報酬を用いて、取得した前記原子発振器の環境の状態に応じて当該環境の状態を制御する行動を出力するよう強化学習を行う、
制御方法。
発明の詳細な説明
【技術分野】
【0001】
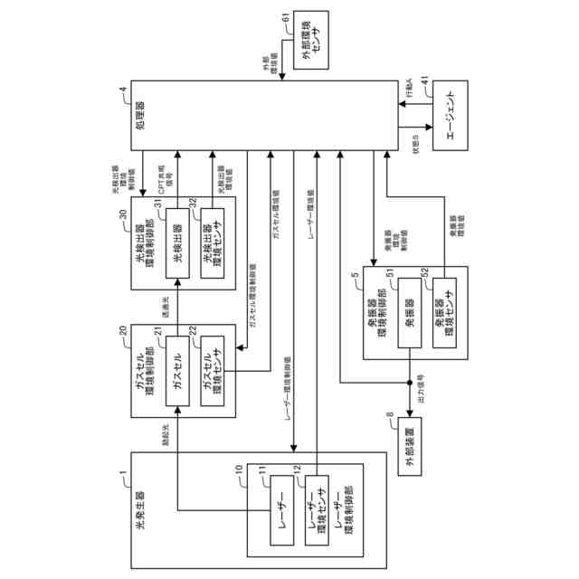
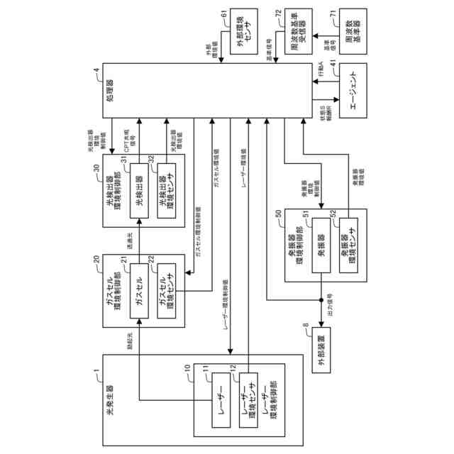
本発明は、原子発振器、制御方法、制御装置、プログラムに関する。
続きを表示(約 3,900 文字)
【背景技術】
【0002】
原子発振器は、原子の固有周波数を基準にして正確な時間を測定する装置である。小型の原子時計では、アルカリ金属原子ガスに2つの周波数の励起光を照射した際に生じる量子干渉効果であるCPT(Coherent Population Trapping)を原子発振器の発振原理として利用して、原子の固有周波数を測定することが主流である。CPTでは、2つの励起光の周波数の差がアルカリ金属の基底準位間の遷移周波数に一致したときに、励起光の吸収が起こらずに透過光量が増加する。CPTを動作原理とする原子発振器では、2つの励起光の周波数の差を掃引し、透過光量が最大となる周波数の差である共鳴周波数を原子の固有周波数としている。この原子の固有周波数である共鳴周波数を安定して取得できるかどうかが、原子発振器の性能指標の一つとなる。
【0003】
ここで、上述した原子発振器における性能低下の一つの要因として、アルカリ金属原子ガスの温度変化によって共鳴周波数が変動する温度シフトがある。つまり、発振器内部の温度変化が生じると、原子の光遷移特性が変動し、発振周波数の安定度が低下する。このような問題に対して、特許文献1には、アルカリ金属セルの外部に、測温素子とヒーターとを備えることが記載されている。これにより、特許文献1では、アルカリ金属セルの温度情報を用いて、セルをヒーターにて加熱することで、アルカリ金属セルの温度を一定とすることが記載されている。
【先行技術文献】
【特許文献】
【0004】
特開2017-011680号公報
【発明の概要】
【発明が解決しようとする課題】
【0005】
しかしながら、アルカリ金属セルの温度を一定に保てない場合には、温度シフトによる共鳴周波数の変化が生じ、発振周波数の安定度が低下する、という問題が生じる。また、アルカリ金属セルの温度に限らず、原子発振器の環境の状態を一定に保てない場合には、発振周波数の安定度が低下する、という問題が生じる。その結果、原子発振器における発振周波数の安定度のさらなる向上を図ることができない、という問題がある。
【0006】
このため、本開示の目的は、上述した課題である、発振周波数の安定度のさらなる向上を図ることができない、ことを解決することができる原子発振器を提供することにある。
【課題を解決するための手段】
【0007】
本開示の一形態である原子発振器は、
アルカリ金属原子が封入されたガスセルと、
前記ガスセルに対して少なくとも2つの異なる周波数成分を有する照射光を照射する光発生器と、
前記ガスセルを透過した透過光を検出する光検出器と、
前記ガスセルの前記透過光の光量に基づいて共鳴周波数を決定し、決定した前記共鳴周波数に基づいて発振器による発振周波数を制御する制御器と、
を備えた原子発振器であって、
予め設定された基準周波数と前記発振周波数との差に応じた報酬を用いて、取得した前記原子発振器の環境の状態に応じて当該環境の状態を制御する行動を出力するよう強化学習を行うエージェントを備えた、
という構成をとる。
また、本開示の一形態である原子発振器は、
アルカリ金属原子が封入されたガスセルと、
前記ガスセルに対して少なくとも2つの異なる周波数成分を有する照射光を照射する光発生器と、
前記ガスセルを透過した透過光を検出する光検出器と、
前記ガスセルの前記透過光の光量に基づいて共鳴周波数を決定し、決定した前記共鳴周波数に基づいて発振器による発振周波数を制御する制御器と、
を備えた原子発振器であって、
予め設定された基準周波数と前記発振周波数との差に応じた報酬を用いて、取得した前記原子発振器の環境の状態に応じて当該環境の状態を制御する行動を出力するよう強化学習を行ったエージェントを備え、
前記エージェントは、取得した前記原子発振器の前記環境の状態に応じて前記行動を出力し、
前記制御器は、前記エージェントが出力した前記行動に基づいて、前記原子発振器の前記環境の状態を制御する、
という構成をとる。
また、本開示の一形態である制御方法は、
アルカリ金属原子が封入されたガスセルと、
前記ガスセルに対して少なくとも2つの異なる周波数成分を有する照射光を照射する光発生器と、
前記ガスセルを透過した透過光を検出する光検出器と、
前記ガスセルの前記透過光の光量に基づいて共鳴周波数を決定し、決定した前記共鳴周波数に基づいて発振器による発振周波数を制御する制御装置と、
を備えた原子発振器における前記制御装置による制御方法であって、
前記制御装置が備えるエージェントが、予め設定された基準周波数と前記発振周波数との差に応じた報酬を用いて、取得した前記原子発振器の環境の状態に応じて当該環境の状態を制御する行動を出力するよう強化学習を行う、
という構成をとる。
また、本開示の一形態である制御方法は、
アルカリ金属原子が封入されたガスセルと、
前記ガスセルに対して少なくとも2つの異なる周波数成分を有する照射光を照射する光発生器と、
前記ガスセルを透過した透過光を検出する光検出器と、
前記ガスセルの前記透過光の光量に基づいて共鳴周波数を決定し、決定した前記共鳴周波数に基づいて発振器による発振周波数を制御する制御装置と、
を備えた原子発振器における前記制御装置による制御方法であって、
予め設定された基準周波数と前記発振周波数との差に応じた報酬を用いて、取得した前記原子発振器の環境の状態に応じて当該環境の状態を制御する行動を出力するよう強化学習を行った前記制御装置が備えるエージェントが、取得した前記原子発振器の前記環境の状態に応じて前記行動を出力し、前記制御装置が前記エージェントから出力された前記行動に基づいて前記原子発振器の前記環境の状態を制御する、
という構成をとる。
また、本開示の一形態である制御装置は、
アルカリ金属原子が封入されたガスセルと、
前記ガスセルに対して少なくとも2つの異なる周波数成分を有する照射光を照射する光発生器と、
前記ガスセルを透過した透過光を検出する光検出器と、
前記ガスセルの前記透過光の光量に基づいて共鳴周波数を決定し、決定した前記共鳴周波数に基づいて発振器による発振周波数を制御する制御装置と、
を備えた原子発振器における前記制御装置であって、
予め設定された基準周波数と前記発振周波数との差に応じた報酬を用いて、取得した前記原子発振器の環境の状態に応じて当該環境の状態を制御する行動を出力するよう強化学習を行うエージェントを備えた、
という構成をとる。
また、本開示の一形態である制御装置は、
アルカリ金属原子が封入されたガスセルと、
前記ガスセルに対して少なくとも2つの異なる周波数成分を有する照射光を照射する光発生器と、
前記ガスセルを透過した透過光を検出する光検出器と、
前記ガスセルの前記透過光の光量に基づいて共鳴周波数を決定し、決定した前記共鳴周波数に基づいて発振器による発振周波数を制御する制御装置と、
を備えた原子発振器における前記制御装置であって、
予め設定された基準周波数と前記発振周波数との差に応じた報酬を用いて、取得した前記原子発振器の環境の状態に応じて当該環境の状態を制御する行動を出力するよう強化学習を行ったエージェントを備えており、前記エージェントが取得した前記原子発振器の前記環境の状態に応じて前記行動を出力し、当該出力された前記行動に基づいて前記原子発振器の前記環境の状態を制御する、
という構成をとる。
【発明の効果】
【0008】
本開示は、以上のように構成されることにより、発振周波数の安定度のさらなる向上を図ることができる原子発振器を提供することができる。
【図面の簡単な説明】
【0009】
本開示における原子発振器の構成の一例を示すブロック図である。
本開示における原子発振器の処理の概要を示す図である。
本開示における原子発振器の処理動作の一例を示すフローチャートである。
本開示における原子発振器の構成の一例を示すブロック図である。
本開示における原子発振器の処理動作の一例を示すフローチャートである。
本開示における原子発振器の構成の一例を示すブロック図である。
本開示における原子発振器の処理動作の一例を示すフローチャートである。
本開示における原子発振器の処理動作の一例を示すフローチャートである。
【発明を実施するための形態】
【0010】
<実施形態1>
本開示の第1の実施形態について、図面を参照して説明する。なお、図面はいずれの実施形態においても関連しうる。
(【0011】以降は省略されています)
この特許をJ-PlatPat(特許庁公式サイト)で参照する
関連特許
日本電気株式会社
特定装置
1日前
日本電気株式会社
監視装置
1か月前
日本電気株式会社
管理装置
1か月前
日本電気株式会社
監視装置
1か月前
日本電気株式会社
異常検知装置
1か月前
日本電気株式会社
光モジュール
1か月前
日本電気株式会社
海底分岐装置
1か月前
日本電気株式会社
光集積回路素子
1か月前
日本電気株式会社
レーザモジュール
1か月前
日本電気株式会社
超伝導量子回路装置
1か月前
日本電気株式会社
受信器および通信装置
1か月前
日本電気株式会社
システム、装置及び方法
1か月前
日本電気株式会社
通信装置および通信方法
1か月前
日本電気株式会社
推論装置および推論方法
24日前
日本電気株式会社
光伝送システムおよび方法
1か月前
日本電気株式会社
ラインカード及びイジェクタ
1か月前
日本電気株式会社
制御装置、プログラム及び方法
1か月前
日本電気株式会社
兆候検知装置および兆候検知方法
1か月前
日本電気株式会社
演算処理装置および演算処理方法
1か月前
日本電気株式会社
考査装置、考査方法、プログラム
25日前
日本電気株式会社
考査装置、考査方法、プログラム
25日前
日本電気株式会社
時刻維持装置および時刻維持方法
23日前
日本電気株式会社
交渉装置、交渉方法及びプログラム
1か月前
日本電気株式会社
交渉装置、交渉方法及びプログラム
9日前
日本電気株式会社
ボロメータアレイ、及び光検出方法
3日前
日本電気株式会社
放送用システムおよび字幕作成方法
1か月前
日本電気株式会社
推定装置、推定方法及びプログラム
1か月前
日本電気株式会社
端末、端末の制御方法及びプログラム
1か月前
日本電気株式会社
情報処理装置、制御方法及び記憶媒体
1か月前
日本電気株式会社
監視装置、監視方法、及びプログラム
22日前
日本電気株式会社
レコメンド装置およびレコメンド方法
1か月前
日本電気株式会社
ソーナー装置、通信方法、プログラム
1か月前
日本電気株式会社
判別装置、判別方法、およびプログラム
1か月前
日本電気株式会社
安否確認支援装置、方法及びプログラム
1か月前
日本電気株式会社
学習装置、学習方法及び学習プログラム
1か月前
日本電気株式会社
店舗端末、情報処理方法、及びプログラム
24日前
続きを見る
他の特許を見る