TOP
|
特許
|
意匠
|
商標
特許ウォッチ
Twitter
他の特許を見る
10個以上の画像は省略されています。
公開番号
2025172285
公報種別
公開特許公報(A)
公開日
2025-11-26
出願番号
2024077656
出願日
2024-05-13
発明の名称
情報共有装置、情報共有方法、およびプログラム
出願人
日本電気株式会社
代理人
個人
,
個人
主分類
G08G
5/00 20250101AFI20251118BHJP(信号)
要約
【課題】管理対象施設の運営を管理する複数の関係部署に、管理対象空域における無人機の情報を共有することを可能とする情報共有装置を提供する。
【解決手段】管理対象施設の上方および周辺を含む管理対象空域で検知された無人機に関する無人機情報を収集する情報収集部と、収集された無人機情報を用いて、管理対象空域において検知された無人機が許可機および不審機のいずれであるかを判定する判定部と、管理対象空域において検知された無人機が許可機および不審機のいずれであるかを示す情報を、管理対象施設を管理する複数の関係部署において使用される機器に送信する情報共有部と、を備える情報共有装置とする。
【選択図】 図1
特許請求の範囲
【請求項1】
管理対象施設の上方および周辺を含む管理対象空域で検知された無人機に関する無人機情報を収集する情報収集部と、
収集された前記無人機情報を用いて、前記管理対象空域において検知された無人機が許可機および不審機のいずれであるかを判定する判定部と、
前記管理対象空域において検知された無人機が許可機および不審機のいずれであるかを示す情報を、前記管理対象施設を管理する複数の関係部署において使用される機器に送信する情報共有部と、を備える情報共有装置。
続きを表示(約 1,400 文字)
【請求項2】
前記無人機情報は、前記管理対象空域で検知された無人機の位置情報と、検知された無人機を一意で特定するための識別子とを含む請求項1に記載の情報共有装置。
【請求項3】
前記管理対象空域における無人機の運航計画を取得する計画取得部を備え、
前記判定部は、
前記運航計画に登録されている無人機が許可機であると判定し、
前記運航計画に登録されていない無人機が不審機であると判定する請求項2に記載の情報共有装置。
【請求項4】
前記情報共有部は、
前記管理対象空域に含まれる複数の空域が明示されたマップに、複数の前記空域の各々において検知された無人機を表す表示が重畳された表示情報を、前記管理対象施設を管理する複数の関係部署において使用される機器に送信する請求項2に記載の情報共有装置。
【請求項5】
前記情報共有部は、
前記管理対象空域に含まれる複数の空域の各々において検知された不審機に関する情報を、前記管理対象施設を管理する複数の関係部署ごとにカスタマイズした内容で送信する請求項2に記載の情報共有装置。
【請求項6】
前記情報収集部は、
前記管理対象空域において検知された無人機の動きを表す動態情報を収集し、
前記判定部は、
収集された前記動態情報を用いて、前記管理対象空域において検知された無人機が許可機および不審機のいずれであるかを判定する請求項2に記載の情報共有装置。
【請求項7】
前記判定部は、
前記動態情報の入力に応じて無人機の警戒度を示す警戒ランクを出力する判定モデルを用いて、前記管理対象空域において検知された無人機の前記警戒ランクを判定し、
前記情報共有部は、
前記警戒ランクを含む情報を、前記管理対象施設を管理する複数の関係部署において使用される機器に送信する請求項6に記載の情報共有装置。
【請求項8】
前記情報収集部は、
前記管理対象空域で目撃された無人機に関する目撃情報を収集し、
前記判定部は、
収集された前記目撃情報を用いて、前記管理対象空域において検知された無人機が許可機および不審機のいずれであるかを判定する請求項1乃至7のいずれか一項に記載の情報共有装置。
【請求項9】
コンピュータが、
管理対象施設の上方および周辺を含む管理対象空域で検知された無人機に関する無人機情報を収集し、
収集された前記無人機情報を用いて、前記管理対象空域において検知された無人機が許可機および不審機のいずれであるかを判定し、
前記管理対象空域において検知された無人機が許可機および不審機のいずれであるかを示す情報を、前記管理対象施設を管理する複数の関係部署において使用される機器に送信する情報共有方法。
【請求項10】
管理対象施設の上方および周辺を含む管理対象空域で検知された無人機に関する無人機情報を収集する処理と、
収集された前記無人機情報を用いて、前記管理対象空域において検知された無人機が許可機および不審機のいずれであるかを判定する処理と、
前記管理対象空域において検知された無人機が許可機および不審機のいずれであるかを示す情報を、前記管理対象施設を管理する複数の関係部署において使用される機器に送信する処理と、をコンピュータに実行させるプログラム。
発明の詳細な説明
【技術分野】
【0001】
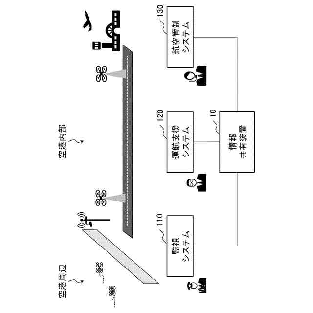
本開示は、情報共有装置、情報共有方法、およびプログラムに関する。
続きを表示(約 1,800 文字)
【背景技術】
【0002】
ドローンなどの無人航空機(以下、無人機)の普及に伴って、空港などの特定施設における点検において無人機を活用しようという動きがある。そのような特定施設においては、運航が許可された無人機(許可機)の運用が想定される。その一方で、特定施設における無人機の活用が浸透すると、運航が認可されていない不審な無人機(不審機)が特定施設に侵入するリスクが発生する。そのため、特定施設の内外において、無人機が許可機および不審機のいずれであるのかを判別することが求められる。
【0003】
特許文献1には、飛行中のドローンを総合的に管理することを目的としたドローン用管制装置について開示されている。特許文献1の装置は、管理すべき空域を飛行するドローンから、ドローンの識別情報と現在位置を含む状態情報を受信する。特許文献1の装置は、受信した状態情報に基づいて、ドローンの状態を監視し、制御対象となるドローンを検出する。特許文献1の装置は、検出されたドローンに対して管制指示を送信する。
【先行技術文献】
【特許文献】
【0004】
特開2018-165931号公報
【発明の概要】
【発明が解決しようとする課題】
【0005】
特許文献1の手法においては、有人飛行機の飛行に影響を及ぼす空域に存在または侵入するドローンに対する退避指示や注意情報を生成する。また、特許文献1の手法においては、有人航空機の飛行に影響を及ぼす空域にドローンが飛行していることを、管制システムに通報する。しかし、特許文献1の手法では、管理対象空域におけるドローンに関する情報を、管理対象施設の運営を管理する関係部署に共有していなかった。管理対象空域におけるドローンに関する情報が関係部署ごとに異なると、空港を適切に運営できない事象が発生するおそれがある。また、管理対象空域におけるドローンに関する情報を、関係部署が保有していない状況もありうる。
【0006】
本開示の目的は、管理対象施設の運営を管理する複数の関係部署に、管理対象空域における無人機の情報を共有することを可能とする情報共有装置、情報共有方法、およびプログラムを提供することにある。
【課題を解決するための手段】
【0007】
本開示の一態様の情報共有装置は、管理対象施設の上方および周辺を含む管理対象空域で検知された無人機に関する無人機情報を収集する情報収集部と、収集された無人機情報を用いて、管理対象空域において検知された無人機が許可機および不審機のいずれであるかを判定する判定部と、管理対象空域において検知された無人機が許可機および不審機のいずれであるかを示す情報を、管理対象施設を管理する複数の関係部署において使用される機器に送信する情報共有部と、を備える。
【0008】
本開示の一態様の情報共有方法においては、管理対象施設の上方および周辺を含む管理対象空域で検知された無人機に関する無人機情報を収集し、コンピュータが、収集された無人機情報を用いて、管理対象空域において検知された無人機が許可機および不審機のいずれであるかを判定し、管理対象空域において検知された無人機が許可機および不審機のいずれであるかを示す情報を、管理対象施設を管理する複数の関係部署において使用される機器に送信する。
【0009】
本開示の一態様のプログラムは、管理対象施設の上方および周辺を含む管理対象空域で検知された無人機に関する無人機情報を収集する処理と、収集された無人機情報を用いて、管理対象空域において検知された無人機が許可機および不審機のいずれであるかを判定する処理と、管理対象空域において検知された無人機が許可機および不審機のいずれであるかを示す情報を、管理対象施設を管理する複数の関係部署において使用される機器に送信する処理と、をコンピュータに実行させる。
【発明の効果】
【0010】
本開示によれば、管理対象施設の運営を管理する複数の関係部署に、管理対象空域における無人機の情報を共有することを可能とする情報共有装置、情報共有方法、およびプログラムを提供することが可能になる。
【図面の簡単な説明】
(【0011】以降は省略されています)
この特許をJ-PlatPat(特許庁公式サイト)で参照する
関連特許
日本電気株式会社
光モジュール
29日前
日本電気株式会社
異常検知装置
1か月前
日本電気株式会社
推論装置および推論方法
21日前
日本電気株式会社
時刻維持装置および時刻維持方法
20日前
日本電気株式会社
考査装置、考査方法、プログラム
22日前
日本電気株式会社
考査装置、考査方法、プログラム
22日前
日本電気株式会社
交渉装置、交渉方法及びプログラム
6日前
日本電気株式会社
ボロメータアレイ、及び光検出方法
今日
日本電気株式会社
交渉装置、交渉方法及びプログラム
29日前
日本電気株式会社
監視装置、監視方法、及びプログラム
19日前
日本電気株式会社
乗車誘導計画装置および乗車誘導計画方法
12日前
日本電気株式会社
情報処理装置、情報処理方法、プログラム
21日前
日本電気株式会社
店舗端末、情報処理方法、及びプログラム
21日前
日本電気株式会社
合意判定装置、合意判定方法及びプログラム
6日前
日本電気株式会社
経路選択装置、経路選択方法及びプログラム
19日前
日本電気株式会社
視聴支援装置、視聴支援方法及びプログラム
27日前
日本電気株式会社
合意判定装置、合意判定方法及びプログラム
27日前
日本電気株式会社
健康管理装置、健康管理方法及びプログラム
29日前
日本電気株式会社
発話認識装置、プログラム及び発話認識方法
今日
日本電気株式会社
処理システム、処理方法、およびプログラム
1か月前
日本電気株式会社
情報処理装置、情報処理方法、及びプログラム
20日前
日本電気株式会社
視線検出装置、視線検出方法、及びプログラム
1か月前
日本電気株式会社
情報処理装置、情報処理方法、及びプログラム
20日前
日本電気株式会社
情報処理装置、情報処理方法、及びプログラム
1か月前
日本電気株式会社
情報処理装置、情報処理方法、及びプログラム
20日前
日本電気株式会社
情報処理装置、情報処理方法、及びプログラム
20日前
日本電気株式会社
情報処理装置、分析方法、及び分析プログラム
27日前
日本電気株式会社
情報処理装置、情報処理方法、及びプログラム
20日前
日本電気株式会社
情報処理装置、情報処理方法、及びプログラム
20日前
日本電気株式会社
情報処理装置、情報処理方法、及びプログラム
27日前
日本電気株式会社
情報処理装置、情報処理方法、及びプログラム
1か月前
日本電気株式会社
画像生成装置、画像生成方法、及びプログラム
27日前
日本電気株式会社
学習装置、利用装置、学習方法及びプログラム
19日前
日本電気株式会社
情報処理装置、情報処理方法、及びプログラム
20日前
日本電気株式会社
情報処理装置、情報処理方法、及びプログラム
20日前
日本電気株式会社
情報処理装置、応答方法、及び応答プログラム
今日
続きを見る
他の特許を見る