TOP
|
特許
|
意匠
|
商標
特許ウォッチ
Twitter
他の特許を見る
10個以上の画像は省略されています。
公開番号
2025173937
公報種別
公開特許公報(A)
公開日
2025-11-28
出願番号
2024079821
出願日
2024-05-16
発明の名称
同期装置、同期システム、同期方法及びプログラム
出願人
日本電気株式会社
代理人
個人
主分類
H04L
7/00 20060101AFI20251120BHJP(電気通信技術)
要約
【課題】占有する計算資源や消費電力を低減して、ネットワークやコンピュータの負荷状況によらず同期精度を維持することができる同期装置、同期システム、同期方法及びプログラムを提供すること。
【解決手段】同期装置は、同期情報受信部と、下り遅延計算部と、同期要求送信部と、上り遅延計算部と、上り遅延記憶部と、上り遅延選択部と、位相差計算部と、位相誤差修正部と、同期状態判別部と、を備える。上り遅延記憶部は、上り遅延計算部が出力する上り遅延を記憶する。上り遅延選択部は、上り遅延計算部の出力又は上り遅延記憶部の出力を選択して出力する。位相差計算部は、下り遅延と上り遅延選択部の出力に基づき同期信号源とクライアントクロックとの位相差を計算する。状態判別部は、位相差に基づき同期信号源とクライアントクロックとの同期状態を出力する。
【選択図】図1
特許請求の範囲
【請求項1】
同期信号源から伝送路を介して受信した下り位相同期情報の受信時刻をクライアントクロックの時刻に基づいて生成する同期情報受信部と、
前記受信時刻と前記下り位相同期情報とに基づいて、前記伝送路での前記下り位相同期情報の下り遅延を計算する下り遅延計算部と、
前記同期信号源に上り位相同期要求を送信した送信時刻を前記クライアントクロックの時刻に基づいて生成する同期要求送信部と、
前記上り位相同期要求の応答である上り位相同期応答を前記同期信号源から前記伝送路を介して受信し、前記上り位相同期応答と前記送信時刻とに基づいて前記伝送路での上り遅延を計算する上り遅延計算部と、
前記上り遅延計算部が出力する前記上り遅延を記憶する上り遅延記憶部と、
前記上り遅延計算部の出力又は前記上り遅延記憶部の出力を選択して出力する上り遅延選択部と、
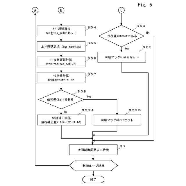
前記下り遅延と前記上り遅延選択部の出力に基づき前記同期信号源と前記クライアントクロックとの位相差を計算する位相差計算部と、
前記位相差に基づき位相制御値を生成し、前記位相制御値に基づいて前記クライアントクロックの出力位相を修正する位相誤差修正部と、
前記位相差に基づき前記同期信号源と前記クライアントクロックとの同期状態を出力する同期状態判別部と、
を備える同期装置。
続きを表示(約 2,700 文字)
【請求項2】
前記同期信号源から伝送路を介して送信された周波数同期情報に基づいて周波数同期したクロックを生成するクロック生成部を備えた、請求項1に記載の同期装置。
【請求項3】
前記クライアントクロックは、前記周波数同期したクロックにより動作する、請求項2に記載の同期装置。
【請求項4】
前記同期状態判別部は、
前記同期信号源と前記クライアントクロックとの前記同期状態が偽であるときに前記位相差があらかじめ定められた第1基準値よりも小さければ前記同期状態を真に更新し、
前記同期状態が真の場合に前記位相差があらかじめ定められた第2基準値以上であれば前記同期状態を偽に更新する、
請求項1に記載の同期装置。
【請求項5】
前記遅延記憶部は、前記同期状態が真である場合は直前の記憶内容を保持し、前記同期状態が偽であるときは記憶内容を前記上り遅延計算部が出力する前記上り遅延に更新する、請求項4に記載の同期装置。
【請求項6】
前記同期要求送信部は、前記同期状態が真である場合は前記位相同期要求を送信しない、請求項5に記載の同期装置。
【請求項7】
同期信号源となるサーバ装置と、クライアント装置と、を備え、
サーバ装置は、同期信号をクライアント装置に送信する同期信号送信部を備え、
クライアント装置は、
前記同期信号源から伝送路を介して受信した下り位相同期情報の受信時刻をクライアントクロックの時刻に基づいて生成する同期情報受信部と、
前記受信時刻と前記下り位相同期情報とに基づいて、前記伝送路での前記下り位相同期情報の下り遅延を計算する下り遅延計算部と、
前記同期信号源に上り位相同期要求を送信した送信時刻を前記クライアントクロックの時刻に基づいて生成する同期要求送信部と、
前記上り位相同期要求の応答である上り位相同期応答を前記同期信号源から前記伝送路を介して受信し、前記上り位相同期応答と前記送信時刻とに基づいて前記伝送路での上り遅延を計算する上り遅延計算部と、
前記上り遅延計算部が出力する前記上り遅延を記憶する上り遅延記憶部と、
前記上り遅延計算部の出力又は前記上り遅延記憶部の出力を選択して出力する上り遅延選択部と、
前記下り遅延と前記上り遅延選択部の出力に基づき前記同期信号源と前記クライアントクロックとの位相差を計算する位相差計算部と、
前記位相差に基づき位相制御値を生成し、前記位相制御値に基づいて前記クライアントクロックの出力位相を修正する位相誤差修正部と、
前記位相差に基づき前記同期信号源と前記クライアントクロックとの同期状態を出力する同期状態判別部と、
を備える、
同期システム。
【請求項8】
前記同期システムは、前記クライアント装置を複数備え、
複数の前記クライアント装置から同期基準とするのに適した基準クライアント装置を選択する選択部をさらに備え、
前記基準クライアント装置は、複数の前記クライアント装置の他のクライアント装置に同期信号を送信する二次同期信号送信部を更に備え、
前記他のクライアント装置は、前記サーバ装置の代わりに前記基準クライアント装置を前記同期信号源とする、
請求項7に記載の同期システム。
【請求項9】
コンピュータが、
同期信号源から伝送路を介して受信した下り位相同期情報の受信時刻をクライアントクロックの時刻に基づいて生成する同期情報受信ステップと、
前記受信時刻と前記下り位相同期情報とに基づいて、前記伝送路での前記下り位相同期情報の下り遅延を計算する下り遅延計算ステップと、
前記同期信号源に上り位相同期要求を送信した送信時刻を前記クライアントクロックの時刻に基づいて生成する同期要求送信ステップと、
前記上り位相同期要求の応答である上り位相同期応答を前記同期信号源から伝送路を介して受信し、前記上り位相同期応答と前記送信時刻とに基づいて前記伝送路での上り遅延を計算する上り遅延計算ステップと、
前記上り遅延計算ステップで出力された前記上り遅延を記憶する上り遅延記憶ステップと、
前記上り遅延計算ステップ又は前記上り遅延記憶ステップで出力された前記上り遅延を選択して出力する上り遅延選択ステップと、
前記下り遅延と前記上り遅延選択ステップで出力された前記上り遅延に基づき前記同期信号源と前記クライアントクロックとの位相差を計算する位相差計算ステップと、
前記位相差に基づき位相制御値を生成し、前記位相制御値に基づいて前記クライアントクロックの出力位相を修正する位相誤差修正ステップと、
前記位相差に基づき前記同期信号源と前記クライアントクロックとの同期状態を出力する同期状態判別ステップと、
を実行する同期方法。
【請求項10】
コンピュータに、
同期信号源から伝送路を介して受信した下り位相同期情報の受信時刻をクライアントクロックの時刻に基づいて生成する同期情報受信手順と、
前記受信時刻と前記下り位相同期情報とに基づいて、前記伝送路での前記下り位相同期情報の下り遅延を計算する下り遅延計算手順と、
前記同期信号源に上り位相同期要求を送信した送信時刻を前記クライアントクロックの時刻に基づいて生成する同期要求送信手順と、
前記上り位相同期要求の応答である上り位相同期応答を前記同期信号源から伝送路を介して受信し、前記上り位相同期応答と前記送信時刻とに基づいて前記伝送路での上り遅延を計算する上り遅延計算手順と、
前記上り遅延計算手順で出力された前記上り遅延を記憶する上り遅延記憶手順と、
前記上り遅延計算手順又は前記上り遅延記憶手順で出力された前記上り遅延を選択して出力する上り遅延選択手順と、
前記下り遅延と前記上り遅延選択手順で出力された前記上り遅延に基づき前記同期信号源と前記クライアントクロックとの位相差を計算する位相差計算手順と、
前記位相差に基づき位相制御値を生成し、前記位相制御値に基づいて前記クライアントクロックの出力位相を修正する位相誤差修正手順と、
前記位相差に基づき前記同期信号源と前記クライアントクロックとの同期状態を出力する同期状態判別手順と、
を実行させるためのプログラム。
発明の詳細な説明
【技術分野】
【0001】
本開示は、同期装置、同期システム、同期方法及びプログラムに関する。
続きを表示(約 2,600 文字)
【背景技術】
【0002】
特許文献1によれば、周波数・時刻同期方法は、パケットネットワークを介して接続される装置間において、上位側の装置は、標準周波数に同期する周波数情報を含む信号上に標準時刻に同期する時刻情報を含む時刻同期パケットを重畳して伝送する。信号を受信する下位側の装置は、周波数情報を抽出して自装置内の時刻のカウントアップに使用し、時刻同期パケットの時刻情報を用いて自装置の時刻を設定する。
【先行技術文献】
【特許文献】
【0003】
特開2013-034157号公報
【発明の概要】
【発明が解決しようとする課題】
【0004】
近年、5G(5th Generation)携帯基地局を構成する装置群の中でも、RU(Radio Unit)を制御する役割を担うDU(Distributed Unit)を、専用ハードウェアに代わり、汎用コンピュータ製品を利用して実現することにより、投入コストや運用コストを低減させる方式が提唱されている。
【0005】
DUにおいては、電波資源の有効活用の観点から、隣接する基地局との同期が求められる。その同期精度は、例えば+/-1.5μ秒である。この要求に対応して、装置のタイミングをTAI(仏Temps Atomique International; 国際原子時)やUTC(Universal Time, Coordinated; 協定世界時)に同期させるための手段としてGNSS(Global Navigation Satellite System; 全地球航法システム)衛星から放送された同期用信号をGNSS受信装置で受信し、同期信号を生成する技術が利用されている。
【0006】
ここで、DU装置の設置場所によってはGNSS信号を直接受信することが困難なことがある。そこで、遠隔地の装置に対して同期信号を送信する方法として、GNSS受信装置から同期信号をパケットネットワークを介して配信し、これを遠隔地の装置が受信して利用するPTP(Precision Time Protocol)方式が提案されている。
【0007】
しかしながら、DU装置を専用ハードウェアに代えて汎用コンピュータ製品を利用して実現するうえで、一定周期毎に継続的に動作を持続する必要のあるPTP処理は、一部がコンピュータ上で動作するソフトウェアによって実現される。この要請のため、PTP処理のために専用のCPU(Central Processing Unit)コアを割り当てるなど、コンピュータの計算資源をPTP処理のために一定量割り当てる必要があり、その分他の処理に利用可能な計算資源が少なくなる。
【0008】
本開示の目的は、上述した課題を鑑み、占有する計算資源や消費電力を低減して、ネットワークやコンピュータの負荷状況によらず同期精度を維持することができる同期装置、同期システム、同期方法及びプログラムを提供することにある。
【課題を解決するための手段】
【0009】
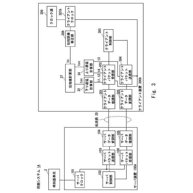
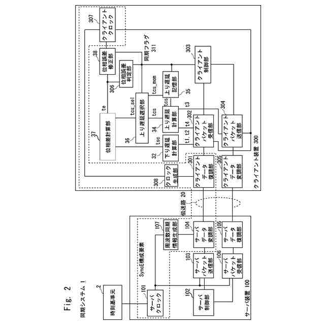
本開示にかかる同期装置は、同期情報受信部と、下り遅延計算部と、同期要求送信部と、上り遅延計算部と、上り遅延記憶部と、上り遅延選択部と、位相差計算部と、位相誤差修正部と、同期状態判別部と、を備える。同期情報受信部は、同期信号源から伝送路を介して受信した下り位相同期情報の受信時刻をクライアントクロックの時刻に基づいて生成する。下り遅延計算部は、受信時刻と下り位相同期情報とに基づいて、伝送路での下り位相同期情報の下り遅延を計算する。同期要求送信部は、同期信号源に上り位相同期要求を送信した送信時刻をクライアントクロックの時刻に基づいて生成する。上り遅延計算部は、上り位相同期要求の応答である上り位相同期応答を同期信号源から伝送路を介して受信し、上り位相同期応答と送信時刻とに基づいて伝送路での上り遅延を計算する。上り遅延記憶部は、上り遅延計算部が出力する上り遅延を記憶する。上り遅延選択部は、上り遅延計算部の出力又は上り遅延記憶部の出力を選択して出力する。位相差計算部は、下り遅延と上り遅延選択部の出力に基づき同期信号源とクライアントクロックとの位相差を計算する。位相誤差修正部は、位相差に基づき位相制御値を生成し、位相制御値に基づいてクライアントクロックの出力位相を修正する。状態判別部は、位相差に基づき同期信号源とクライアントクロックとの同期状態を出力する。
【0010】
本開示にかかる同期システムは、同期信号源となるサーバ装置と、クライアント装置と、を備える。サーバ装置は、同期信号をクライアント装置に送信する同期信号送信部を備える。クライアント装置は、同期情報受信部と、下り遅延計算部と、同期要求送信部と、上り遅延計算部と、上り遅延記憶部と、上り遅延選択部と、位相差計算部と、位相誤差修正部と、同期状態判別部と、を備える。受信部は、同期信号源から伝送路を介して受信した下り位相同期情報の受信時刻をクライアントクロックの時刻に基づいて生成する。下り遅延計算部は、受信時刻と下り位相同期情報とに基づいて、伝送路での下り位相同期情報の下り遅延を計算する。同期要求送信部は、同期信号源に上り位相同期要求を送信した送信時刻をクライアントクロックの時刻に基づいて生成する。上り遅延計算部は、上り位相同期要求の応答である上り位相同期応答を同期信号源から伝送路を介して受信し、上り位相同期応答と送信時刻とに基づいて伝送路での上り遅延を計算する。上り遅延記憶部は、上り遅延計算部が出力する上り遅延を記憶する。上り遅延選択部は、上り遅延計算部の出力又は上り遅延記憶部の出力を選択して出力する。位相差計算部は、下り遅延と上り遅延選択部の出力に基づき同期信号源とクライアントクロックとの位相差を計算する。位相誤差修正部は、位相差に基づき位相制御値を生成し、位相制御値に基づいてクライアントクロックの出力位相を修正する。状態判別部は、位相差に基づき同期信号源とクライアントクロックとの同期状態を出力する。
(【0011】以降は省略されています)
この特許をJ-PlatPat(特許庁公式サイト)で参照する
関連特許
日本電気株式会社
監視装置
1か月前
日本電気株式会社
管理装置
1か月前
日本電気株式会社
特定装置
1日前
日本電気株式会社
監視装置
1か月前
日本電気株式会社
光モジュール
1か月前
日本電気株式会社
異常検知装置
1か月前
日本電気株式会社
海底分岐装置
1か月前
日本電気株式会社
光集積回路素子
1か月前
日本電気株式会社
レーザモジュール
1か月前
日本電気株式会社
超伝導量子回路装置
1か月前
日本電気株式会社
受信器および通信装置
1か月前
日本電気株式会社
送信装置および通信装置
1か月前
日本電気株式会社
通信装置および通信方法
1か月前
日本電気株式会社
推論装置および推論方法
24日前
日本電気株式会社
システム、装置及び方法
1か月前
日本電気株式会社
光伝送システムおよび方法
1か月前
日本電気株式会社
分析方法および分析システム
1か月前
日本電気株式会社
ラインカード及びイジェクタ
1か月前
日本電気株式会社
制御装置、プログラム及び方法
1か月前
日本電気株式会社
演算処理装置および演算処理方法
1か月前
日本電気株式会社
兆候検知装置および兆候検知方法
1か月前
日本電気株式会社
考査装置、考査方法、プログラム
25日前
日本電気株式会社
考査装置、考査方法、プログラム
25日前
日本電気株式会社
時刻維持装置および時刻維持方法
23日前
日本電気株式会社
交渉装置、交渉方法及びプログラム
9日前
日本電気株式会社
ボロメータアレイ、及び光検出方法
3日前
日本電気株式会社
交渉装置、交渉方法及びプログラム
1か月前
日本電気株式会社
放送用システムおよび字幕作成方法
1か月前
日本電気株式会社
推定装置、推定方法及びプログラム
1か月前
日本電気株式会社
ソーナー装置、通信方法、プログラム
1か月前
日本電気株式会社
端末、端末の制御方法及びプログラム
1か月前
日本電気株式会社
監視装置、監視方法、及びプログラム
22日前
日本電気株式会社
波長可変レーザ装置及びその構成方法
1か月前
日本電気株式会社
情報処理装置、制御方法及び記憶媒体
1か月前
日本電気株式会社
レコメンド装置およびレコメンド方法
1か月前
日本電気株式会社
推定装置、推定方法、及び、記録媒体
1か月前
続きを見る
他の特許を見る