TOP
|
特許
|
意匠
|
商標
特許ウォッチ
Twitter
他の特許を見る
10個以上の画像は省略されています。
公開番号
2025147488
公報種別
公開特許公報(A)
公開日
2025-10-07
出願番号
2024047754
出願日
2024-03-25
発明の名称
演算処理装置および演算処理方法
出願人
日本電気株式会社
代理人
個人
,
個人
主分類
B64G
3/00 20060101AFI20250930BHJP(航空機;飛行;宇宙工学)
要約
【課題】種々の制約や規制を受けることなく、常時または定期的に、宇宙空間の物体の位置を観測できる演算処理装置を提供する。
【解決手段】輝点抽出手段は、画像データが表す画像中の輝点の中から、所定物体以外の輝点を抽出する。位置算出手段は、抽出された輝点の画像中の位置から、当該輝点に該当する物体の位置を算出するとともに、センサによる撮像時刻を算出する。物体特定手段は、既知の物体の位置情報を取得し、当該既知の物体の位置情報と、算出された位置とに基づいて、位置が算出された物体と既知の物体とを関連付ける。位置登録手段は、関連付けの結果に基づいて、算出された位置および撮像時刻を物体カタログ情報に登録する。物体特定手段は、関連付けの結果に基づいて、所定物体以外の輝点の中から監視対象の輝点を抽出する。演算手段は、監視対象の位置および撮像時刻を特定する。
【選択図】図11
特許請求の範囲
【請求項1】
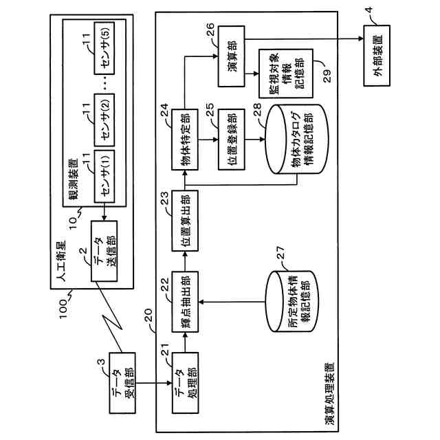
観測衛星に設けられたセンサによって得られた画像データを、画像として認識できる形式に変換するデータ処理手段と、
画像データが表す画像中の輝点の中から、所定物体以外の輝点を抽出する輝点抽出手段と、
抽出された輝点の画像中の位置から、当該輝点に該当する物体の位置を算出するとともに、前記センサによる撮像時刻を算出する位置算出手段と、
物体カタログ情報から、既知の物体の位置情報を取得し、当該既知の物体の位置情報と、算出された位置とに基づいて、位置が算出された物体と既知の物体とを関連付ける物体特定手段と、
関連付けの結果に基づいて、算出された位置および撮像時刻を物体カタログ情報に登録する位置登録手段とを備え、
前記物体特定手段は、関連付けの結果に基づいて、所定物体以外の輝点の中から監視対象の輝点を抽出し、
前記監視対象の位置および撮像時刻を特定する演算手段を備え、
前記演算手段は、
前記監視対象の移動方向および移動速度を算出する
ことを特徴とする演算処理装置。
続きを表示(約 1,100 文字)
【請求項2】
前記演算手段は、
前回の画像データに基づいて得られた前記監視対象の位置および撮像時刻と、新たな画像データに基づいて得られた前記監視対象の位置および撮像時刻とに基づいて、前記監視対象の移動方向および移動速度を算出する
請求項1に記載の演算処理装置。
【請求項3】
前記位置登録手段は、
既知の物体と関連付けられなかった物体の位置および撮像時刻を、新たな物体の情報として物体カタログ情報に登録する
請求項1または請求項2に記載の演算処理装置。
【請求項4】
コンピュータが、
観測衛星に設けられたセンサによって得られた画像データを、画像として認識できる形式に変換し、
画像データが表す画像中の輝点の中から、所定物体以外の輝点を抽出し、
抽出された輝点の画像中の位置から、当該輝点に該当する物体の位置を算出するとともに、前記センサによる撮像時刻を算出し、
物体カタログ情報から、既知の物体の位置情報を取得し、当該既知の物体の位置情報と、算出された位置とに基づいて、位置が算出された物体と既知の物体とを関連付け、
関連付けの結果に基づいて、算出された位置および撮像時刻を物体カタログ情報に登録し、
関連付けの結果に基づいて、所定物体以外の輝点の中から監視対象の輝点を抽出し、
前記監視対象の位置および撮像時刻を特定し、
前記監視対象の移動方向および移動速度を算出する
ことを特徴とする演算処理方法。
【請求項5】
コンピュータに、
観測衛星に設けられたセンサによって得られた画像データを、画像として認識できる形式に変換するデータ処理、
画像データが表す画像中の輝点の中から、所定物体以外の輝点を抽出する輝点抽出処理、
抽出された輝点の画像中の位置から、当該輝点に該当する物体の位置を算出するとともに、前記センサによる撮像時刻を算出する位置算出処理、
物体カタログ情報から、既知の物体の位置情報を取得し、当該既知の物体の位置情報と、算出された位置とに基づいて、位置が算出された物体と既知の物体とを関連付ける物体特定処理、
関連付けの結果に基づいて、算出された位置および撮像時刻を物体カタログ情報に登録する位置登録処理、
関連付けの結果に基づいて、所定物体以外の輝点の中から監視対象の輝点を抽出する監視対象輝点抽出処理、
前記監視対象の位置および撮像時刻を特定する特定処理、および、
前記監視対象の移動方向および移動速度を算出する算出処理
を実行させるための演算処理プログラム。
発明の詳細な説明
【技術分野】
【0001】
本開示は、演算処理装置、演算処理方法、および、演算処理プログラムに関する。
続きを表示(約 1,400 文字)
【背景技術】
【0002】
近年、インターネット接続等のサービスを提供する民間企業が数百から数千の人工衛星を打ち上げ、人工衛星の運用とサービスの提供を開始している。また、他国の通信衛星へ接近し、通信を傍受するといった不審な動きをする人工衛星も存在していることが分かっている。このような人工衛星をはじめとする宇宙空間を移動する物体の位置を把握することは、人工衛星の衝突等の事故を回避するために非常に重要である。また、不審な人工衛星の存在や動向を把握することは、我が国や同盟国の安全保障に有益な情報となる。
【0003】
一般に、宇宙空間に存在する人工衛星等の物体の位置を把握するために、地上に設けられた光学望遠鏡やレーダ装置が使用されている。一般に、地上から遠距離にある物体(例えば、静止軌道上の物体)の観測には、光学望遠鏡が使用され、地上から比較的近距離にある物体(例えば、低軌道上の物体)の観測には、レーダ装置が使用される。
【0004】
また、特許文献1には、宇宙を飛翔する宇宙物体の状況を表す宇宙物体情報を取得し、宇宙物体情報を管理する装置が記載されている。
【先行技術文献】
【特許文献】
【0005】
特開2024-15352号公報
【発明の概要】
【発明が解決しようとする課題】
【0006】
光学望遠鏡で宇宙空間の物体を観測する場合、日中や、雲が存在する場合には、観測できない。すなわち、光学望遠鏡を用いる場合、雲が存在しない夜間にしか、物体を観測できない。従って、光学望遠鏡を用いる場合、定期的な観測を行えない。そして、観測を行えない時間帯に人工衛星の軌道変更が行われると、その人工衛星の正確な位置を把握できず、衝突等の事故や、安全保障上の懸念が発生する可能性が生じる。
【0007】
また、レーダ装置による観測は、雲の有無や昼夜の影響は受けない。しかし、レーダ装置は、地上から電波を発信するため、電波法上の規制を受ける。従って、レーダ装置を自由に使用することが難しい。また、静止軌道上の物体をレーダ装置で観測するには、大きな出力の電波を発信する必要があり、レーダ装置の設備が大きくなってしまう。さらに、レーダ装置の周囲が電波の影響を受けないようにするため、レーダ装置のアンテナの設置場所にも考慮が必要になる。
【0008】
種々の制約や規制を受けることなく、常時または定期的に、宇宙空間の物体の位置を観測できることが好ましい。
【0009】
また、宇宙空間に存在する物体の位置を宇宙空間内の観測設備(例えば、観測専用の人工衛星や、人工衛星に搭載されているスタートラッカー)で観測することも考えられる。しかし、観測専用の人工衛星を使用する場合、人工衛星の開発および打ち上げに通常、百億円以上のコストが必要となる。また、スタートラッカーの視野角は約20度であり、狭いため、スタートラッカーを使用する場合、観測できる範囲が限定されてしまう。そのため、観測専用の人工衛星や、スタートラッカーで物体を観測することは好ましくない。
【0010】
前述のように、種々の制約や規制を受けることなく、常時または定期的に、宇宙空間の物体の位置を観測できることが好ましい。
(【0011】以降は省略されています)
この特許をJ-PlatPat(特許庁公式サイト)で参照する
関連特許
日本電気株式会社
監視装置
1か月前
日本電気株式会社
管理装置
1か月前
日本電気株式会社
監視装置
1か月前
日本電気株式会社
光モジュール
26日前
日本電気株式会社
異常検知装置
1か月前
日本電気株式会社
海底分岐装置
1か月前
日本電気株式会社
光集積回路素子
1か月前
日本電気株式会社
レーザモジュール
1か月前
日本電気株式会社
超伝導量子回路装置
1か月前
日本電気株式会社
受信器および通信装置
1か月前
日本電気株式会社
推論装置および推論方法
18日前
日本電気株式会社
システム、装置及び方法
1か月前
日本電気株式会社
通信装置および通信方法
1か月前
日本電気株式会社
光伝送システムおよび方法
1か月前
日本電気株式会社
ラインカード及びイジェクタ
1か月前
日本電気株式会社
制御装置、プログラム及び方法
1か月前
日本電気株式会社
考査装置、考査方法、プログラム
19日前
日本電気株式会社
考査装置、考査方法、プログラム
19日前
日本電気株式会社
時刻維持装置および時刻維持方法
17日前
日本電気株式会社
兆候検知装置および兆候検知方法
1か月前
日本電気株式会社
演算処理装置および演算処理方法
1か月前
日本電気株式会社
交渉装置、交渉方法及びプログラム
26日前
日本電気株式会社
交渉装置、交渉方法及びプログラム
3日前
日本電気株式会社
放送用システムおよび字幕作成方法
1か月前
日本電気株式会社
推定装置、推定方法及びプログラム
1か月前
日本電気株式会社
ソーナー装置、通信方法、プログラム
1か月前
日本電気株式会社
端末、端末の制御方法及びプログラム
1か月前
日本電気株式会社
レコメンド装置およびレコメンド方法
1か月前
日本電気株式会社
監視装置、監視方法、及びプログラム
16日前
日本電気株式会社
情報処理装置、制御方法及び記憶媒体
1か月前
日本電気株式会社
判別装置、判別方法、およびプログラム
1か月前
日本電気株式会社
安否確認支援装置、方法及びプログラム
1か月前
日本電気株式会社
学習装置、学習方法及び学習プログラム
1か月前
日本電気株式会社
動作認識装置、動作認識方法、プログラム
1か月前
日本電気株式会社
性能監視装置、性能監視方法、プログラム
1か月前
日本電気株式会社
店舗端末、情報処理方法、及びプログラム
18日前
続きを見る
他の特許を見る