TOP
|
特許
|
意匠
|
商標
特許ウォッチ
Twitter
他の特許を見る
公開番号
2025147493
公報種別
公開特許公報(A)
公開日
2025-10-07
出願番号
2024047759
出願日
2024-03-25
発明の名称
兆候検知装置および兆候検知方法
出願人
日本電気株式会社
代理人
個人
,
個人
主分類
G06F
21/62 20130101AFI20250930BHJP(計算;計数)
要約
【課題】ファイルの不正利用の兆候を検知するとともに、新たなファイルがフォルダに保存された場合に、そのことを示す情報をそのフォルダへのアクセス権を持つ者に通知する兆候検知装置、方法及びプログラムを提供する。
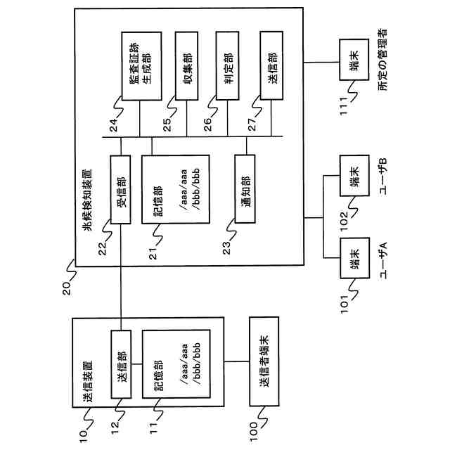
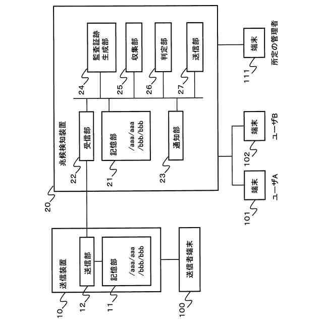
【解決手段】兆候検知装置において、通知部は、送信装置から受信した新たなファイルが一のフォルダに保存されたときに、当該一のフォルダへのアクセス権を持つユーザの端末に、新たなファイルが保存されたことを通知する。収集部は、当該兆候検知装置でファイル操作が行われたことによって当該兆候検知装置で生成された監査証跡及び各ユーザの端末それぞれでファイル操作が行われたことによって各ユーザの各端末で生成された監査証跡を収集する。判定部は、予め機械学習によって生成されたモデルに、収集された監査証跡を適用することによって、当該収集された監査証跡がファイルの不正利用の兆候に該当するか否かを判定する。
【選択図】図1
特許請求の範囲
【請求項1】
ファイルの不正利用の兆候を検知する兆候検知装置であって、
送信装置から受信した新たなファイルが一のフォルダに保存されたときに、当該一のフォルダへのアクセス権を持つユーザの端末に、前記新たなファイルが保存されたことを通知する通知手段を備え、
前記新たなファイルは、前記アクセス権を持つユーザの端末にコピー可能であり、
当該兆候検知装置でファイル操作が行われたことによって当該兆候検知装置で生成された監査証跡、および、各ユーザの各端末でファイル操作が行われたことによって各ユーザの各端末で生成された監査証跡を収集する収集手段と、
予め機械学習によって生成されたモデルに、収集された監査証跡を適用することによって、当該収集された監査証跡がファイルの不正利用の兆候に該当するか否かを判定する判定手段と、
監査証跡がファイルの不正利用の兆候に該当すると判定された場合、当該監査証跡を所定の管理者の端末に送信する送信手段とを備える
ことを特徴とする兆候検知装置。
続きを表示(約 1,300 文字)
【請求項2】
監査証跡は、
ファイル操作を行ったユーザのユーザIDと、
ファイル操作日時と、
操作されたファイルが保存されている装置の装置名と、
操作されたファイルが保存されているフォルダのフォルダ名と、
操作されたファイルのファイル名と、
ファイル操作の種類とを含む
請求項1に記載の兆候検知装置。
【請求項3】
前記モデルは、過去に当該兆候検知装置で生成された監査証跡、および、過去に各ユーザの各端末で生成された監査証跡に、「ファイルの不正利用の兆候に該当する」というラベル、または、「ファイルの不正利用の兆候に該当しない」というラベルを付加したデータを教師データとして、機械学習によって生成されたモデルである
請求項1に記載の兆候検知装置。
【請求項4】
前記送信装置、当該兆候検知装置、前記各ユーザの各端末、および、前記所定の管理者の端末が属する通信ネットワークは、他の通信ネットワークから隔絶されている
請求項1から請求項3のうちのいずれか1項に記載の兆候検知装置。
【請求項5】
兆候検知装置が、
送信装置から受信した新たなファイルが一のフォルダに保存されたときに、当該一のフォルダへのアクセス権を持つユーザの端末に、前記新たなファイルが保存されたことを通知し、
前記新たなファイルは、前記アクセス権を持つユーザの端末にコピー可能であり、
前記兆候検知装置が、
当該兆候検知装置でファイル操作が行われたことによって当該兆候検知装置で生成された監査証跡、および、各ユーザの各端末でファイル操作が行われたことによって各ユーザの各端末で生成された監査証跡を収集し、
予め機械学習によって生成されたモデルに、収集された監査証跡を適用することによって、当該収集された監査証跡がファイルの不正利用の兆候に該当するか否かを判定し、
監査証跡がファイルの不正利用の兆候に該当すると判定された場合、当該監査証跡を所定の管理者の端末に送信する
ことを特徴とする兆候検知方法。
【請求項6】
コンピュータに、
送信装置から受信した新たなファイルが一のフォルダに保存されたときに、当該一のフォルダへのアクセス権を持つユーザの端末に、前記新たなファイルが保存されたことを通知する通知処理を実行させ、
前記新たなファイルは、前記アクセス権を持つユーザの端末にコピー可能であり、
前記コンピュータに、
当該コンピュータでファイル操作が行われたことによって当該コンピュータで生成された監査証跡、および、各ユーザの各端末でファイル操作が行われたことによって各ユーザの各端末で生成された監査証跡を収集する収集処理、
予め機械学習によって生成されたモデルに、収集された監査証跡を適用することによって、当該収集された監査証跡がファイルの不正利用の兆候に該当するか否かを判定する判定処理、および、
監査証跡がファイルの不正利用の兆候に該当すると判定された場合、当該監査証跡を所定の管理者の端末に送信する送信処理
を実行させるための兆候検知プログラム。
発明の詳細な説明
【技術分野】
【0001】
本開示は、ファイルの不正利用の兆候を検知する兆候検知装置、兆候検知方法、および、兆候検知プログラムに関する。
続きを表示(約 1,800 文字)
【背景技術】
【0002】
特許文献1には、不正な情報持ち出しを発見するアクセス管理装置が記載されている。
【先行技術文献】
【特許文献】
【0003】
特開2018-109795号公報
【発明の概要】
【発明が解決しようとする課題】
【0004】
組織内部から情報を漏洩させる等のファイルの不正利用の兆候を検知できることが好ましい。
【0005】
また、新たなファイルがフォルダに保存された場合に、そのことを示す情報をそのフォルダへのアクセス権を持つ者に通知できることが好ましい。
【0006】
そこで、本開示は、ファイルの不正利用の兆候を検知するとともに、新たなファイルがフォルダに保存された場合に、そのことを示す情報をそのフォルダへのアクセス権を持つ者に通知できる兆候検知装置、兆候検知方法、および、兆候検知プログラムを提供することを目的とする。
【課題を解決するための手段】
【0007】
本開示に係る兆候検知装置は、ファイルの不正利用の兆候を検知する兆候検知装置であって、送信装置から受信した新たなファイルが一のフォルダに保存されたときに、当該一のフォルダへのアクセス権を持つユーザの端末に、新たなファイルが保存されたことを通知する通知手段を備え、その新たなファイルは、アクセス権を持つユーザの端末にコピー可能であり、当該兆候検知装置でファイル操作が行われたことによって当該兆候検知装置で生成された監査証跡、および、各ユーザの各端末でファイル操作が行われたことによって各ユーザの各端末で生成された監査証跡を収集する収集手段と、予め機械学習によって生成されたモデルに、収集された監査証跡を適用することによって、当該収集された監査証跡がファイルの不正利用の兆候に該当するか否かを判定する判定手段と、監査証跡がファイルの不正利用の兆候に該当すると判定された場合、当該監査証跡を所定の管理者の端末に送信する送信手段とを備えることを特徴とする。
【0008】
本開示に係る兆候検知方法は、兆候検知装置が、送信装置から受信した新たなファイルが一のフォルダに保存されたときに、当該一のフォルダへのアクセス権を持つユーザの端末に、新たなファイルが保存されたことを通知し、その新たなファイルは、アクセス権を持つユーザの端末にコピー可能であり、兆候検知装置が、当該兆候検知装置でファイル操作が行われたことによって当該兆候検知装置で生成された監査証跡、および、各ユーザの各端末でファイル操作が行われたことによって各ユーザの各端末で生成された監査証跡を収集し、予め機械学習によって生成されたモデルに、収集された監査証跡を適用することによって、当該収集された監査証跡がファイルの不正利用の兆候に該当するか否かを判定し、監査証跡がファイルの不正利用の兆候に該当すると判定された場合、当該監査証跡を所定の管理者の端末に送信することを特徴とする。
【0009】
本開示に係る兆候検知プログラムは、コンピュータに、送信装置から受信した新たなファイルが一のフォルダに保存されたときに、当該一のフォルダへのアクセス権を持つユーザの端末に、新たなファイルが保存されたことを通知する通知処理を実行させ、その新たなファイルは、アクセス権を持つユーザの端末にコピー可能であり、そのコンピュータに、当該コンピュータでファイル操作が行われたことによって当該コンピュータで生成された監査証跡、および、各ユーザの各端末でファイル操作が行われたことによって各ユーザの各端末で生成された監査証跡を収集する収集処理、予め機械学習によって生成されたモデルに、収集された監査証跡を適用することによって、当該収集された監査証跡がファイルの不正利用の兆候に該当するか否かを判定する判定処理、および、監査証跡がファイルの不正利用の兆候に該当すると判定された場合、当該監査証跡を所定の管理者の端末に送信する送信処理を実行させる。
【発明の効果】
【0010】
本開示によれば、ファイルの不正利用の兆候を検知するとともに、新たなファイルがフォルダに保存された場合に、そのことを示す情報をそのフォルダへのアクセス権を持つ者に通知できる。
【図面の簡単な説明】
(【0011】以降は省略されています)
この特許をJ-PlatPat(特許庁公式サイト)で参照する
関連特許
日本電気株式会社
管理装置
1か月前
日本電気株式会社
監視装置
1か月前
日本電気株式会社
監視装置
1か月前
日本電気株式会社
海底分岐装置
1か月前
日本電気株式会社
異常検知装置
1か月前
日本電気株式会社
光モジュール
29日前
日本電気株式会社
光集積回路素子
1か月前
日本電気株式会社
レーザモジュール
1か月前
日本電気株式会社
超伝導量子回路装置
1か月前
日本電気株式会社
受信器および通信装置
1か月前
日本電気株式会社
システム、装置及び方法
1か月前
日本電気株式会社
推論装置および推論方法
21日前
日本電気株式会社
通信装置および通信方法
1か月前
日本電気株式会社
光伝送システムおよび方法
1か月前
日本電気株式会社
ラインカード及びイジェクタ
1か月前
日本電気株式会社
制御装置、プログラム及び方法
1か月前
日本電気株式会社
考査装置、考査方法、プログラム
22日前
日本電気株式会社
演算処理装置および演算処理方法
1か月前
日本電気株式会社
考査装置、考査方法、プログラム
22日前
日本電気株式会社
時刻維持装置および時刻維持方法
20日前
日本電気株式会社
兆候検知装置および兆候検知方法
1か月前
日本電気株式会社
交渉装置、交渉方法及びプログラム
29日前
日本電気株式会社
推定装置、推定方法及びプログラム
1か月前
日本電気株式会社
ボロメータアレイ、及び光検出方法
今日
日本電気株式会社
交渉装置、交渉方法及びプログラム
6日前
日本電気株式会社
放送用システムおよび字幕作成方法
1か月前
日本電気株式会社
端末、端末の制御方法及びプログラム
1か月前
日本電気株式会社
レコメンド装置およびレコメンド方法
1か月前
日本電気株式会社
ソーナー装置、通信方法、プログラム
1か月前
日本電気株式会社
情報処理装置、制御方法及び記憶媒体
1か月前
日本電気株式会社
監視装置、監視方法、及びプログラム
19日前
日本電気株式会社
安否確認支援装置、方法及びプログラム
1か月前
日本電気株式会社
学習装置、学習方法及び学習プログラム
1か月前
日本電気株式会社
判別装置、判別方法、およびプログラム
1か月前
日本電気株式会社
情報処理装置、情報処理方法、プログラム
21日前
日本電気株式会社
店舗端末、情報処理方法、及びプログラム
21日前
続きを見る
他の特許を見る