TOP
|
特許
|
意匠
|
商標
特許ウォッチ
Twitter
他の特許を見る
10個以上の画像は省略されています。
公開番号
2025148982
公報種別
公開特許公報(A)
公開日
2025-10-08
出願番号
2024049392
出願日
2024-03-26
発明の名称
鍵盤楽器の鍵盤装置
出願人
株式会社河合楽器製作所
代理人
個人
,
個人
,
個人
,
個人
,
個人
主分類
G10H
1/34 20060101AFI20251001BHJP(楽器;音響)
要約
【課題】グランドピアノに比べて部品点数を低減するとともに調整箇所を削減することで、生産性やメンテナンス性を向上させることができ、また、寸法精度の高いハンマーが得られることにより、演奏時にグランドピアノと同等のタッチ感や演奏性を得ることができる鍵盤楽器の鍵盤装置を提供する。
【解決手段】揺動自在の鍵2と、鍵2の押鍵に連動して所定動作を実行するアクションユニット6と、ハンマー突出部46を介してアクションユニット6に載置され、鍵2の押鍵に伴い、アクションユニット6を介して上方に回動駆動されるハンマー5と、を備え、ハンマー5は、合成樹脂から成るハンマー本体41を有しており、ハンマー突出部46は、下方に突出し、ハンマー本体41と一体に成形された突出部本体48と、突出部本体48を覆った状態でハンマー本体41に取り付けられたローラブッシュ49と、を有している。
【選択図】図1
特許請求の範囲
【請求項1】
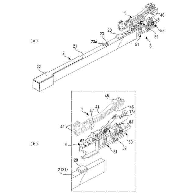
前後方向に所定長さ延び、長さ方向の中央付近を支点として揺動自在の鍵と、
この鍵の後部に設けられ、当該鍵の押鍵に連動して所定動作を実行するアクションユニットと、
前記鍵の後側に配置されたハンマーサポートと、
前後方向に所定長さ延び、後端部において前記ハンマーサポートの左右方向に延びるハンマー支軸を介して回動自在に支持されるとともに、当該ハンマー支軸の直ぐ前側に下方に突出するように設けられたハンマー突出部を介して前記アクションユニットに載置され、前記鍵の押鍵に伴い、前記アクションユニットを介して上方に駆動されるハンマーと、
を備え、
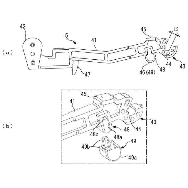
前記ハンマーは、前後方向に所定長さ延び、合成樹脂から成るハンマー本体を有しており、
前記ハンマー突出部は、
下方に突出し、前記ハンマー本体と一体に成形された突出部本体と、
所定の材料で構成された成形品から成り、前記突出部本体を覆った状態で前記ハンマー本体に取り付けられた突出部カバーと、
を有していることを特徴とする鍵盤楽器の鍵盤装置。
続きを表示(約 340 文字)
【請求項2】
前記突出部カバーは、
上方に開口し、前記突出部本体が嵌入された状態で、当該突出部本体に装着されるカバー本体と、
このカバー本体から上方に突出し、互いに左右方向に所定間隔を隔てて設けられた左右2つのフックと、
を有しており、
前記ハンマー本体は、前記突出部本体の直ぐ上側の左右両側に設けられ、前記カバー本体が前記突出部本体に装着されたときに、前記2つのフックを抜止め状態に係合する左右2つのフック受けを有していることを特徴とする請求項1に記載の鍵盤楽器の鍵盤装置。
【請求項3】
前記カバー本体は、側面形状が下方に凸に湾曲し、所定の曲率を有する円弧状に形成されていることを特徴とする請求項2に記載の鍵盤楽器の鍵盤装置。
発明の詳細な説明
【技術分野】
【0001】
本発明は、鍵盤楽器の鍵盤装置に関し、特に、押鍵に連動して動作するアクションユニットと、これに載置され、押鍵に伴いアクションユニットを介して上方に駆動されるハンマーとを備えた鍵盤楽器の鍵盤装置に関する。
続きを表示(約 2,500 文字)
【背景技術】
【0002】
一般に、アコースティックピアノであるグランドピアノでは、鍵の押鍵に伴って作動し、ハンマーを上方に回動させることにより、打弦を行わせるアクションが設けられている。このようなアクションの一例が、例えば本出願人がすでに出願した特許文献1に開示されている。このアクションは、鍵ごとに設けられており、回動自在に支持されかつ鍵の後部に載置されたウィッペンと、このウィッペンに回動自在に取り付けられたレペティションレバー及びジャックと、これらを所定方向に付勢するレペティションスプリングと、レペティションレバー及びジャックの回動をそれぞれ規制するレペティションスクリュー及びレギュレーティングボタンなどを備えている。
【0003】
また、ハンマーは、前後方向に延びるとともに基端部側にシャンクローラが取り付けられたハンマーシャンクと、その先端部に取り付けられたハンマーヘッドなどで構成されている。そして、このハンマーは、ハンマーシャンクの基端部において回動自在に支持されている。
【0004】
上記のアクションにおいて、レペティションレバーには、上下方向に貫通するジャック案内孔が設けられており、このジャック案内孔の付近に、シャンクローラを介してハンマーが載置されている。また、上記のジャックは、側面形状がL字状に形成されており、上下方向に延びるハンマー突上げ部の先端部が、レペティションレバーのジャック案内孔に、下方から挿入されかつ前後方向に移動自在に係合するとともに、シャンクローラに対向している。
【0005】
以上のように構成されたハンマー及びアクションを備えたグランドピアノでは、鍵が押鍵されると、その鍵の後部で突き上げられたウィッペンが上方に回動し、これに伴い、レペティションレバー及びジャックも上方に移動する。これに伴いまず、レペティションレバーがシャンクローラを摺動させながら、これを介してハンマーを押し上げ、上方に回動させる。次いで、レペティションレバーがレペティションスクリューに当接することで係止されることにより、ジャックがシャンクローラを介してハンマーを突き上げる。その後、ハンマーが、上方に張られた弦を打弦する直前まで回動した時点で、ジャックが、レギュレーティングボタンに係合することによって、シャンクローラから抜ける(脱進)。このようなジャックの脱進により、ハンマーは、アクション及び鍵との連結を解かれ、自由回動の状態で、弦を打弦する。なお、ジャックの脱進の際に、鍵のタッチ重さ(静的荷重)の変化、具体的には、タッチ重さの急激な増加及びその直後の急激な減少によるクリック感が生じることにより、演奏者がピアノを弾くときのタッチ感において、いわゆるレットオフ感が得られる。
【0006】
その後、鍵が離鍵され、鍵盤深さの1/3程度戻されたタイミングで、レペティションレバーが作動し始め、レペティションスプリングのばね力で所定方向に復帰回動することによって、シャンクローラを摺動させながら押し上げる。これにより、ジャックが、レペティションスプリングのばね力で所定方向に復帰回動し、元の位置に戻ることによって、鍵が離鍵状態の位置まで完全に戻らなくても、次の打弦が行えるようになっている。
【0007】
一方、電子ピアノでは、鍵の押鍵時に、ハンマーを回動させるとともに、グランドピアノに近似したレットオフ感が得られる鍵盤装置として、例えば本出願人がすでに出願した特許文献2に開示したものが知られている。この電子ピアノの鍵盤装置は、前後方向に延び、長さ方向の中央付近に設けられたバランスピンを中心として揺動自在の鍵と、鍵の後側に設けられたアクションシャーシと、このアクションシャーシに回動自在に支持されかつ鍵の後端部に載置されたハンマーと、アクションシャーシに取り付けられ、ハンマーを介して、押鍵時の鍵にレットオフ感を付与するためのレットオフ部品などを備えている。
【0008】
この電子ピアノでは、鍵が押鍵されると、鍵の後端部が上昇し、それにより、ハンマーが押し上げられることで上方に回動する。このハンマーの回動途中に、ハンマーの係合部がレットオフ部品に一時的に係合する。この場合、ハンマーがレットオフ部品を圧縮するように係合することで、その反作用として、レットオフ部品からの反発力がハンマーに作用し、その際の回動抵抗によって、鍵のタッチ重さが急激に増加する。そして、ハンマーがさらに回動し、レットオフ部品に対する係合が解除されると、上記の回動抵抗が消失することで、鍵のタッチ重さが急激に減少する。以上のような鍵のタッチ重さの急激な増減により、鍵のタッチ感に、グランドピアノに近似したレットオフ感が付与される。
【先行技術文献】
【特許文献】
【0009】
特開2003-167572号公報
特開2010-262129号公報
【発明の概要】
【発明が解決しようとする課題】
【0010】
しかし、グランドピアノでは、アクションやハンマーを構成する部品数が多く、また、回動する部品(以下、本欄において「回動部品」という)と、それを支持する部品(以下、本欄において「支持部品」という)とを、ピンを介して連結している。具体的には、支持部品において、回動部品を支持する部分が二股状に形成され、その内側に支持部品がセットされた状態で、両部品の連結孔にピンを挿入することで、回動部品が支持部品に回動自在に連結される。このように、グランドピアノでは、アクションやハンマーの構成部品が多く、しかも、製造時におけるそれらの組付け作業が煩雑であり、手間がかかってしまう。また、アクションを介して駆動されるハンマーでは、ハンマーシャンクローラの取付位置や、その形態(例えば硬さや表面の摩擦、形状)がばらつくことがある。そのため、ハンマーを適正に作動させるために、アクションの各部品やハンマーの回動範囲を調整する必要があり、その調整作業が煩雑である。
(【0011】以降は省略されています)
この特許をJ-PlatPat(特許庁公式サイト)で参照する
関連特許
個人
遮音材
今日
個人
歌唱補助器具
9日前
個人
管楽器用リガチャ-
17日前
個人
音声出力装置
今日
大和ハウス工業株式会社
音低減設備
10日前
DIC株式会社
吸音材及び吸音部品
11日前
NOK株式会社
吸音構造体
2日前
矢崎総業株式会社
車両用対話システム
1日前
株式会社SinasSP
自動騒音低減装置
22日前
横浜ゴム株式会社
多層空洞音響材
今日
株式会社第一興商
カラオケ装置
1日前
カシオ計算機株式会社
発音装置、発音方法及びプログラム
24日前
トヨタ自動車株式会社
判定装置
24日前
大建工業株式会社
吸音体及び音環境調整構造
24日前
株式会社JVCケンウッド
収音装置、収音方法、およびプログラム
24日前
有限会社ツバサ
エレキギターおよび保護フィルム付きの樹脂プレート
22日前
有限会社 宮脇工房
モーター挙動音発生装置
9日前
株式会社SUBARU
乗物用遮音構造体、及び車両
21日前
本田技研工業株式会社
能動型振動騒音制御装置
28日前
本田技研工業株式会社
能動型振動騒音制御装置
28日前
株式会社コルグ
楽音信号変換装置、楽音信号変換方法、プログラム
3日前
カシオ計算機株式会社
情報処理装置、方法およびプログラム
24日前
固昌通訊股ふん有限公司
音響調整装置
14日前
株式会社東芝
発話言語理解のためのシステムおよび方法
15日前
株式会社枚方技研
方向付き楽器固定具
1日前
安克創新科技股フン有限公司
通話ノイズキャンセリング方法及びイヤホン
15日前
カシオ計算機株式会社
情報処理装置、演奏装置、方法およびプログラム
23日前
株式会社デンソー
制御装置、ロボットシステム、制御方法、及び制御プログラム
8日前
サクサ株式会社
選曲装置及び選曲プログラム
28日前
日本放送協会
エンコーダー・デコーダー装置、推論装置、およびプログラム
14日前
パイオニア株式会社
音声出力装置
23日前
エムケイ無線事業協同組合
音声応答システム、及びそれを利用した応答方法
10日前
パイオニア株式会社
効果音出力装置
10日前
三菱ケミカル株式会社
共振シート部材、およびこれを備えた構造体
24日前
ピクシーダストテクノロジーズ株式会社
遮音ユニット、遮音構造体、および区画設備
2日前
ヤマハ株式会社
音響信号処理装置、楽器、音響信号処理方法および音響信号処理プログラム
11日前
続きを見る
他の特許を見る