TOP
|
特許
|
意匠
|
商標
特許ウォッチ
Twitter
他の特許を見る
公開番号
2025141734
公報種別
公開特許公報(A)
公開日
2025-09-29
出願番号
2024072648
出願日
2024-04-26
発明の名称
能動騒音除去機能を持つレンジフード
出願人
中原大學
代理人
個人
,
個人
,
個人
主分類
G10K
11/178 20060101AFI20250919BHJP(楽器;音響)
要約
【課題】能動騒音除去機能を持つレンジフードを提供する。
【解決手段】本発明は、主にフード体と、煙突と、ファンモータと、吸音材と、能動騒音除去システムとを備える能動騒音除去機能を持つレンジフードが開示される。前記ファンモータの運転時に空力騒音を発生することがあり、かつ前記吸音材は、かかる空力騒音の音波を遮断又は破壊させるために用いられ、これにより受動型騒音除去を実現する。本発明の設計によれば、前記能動騒音除去システムは、複数個の参照マイクロフォンと、複数個の誤差マイクロフォンと、電子装置と、少なくとも1つのスピーカとを備え、かつ前記ファンモータの運転過程において前記煙突内の音声を集音し、これにより計算を通じて反騒音信号を生成し、続いて前記反騒音信号に基づいて当該スピーカから煙突内に向けて反騒音音声を放送するように駆動し、能動型騒音除去を実現するように配置される。
【選択図】図2B
特許請求の範囲
【請求項1】
頂部開口を有するフード体と、その第1開口を介して前記頂部開口と連結される煙突と、前記煙突内に設置され、かつ第1設置位置を有するファンモータと、第1吸音パーツ及び第2吸音パーツを含む吸音材と、複数個の第1参照マイクロフォンと、複数個の誤差マイクロフォンと、少なくとも1つのスピーカと、前記複数個の第1参照マイクロフォン、前記複数個の誤差マイクロフォン及び前記少なくとも1つのスピーカに接続される電子装置とを備える能動騒音除去機能を持つレンジフードであって、
前記第1吸音パーツが前記煙突の内壁に貼り付けられ、かつ前記第2吸音パーツが前記フード体の内面に貼り付けられ、
各当該第1参照マイクロフォンは、第2設置位置を有し、かつその頭部が前記第1吸音パーツをくぐり抜けるに従って前記煙突の内部空間に露出しており、
各当該誤差マイクロフォンは、第3設置位置を有し、かつその頭部が前記第1吸音パーツをくぐり抜けるに従って前記内部空間に露出しており、
前記少なくとも1つのスピーカは、設置位置を有し、かつそのコーンのサラウンドリングを介して前記第1吸音パーツをくぐり抜けて前記内部空間に露出するように設置され、この方式によってその音発生部位を前記内部空間に対面させ得るようにし、
前記第1設置位置を前記第2設置位置よりも高くし、前記第2設置位置を前記第3設置位置よりも高くし、かつ前記設置位置が前記第2設置位置と前記第3設置位置との間に介在し、
前記電子装置は、
前記複数個の第1参照マイクロフォンが前記内部空間において第1音声を集音して第1アナログオーディオ信号を取得するように制御することと、
前記複数個の誤差マイクロフォンが前記内部空間において第2音声を集音して第2アナログオーディオ信号を取得するように制御することと、
前記第1アナログオーディオ信号及び前記第2アナログオーディオ信号を第1デジタルオーディオ信号及び第2デジタルオーディオ信号に対応変換することと、
前記第1デジタルオーディオ信号及び前記第2デジタルオーディオ信号に対して能動騒音減衰(active noise attenuating)処理を実行するに従ってデジタル出力信号を生成することと、
前記デジタル出力信号をアナログ出力信号に変換することと、
前記アナログ出力信号に基づいて当該スピーカから反騒音音声を前記内部空間に放送するように駆動することとを実行するように配置される(is configured to)ことを特徴とする、能動騒音除去機能を持つレンジフード。
続きを表示(約 1,600 文字)
【請求項2】
前記煙突内に垂直に立設される吸音マットと、前記吸音マットの上に設置され、かつ前記ファンモータに対面する複数個の第2参照マイクロフォンとをさらに備え、各当該第2参照マイクロフォンは、前記電子装置に接続され、かつ第4設置位置を有し、前記第4設置位置が前記第1設置位置と前記第2設置位置との間に介在することを特徴とする、請求項1に記載の能動騒音除去機能を持つレンジフード。
【請求項3】
前記第1設置位置と前記フード体の前記頂部開口との間に第1距離を有し、前記第2設置位置と前記頂部開口との間に第2距離を有し、前記第3設置位置と前記頂部開口との間に第3距離を有し、かつ前記第4設置位置と前記頂部開口との間に第4距離を有することを特徴とする、請求項2に記載の能動騒音除去機能を持つレンジフード。
【請求項4】
前記第3距離に対する前記第2距離の比が3~5の範囲にあり、かつ前記第2距離に対する前記第4距離の比が0.3~1.3の範囲にあることを特徴とする、請求項3に記載の能動騒音除去機能を持つレンジフード。
【請求項5】
前記設置位置と前記フード体の前記頂部開口との間に距離を有し、かつ前記第3距離に対する前記距離の比が2~4の範囲にあることを特徴とする、請求項3に記載の能動騒音除去機能を持つレンジフード。
【請求項6】
前記煙突には、複数個の第1貫通孔と、複数個の第2貫通孔と、少なくとも1個の第3貫通孔とが設けられることによって、前記複数個の第1参照マイクロフォンを前記複数個の第1貫通孔内に対応的に位置させ得るようにし、前記複数個の誤差マイクロフォンを前記複数個の第2貫通孔内に対応的に位置させ得るようにし、かつ当該スピーカを当該第3貫通孔内に対応的に位置させ得るようにすることを特徴とする、請求項2に記載の能動騒音除去機能を持つレンジフード。
【請求項7】
前記煙突の内壁に取付枠が設けられることで、前記ファンモータは、前記取付枠を通して前記煙突内に設置され得ることを特徴とする、請求項6に記載の能動騒音除去機能を持つレンジフード。
【請求項8】
前記吸音マットの外表面に突縁が設けられ、かつ前記煙突の内壁に支持枠が設けられ、前記支持枠は、貫通孔を有する支持板と、少なくとも2個の連結リブとを含み、前記支持板の左側辺と前記煙突の内壁との間を1個の当該連結リブを介して連結し、かつ前記支持板の右側辺と前記煙突の内壁との間をもう1個の当該連結リブを介して連結し、前記吸音マットは、前記貫通孔をくぐり抜け、かつその前記突縁が前記支持板によって支持されることを特徴とする、請求項7に記載の能動騒音除去機能を持つレンジフード。
【請求項9】
前記第1吸音パーツには、複数個の第4貫通孔と、複数個の第5貫通孔と、少なくとも1個の第6貫通孔とが設けられることによって、前記複数個の第1参照マイクロフォンを前記複数個の第4貫通孔内に対応的に位置させ得るようにし、前記複数個の誤差マイクロフォンを前記複数個の第5貫通孔内に対応的に位置させ得るようにし、かつ当該スピーカを当該第6貫通孔内に対応的に位置させ得るようにすることを特徴とする、請求項8に記載の能動騒音除去機能を持つレンジフード。
【請求項10】
前記取付枠は、少なくとも2枚の連結板を含み、かつ前記第1吸音パーツには、また、少なくとも2つの第7貫通孔と、少なくとも2つの第8貫通孔とが設けられることによって、前記少なくとも2枚の連結板が前記少なくとも2つの第7貫通孔を対応的にくぐり抜け得るようにし、かつ前記少なくとも2個の連結リブが前記少なくとも2つの第8貫通孔を対応的にくぐり抜け得るようにすることを特徴とする、請求項9に記載の能動騒音除去機能を持つレンジフード。
(【請求項11】以降は省略されています)
発明の詳細な説明
【技術分野】
【0001】
本発明は、レンジフードの関連技術分野に係り、特に、能動騒音除去機能を持つレンジフードに関するものである。
続きを表示(約 2,800 文字)
【背景技術】
【0002】
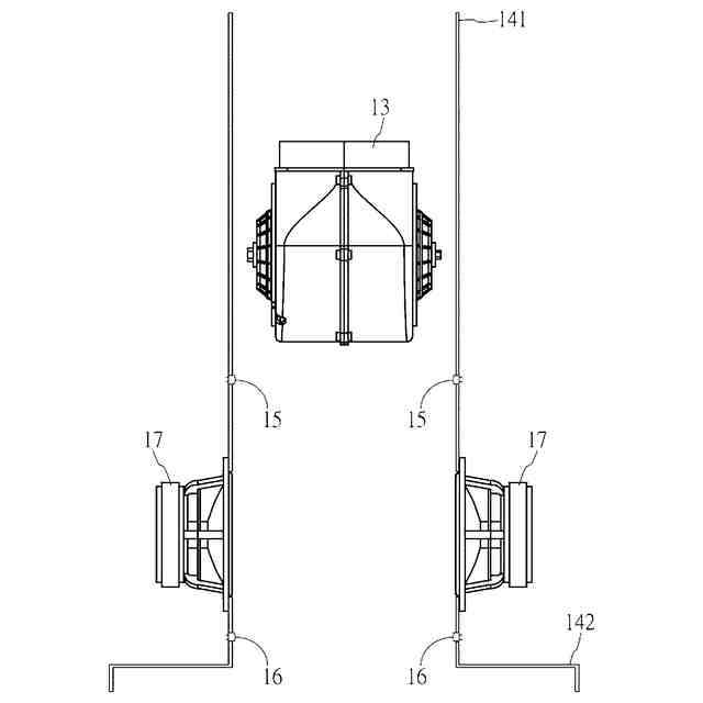
周知のように、レンジフードは、近代的なキッチンにおいて、不可欠の重要な設備となっており、それは、調理過程で発生する油煙、蒸気及び臭いなどを屋外へ排出するために用いられる。図1は、従来のある種のレンジフードの斜視図である。図1に示すように、従来のレンジフード1aは、主にフード体(hood body)11aと、煙突(chimney)12aと、前記煙突12a内に設置されるファンモータ(fan motor)13aと、ファンモータ制御装置とを備える。
【0003】
調理時、ユーザは、前記フード体上に設置されるユーザインターフェースを操作することができ、これにより前記ファンモータ制御装置は、前記ファンモータ13aを運転させるように制御することが可能となり、前記ファンモータ13aは、前記フード体11aの頂部の開口を通して調理時に発生する油煙を捕集し、続いて前記煙突12aを通過して油煙を屋外へ排出させ得る。しかしながら、実務経験により、前記ファンモータ13aの運転過程において極めて大きい空力騒音を発生することがあり、かつ空力騒音は、キッチンに身を置いている料理人、又はキッチンに隣接するバルコニーやリビングにいる家人に不愉快な気分をもたらすことになることが伺える。
【0004】
上記の説明から分かるように、従来技術のレンジフード1aに能動騒音制御(Active noise control,ANC)システムを増設することを考慮に入れ、これにより前記ANCシステムを利用して異なる運転速度のファンモータ13aから発生される異なるレベルの騒音に対して適応的に(adaptively)騒音減衰処理を行う。これに鑑み、本願の発明者は、極力研究発明した結果、遂にかかる能動騒音除去機能を持つレンジフードを研究開発して完成させた。
【発明の概要】
【発明が解決しようとする課題】
【0005】
本発明の主な目的は、フード体(hood body)と、煙突(chimney)と、ファンモータ(fan motor)と、吸音材と、能動騒音除去システムとを備える能動騒音除去機能を持つレンジフードを提供することである。前記ファンモータの運転時、空力騒音が発生することがあり、前記吸音材は、かかる空力騒音の音波を遮断又は破壊させるために用いられ、これにより受動型騒音除去を実現する。本発明の設計によれば、前記能動騒音除去システムは、複数個の参照マイクロフォンと、複数個の誤差マイクロフォンと、電子装置と、少なくとも1つのスピーカとを備え、かつ前記ファンモータの運転過程において前記煙突内の音声を集音し、これにより計算を通じて反騒音信号を生成し、続いて前記反騒音信号に基づいて当該スピーカから煙突内に向けて反騒音音声(anti-noise sound)を放送するように駆動し、能動型騒音除去を実現するように配置される。
【課題を解決するための手段】
【0006】
上記目的を達成するために、本発明が提供するかかる能動騒音除去機能を持つレンジフードの一実施例は、頂部開口を有するフード体と、その第1開口を介して前記頂部開口と連結される煙突と、前記煙突内に設置され、かつ第1設置位置を有するファンモータと、第1吸音パーツ及び第2吸音パーツを含む吸音材と、複数個の第1参照マイクロフォンと、複数個の誤差マイクロフォンと、少なくとも1つのスピーカと、前記複数個の第1参照マイクロフォン、前記複数個の誤差マイクロフォン及び前記少なくとも1つのスピーカに接続される電子装置とを備え、前記第1吸音パーツが前記煙突の内壁に貼り付けられ、かつ前記第2吸音パーツが前記フード体の内面に貼り付けられ、各当該第1参照マイクロフォンは、第2設置位置を有し、かつその頭部が前記第1吸音パーツをくぐり抜けるに従って前記煙突の内部空間に露出しており、各当該誤差マイクロフォンは、第3設置位置を有し、かつその頭部が前記第1吸音パーツをくぐり抜けるに従って前記内部空間に露出しており、かかるスピーカは、設置位置を有し、かつそのコーンのサラウンドリングを介して前記第1吸音パーツをくぐり抜けて前記内部空間に露出するように設置され、この方式によってその音発生部位を前記内部空間に対面させ得るようにし、前記第1設置位置を前記第2設置位置よりも高くし、前記第2設置位置を前記第3設置位置よりも高くし、かつかかる設置位置が前記第2設置位置と前記第3設置位置との間に介在し、前記電子装置は、前記複数個の第1参照マイクロフォンが前記内部空間において第1音声を集音して第1アナログオーディオ信号を取得するように制御することと、前記複数個の誤差マイクロフォンが前記内部空間において第2音声を集音して第2アナログオーディオ信号を取得するように制御することと、前記第1アナログオーディオ信号及び前記第2アナログオーディオ信号を第1デジタルオーディオ信号及び第2デジタルオーディオ信号に対応変換することと、前記第1デジタルオーディオ信号及び前記第2デジタルオーディオ信号に対して能動騒音減衰(active noise attenuating)処理を実行するに従ってデジタル出力信号を生成することと、前記デジタル出力信号をアナログ出力信号に変換することと、前記アナログ出力信号に基づいて当該スピーカから反騒音音声を前記内部空間に放送するように駆動することとを実行するように配置される(is configured to)。
【0007】
実行可能な実施例において、前述の本発明の能動騒音除去機能を持つレンジフードは、前記煙突内に垂直に立設される吸音マットと、前記吸音マットの上に設置され、かつ前記ファンモータに対面する複数個の第2参照マイクロフォンとをさらに備えてもよく、各当該第2参照マイクロフォンは、前記電子装置に接続され、かつ第4設置位置を有し、前記第4設置位置が前記第1設置位置と前記第2設置位置との間に介在する。
【0008】
一実施例において、前記第1設置位置と前記フード体の前記頂部開口との間に第1距離を有し、前記第2設置位置と前記頂部開口との間に第2距離を有し、前記第3設置位置と前記頂部開口との間に第3距離を有し、かつ前記第4設置位置と前記頂部開口との間に第4距離を有する。
【0009】
一実施例において、前記第3距離に対する前記第2距離の比が3~5の範囲にあり、かつ前記第2距離に対する前記第4距離の比が0.3~1.3の範囲にある。
【0010】
一実施例において、前記設置位置と前記フード体の前記頂部開口との間に距離を有し、かつ前記第3距離に対する前記距離の比が2~4の範囲にある。
(【0011】以降は省略されています)
この特許をJ-PlatPat(特許庁公式サイト)で参照する
関連特許
中原大學
能動騒音除去機能を持つレンジフード
1か月前
中原大學
環境パラメータデータと色空間画像の双方向変換機能を有するインタラクティブシステム
2か月前
台湾基督長老教会馬偕医療財団法人馬偕紀念医院
金ナノクラスターを用いてリンパ管新生関連疾患を処置及び/又は予防する方法
8か月前
個人
管楽器用リガチャ-
12日前
個人
歌唱補助器具
4日前
大和ハウス工業株式会社
音低減設備
5日前
DIC株式会社
吸音材及び吸音部品
6日前
株式会社SinasSP
自動騒音低減装置
17日前
大建工業株式会社
吸音体及び音環境調整構造
19日前
株式会社JVCケンウッド
収音装置、収音方法、およびプログラム
19日前
有限会社ツバサ
エレキギターおよび保護フィルム付きの樹脂プレート
17日前
有限会社 宮脇工房
モーター挙動音発生装置
4日前
株式会社SUBARU
乗物用遮音構造体、及び車両
16日前
固昌通訊股ふん有限公司
音響調整装置
9日前
株式会社東芝
発話言語理解のためのシステムおよび方法
10日前
安克創新科技股フン有限公司
通話ノイズキャンセリング方法及びイヤホン
10日前
カシオ計算機株式会社
情報処理装置、演奏装置、方法およびプログラム
18日前
株式会社デンソー
制御装置、ロボットシステム、制御方法、及び制御プログラム
3日前
日本放送協会
エンコーダー・デコーダー装置、推論装置、およびプログラム
9日前
パイオニア株式会社
音声出力装置
18日前
パイオニア株式会社
効果音出力装置
5日前
エムケイ無線事業協同組合
音声応答システム、及びそれを利用した応答方法
5日前
三菱ケミカル株式会社
共振シート部材、およびこれを備えた構造体
19日前
ヤマハ株式会社
音響信号処理装置、楽器、音響信号処理方法および音響信号処理プログラム
6日前
株式会社デンソーテン
情報処理装置、情報処理方法、および情報処理プログラム
12日前
株式会社東芝
ロボットのためのナビゲーション命令を生成するためのシステムおよび方法
19日前
株式会社トランストロン
アクティブノイズ制御装置、アクティブノイズ制御方法及びアクティブノイズ制御プログラム
3日前
ヤマハ株式会社
再生データ生成方法
18日前
AlphaTheta株式会社
情報処理装置
3日前
ソニーグループ株式会社
情報処理装置および方法、並びにプログラム
16日前
カシオ計算機株式会社
スタンド、鍵盤楽器セット
16日前
Fillgoo株式会社
楽曲配信システム、プログラム及びサーバ
5日前
日本精機株式会社
音圧制御装置、及びサウンダーの音圧制御システム、並びにサウンダーの音圧制御方法
12日前
レノボ・シンガポール・プライベート・リミテッド
リアルタイムアクティブ話者検出のための方法およびシステム
18日前
NTT株式会社
連続発話推定方法、連続発話推定装置、およびプログラム
11日前
ドルビー・インターナショナル・アーベー
後処理遅延低減との高周波再構成技術の統合
11日前
続きを見る
他の特許を見る