TOP
|
特許
|
意匠
|
商標
特許ウォッチ
Twitter
他の特許を見る
10個以上の画像は省略されています。
公開番号
2025177910
公報種別
公開特許公報(A)
公開日
2025-12-05
出願番号
2024085065
出願日
2024-05-24
発明の名称
ノイズキャンセルシステムおよびノイズキャンセル方法
出願人
パナソニックIPマネジメント株式会社
代理人
個人
,
個人
,
個人
主分類
G10K
11/178 20060101AFI20251128BHJP(楽器;音響)
要約
【課題】施設内の空間のレイアウトに応じてノイズをキャンセルすることができるノイズキャンセルシステム等を提供する。
【解決手段】ノイズキャンセルシステム1は、音を収集する音収集部21と、音を出力する音出力部22と、通信モジュール84を介して音収集部21および音出力部22を制御する制御装置80と、を備える。音収集部21および音出力部22は、それぞれ、複数の領域zのうちの少なくとも1つの領域に配置される。制御装置80は、音収集部21および音出力部22の配置情報が記憶される記憶部86と、配置情報に基づいて、音収集部21および音出力部22を制御する制御部85と、を有する。制御部85は、複数の領域zのうち所定の領域zaとは異なる他の領域zbに配置された音収集部21で収集した音の逆位相の音を、所定の領域zaに配置された音出力部22から出力させる。
【選択図】図2
特許請求の範囲
【請求項1】
音を収集する音収集部と、音を出力する音出力部と、通信モジュールを介して前記音収集部および前記音出力部を制御する制御装置と、を備え、
前記音収集部および前記音出力部は、それぞれ、複数の領域のうちの少なくとも1つの領域に配置され、
前記制御装置は、
前記音収集部および前記音出力部の配置情報が記憶される記憶部と、
前記配置情報に基づいて、前記音収集部および前記音出力部を制御する制御部と、
を有し、
前記制御部は、前記複数の領域のうち所定の領域とは異なる他の領域に配置された前記音収集部で収集した音の逆位相の音を、前記所定の領域に配置された前記音出力部から出力させる
ノイズキャンセルシステム。
続きを表示(約 1,200 文字)
【請求項2】
前記配置情報には、前記音収集部および前記音出力部の位置情報、および、前記複数の領域のうち前記音収集部および前記音出力部が配置されている領域に関する情報が含まれる
請求項1に記載のノイズキャンセルシステム。
【請求項3】
前記音収集部および前記音出力部は、複数のノイズキャンセル装置のそれぞれに設けられ、
前記複数のノイズキャンセル装置は、前記複数の領域に設けられ、
前記所定の領域には、前記複数のノイズキャンセル装置のうちの第1のノイズキャンセル装置が設けられ、
前記他の領域には、前記複数のノイズキャンセル装置のうちの第2のノイズキャンセル装置が設けられる
請求項1に記載のノイズキャンセルシステム。
【請求項4】
前記ノイズキャンセル装置は、前記音収集部の作動のオンまたはオフ、および、前記音出力部の作動のオンまたはオフを設定する設定部を有する
請求項3に記載のノイズキャンセルシステム。
【請求項5】
前記他の領域には、1以上の前記ノイズキャンセル装置が配置され、
前記制御部は、前記他の領域に配置された1以上の前記ノイズキャンセル装置のうち前記他の領域の中央に最も近いノイズキャンセル装置から音を収集する
請求項3または4に記載のノイズキャンセルシステム。
【請求項6】
前記所定の領域には、1以上の前記ノイズキャンセル装置が配置され、
前記制御部は、前記逆位相の音を、前記所定の領域に配置された1以上の前記ノイズキャンセル装置のうち前記他の領域に最も近いノイズキャンセル装置から出力させる
請求項3または4に記載のノイズキャンセルシステム。
【請求項7】
前記制御装置は、前記複数の領域のそれぞれの領域に配置されている1以上の前記ノイズキャンセル装置ごとに、前記音収集部および前記音出力部の作動のオンまたはオフを設定する
請求項3または4に記載のノイズキャンセルシステム。
【請求項8】
前記音収集部および前記音出力部の作動のオンまたはオフに設定するための入力は、前記制御装置に通信接続された情報端末によって前記制御装置に入力される
請求項7に記載のノイズキャンセルシステム。
【請求項9】
前記記憶部には、予め決められたスケジュール情報が記憶され、
前記制御部は、前記スケジュール情報に基づいて、前記音収集部および前記音出力部を作動させる
請求項1~4のいずれかに記載のノイズキャンセルシステム。
【請求項10】
前記スケジュール情報は、前記制御装置に通信接続された情報端末によって前記制御装置に入力される
請求項9に記載のノイズキャンセルシステム。
(【請求項11】以降は省略されています)
発明の詳細な説明
【技術分野】
【0001】
本発明は、ノイズキャンセルシステムおよびノイズキャンセル方法に関する。
続きを表示(約 2,300 文字)
【背景技術】
【0002】
従来、ノイズをキャンセルするノイズキャンセル装置が知られている。特許文献1には、車内の座席位置によらず騒音を低減する騒音キャンセル装置が開示されている。
【先行技術文献】
【特許文献】
【0003】
特開2009-255735号公報
【発明の概要】
【発明が解決しようとする課題】
【0004】
従来のノイズキャンセル装置では、施設内の空間のレイアウトに応じてノイズをキャンセルすることが困難である。
【0005】
本発明は、施設内の空間のレイアウトに応じてノイズをキャンセルすることができるノイズキャンセルシステム等を提供する。
【課題を解決するための手段】
【0006】
本発明のノイズキャンセルシステムの一態様は、音を収集する音収集部と、音を出力する音出力部と、通信モジュールを介して前記音収集部および前記音出力部を制御する制御装置と、を備え、前記音収集部および前記音出力部は、それぞれ、複数の領域のうちの少なくとも1つの領域に配置され、前記制御装置は、前記音収集部および前記音出力部の配置情報が記憶される記憶部と、前記配置情報に基づいて、前記音収集部および前記音出力部を制御する制御部と、を有し、前記制御部は、前記複数の領域のうち所定の領域とは異なる他の領域に配置された前記音収集部で収集した音の逆位相の音を、前記所定の領域に配置された前記音出力部から出力させる。
【0007】
本発明のノイズキャンセル方法の一態様は、複数の領域に配置される複数のノイズキャンセル装置と、前記複数のノイズキャンセル装置に通信接続される制御装置と、を備えるノイズキャンセルシステムのノイズキャンセル方法であって、前記複数の領域に配置される前記複数のノイズキャンセル装置の配置情報を取得するステップと、前記配置情報に基づいて、前記複数のノイズキャンセル装置を制御するステップと、を含み、前記複数のノイズキャンセル装置を制御するステップにおいて、前記複数の領域のうちの所定の領域とは異なる他の領域のノイズキャンセル装置で収集した音の逆位相の音を、前記所定の領域のノイズキャンセル装置から出力させる。
【発明の効果】
【0008】
本発明のノイズキャンセルシステム等は、施設内の空間のレイアウトに応じてノイズをキャンセルすることができる。
【図面の簡単な説明】
【0009】
実施の形態1に係るノイズキャンセルシステムの全体構成を示す図である。
実施の形態1に係るノイズキャンセル装置および制御装置のブロック構成図である。
制御装置の記憶部に記憶されたノイズキャンセル装置の識別情報および配置情報等を示す図である。
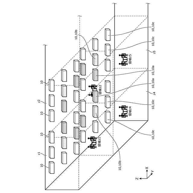
施設内の複数の領域に配置された複数のノイズキャンセル装置を示す図である。
所定の領域に配置された第1のノイズキャンセル装置、および、他の領域に配置された第2のノイズキャンセル装置の一例を示す図である。
第2のノイズキャンセル装置にて収集される音の波形を示す図である。
第1のノイズキャンセル装置から出力される音の波形を示す図である。
所定の領域に配置された第1のノイズキャンセル装置、および、他の領域に配置された第2のノイズキャンセル装置の他の一例を示す図である。
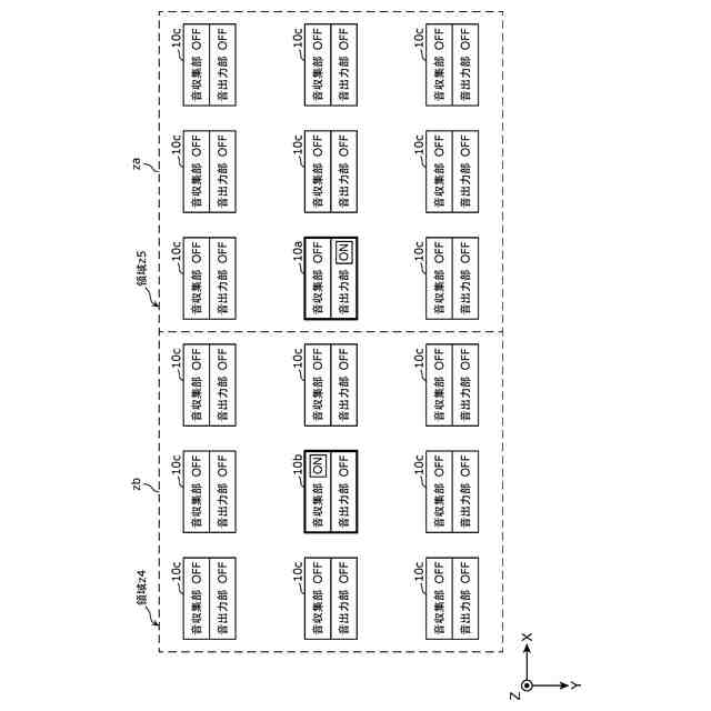
2つの領域における音収集部および音出力部の設定例を示す図である。
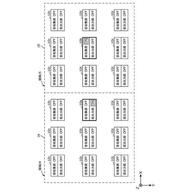
2つの領域における音収集部および音出力部の他の設定例を示す図である。
実施の形態1に係るノイズキャンセルシステムのノイズキャンセル方法を示す図である。
実施の形態1に係るノイズキャンセル装置のノイズキャンセル方法を示すフローチャートである。
実施の形態2に係るノイズキャンセルシステムの全体構成を示す図である。
実施の形態2に係る照明装置および制御装置のブロック構成図である。
制御装置の記憶部に記憶された照明装置の識別情報および配置情報等を示す図である。
施設内の複数の領域に配置された複数の照明装置を示す図である。
所定の領域に配置された第1の照明装置、および、他の領域に配置された第2の照明装置の一例を示す図である。
所定の領域に配置された第1の照明装置、および、他の領域に配置された第2の照明装置の他の一例を示す図である。
2つの領域における音収集部および音出力部の設定例を示す図である。
2つの領域における音収集部および音出力部の他の設定例を示す図である。
実施の形態2に係るノイズキャンセルシステムのノイズキャンセル方法を示す図である。
実施の形態2に係る照明装置のノイズキャンセル方法を示すフローチャートである。
【発明を実施するための形態】
【0010】
(本発明に至る経緯)
ノイズキャンセル装置は、外から入るノイズをキャンセルするために用いられる。例えば、施設内の空間を任意に区切って複数の領域を形成する場合、複数の領域のそれぞれにノイズキャンセル装置が配置される。しかしながら、複数の領域のレイアウトが変更になった場合、変更後の領域の大きさ、形状等に応じてノイズキャンセル装置の配置および配線を変更する必要がある。つまり従来のノイズキャンセル装置では、施設内の空間のレイアウトに変更があった場合に、ノイズをキャンセルすることが容易でないという問題がある。
(【0011】以降は省略されています)
この特許をJ-PlatPat(特許庁公式サイト)で参照する
関連特許
個人
ギター
3日前
個人
遮音材
1か月前
個人
管楽器用リガチャ-
1か月前
個人
歌唱補助器具
1か月前
横浜ゴム株式会社
音響材
24日前
個人
音声出力装置
1か月前
三井化学株式会社
防音構造体
4日前
三井化学株式会社
防音構造体
4日前
大和ハウス工業株式会社
音低減設備
1か月前
DIC株式会社
吸音材及び吸音部品
1か月前
個人
管楽器用音質改善留め具
18日前
NOK株式会社
吸音構造体
1か月前
株式会社デンソー
音低減装置
3日前
矢崎総業株式会社
車両用対話システム
1か月前
株式会社SinasSP
自動騒音低減装置
1か月前
横浜ゴム株式会社
多層空洞音響材
1か月前
株式会社第一興商
カラオケ装置
1か月前
三井化学株式会社
防音構造体および自動車の防音構造
4日前
ヤマハ株式会社
鍵盤装置
11日前
有限会社ツバサ
エレキギターおよび保護フィルム付きの樹脂プレート
1か月前
ヤマハ株式会社
音処理装置及び音処理方法
18日前
有限会社 宮脇工房
モーター挙動音発生装置
1か月前
株式会社SUBARU
乗物用遮音構造体、及び車両
1か月前
株式会社デンソー
制御装置、制御方法、及び制御プログラム
24日前
株式会社第一興商
カラオケ装置、カラオケシステム
26日前
株式会社第一興商
カラオケ装置、カラオケシステム
10日前
株式会社第一興商
カラオケ装置、カラオケシステム
3日前
固昌通訊股ふん有限公司
音響調整装置
1か月前
株式会社コルグ
楽音信号変換装置、楽音信号変換方法、プログラム
1か月前
トヨタ自動車株式会社
ブレーキインジケータシステム
3日前
本田技研工業株式会社
音声認識装置、音声認識方法、及びプログラム
5日前
株式会社東芝
発話言語理解のためのシステムおよび方法
1か月前
安克創新科技股フン有限公司
通話ノイズキャンセリング方法及びイヤホン
1か月前
株式会社枚方技研
方向付き楽器固定具
1か月前
株式会社デンソー
制御装置、ロボットシステム、制御方法、及び制御プログラム
1か月前
パイオニア株式会社
音声出力装置
1か月前
続きを見る
他の特許を見る