TOP
|
特許
|
意匠
|
商標
特許ウォッチ
Twitter
他の特許を見る
公開番号
2025139796
公報種別
公開特許公報(A)
公開日
2025-09-29
出願番号
2024038830
出願日
2024-03-13
発明の名称
クリッピング装置及びクリッピング方法
出願人
株式会社JVCケンウッド
代理人
個人
主分類
G10L
21/0332 20130101AFI20250919BHJP(楽器;音響)
要約
【課題】さまざまな騒音環境の中で音声を判別しやすくすることが望まれている。
【解決手段】音声信号を取得する音声信号取得部と、周囲音を入力する周囲音入力部と、周囲音入力部に入力した周囲音から最も強度が高い周波数または最も強度が高い周波数を含む所定の周波数帯域である騒音の周波数を算出する周波数算出部と、周波数算出部で算出した騒音の周波数に応じて、音声信号をクリッピングする大きさであるクリッピング量を決定し、決定したクリッピング量に基づいて、音声信号の振幅をクリッピング制御するクリッピング部と、クリッピング制御した音声信号を出力する出力部と、を備える、クリッピング装置を提供する。
【選択図】図1
特許請求の範囲
【請求項1】
音声信号を取得する音声信号取得部と、
周囲音を入力する周囲音入力部と、
前記周囲音入力部に入力した前記周囲音から最も強度が高い周波数または最も強度が高い周波数を含む所定の周波数帯域である騒音の周波数を算出する周波数算出部と、
前記周波数算出部で算出した前記騒音の周波数に応じて、前記音声信号をクリッピングする大きさであるクリッピング量を決定し、決定した前記クリッピング量に基づいて、前記音声信号の振幅をクリッピング制御するクリッピング部と、
クリッピング制御した前記音声信号を出力する出力部と、
を備える、クリッピング装置。
続きを表示(約 680 文字)
【請求項2】
前記クリッピング部は、前記騒音の周波数が所定の周波数に比べて低い場合は、前記クリッピング量を大きくし、前記騒音の周波数が前記所定の周波数に比べて高い場合は、前記クリッピング量を小さく決定する、請求項1に記載のクリッピング装置。
【請求項3】
前記周波数算出部は、前記音声信号取得部で取得した音声信号の周波数のうち強度が最も高い周波数である音声の周波数を算出し、
前記クリッピング部は、前記騒音の周波数と前記音声の周波数との周波数差が所定の周波数差に比べて小さい場合は、前記クリッピング量を大きく決定し、前記騒音の周波数と前記音声の周波数との周波数差が所定の周波数差に比べて大きい場合は、前記クリッピング量を小さく決定する、請求項1に記載のクリッピング装置。
【請求項4】
前記騒音の周波数は、平均化された音量の平均周波数または平均化された音量の平均周波数を含む所定の周波数帯域である、請求項1乃至3のいずれか1項に記載のクリッピング装置。
【請求項5】
音声信号を取得し、
周囲音を入力し、
入力した前記周囲音から最も強度が高い周波数または最も強度が高い所定の周波数帯域である騒音の周波数を算出し、
算出した前記騒音の周波数に応じて、前記音声信号をクリッピングする大きさであるクリッピング量を決定し、決定した前記クリッピング量に基づいて、前記音声信号の振幅をクリッピング制御し、
クリッピング制御した前記音声信号を出力する、クリッピング方法。
発明の詳細な説明
【技術分野】
【0001】
本発明はクリッピング装置及びクリッピング方法に関する。
続きを表示(約 2,400 文字)
【背景技術】
【0002】
特許文献1には、通信相手の音声の明瞭度を改善できる携帯型無線機器の補聴処理装置が記載されている。
【先行技術文献】
【特許文献】
【0003】
特開2002-218045号公報
【発明の概要】
【発明が解決しようとする課題】
【0004】
しかしながら、騒音は、場所や時間など環境に応じて大きく異なる。それに対して、特許文献1の携帯型無線機器の補聴処理装置は、入力音声信号が最大振幅の25%±5%の範囲でしかクリッピングされない。そこで、さまざまな騒音環境の中で音声を判別しやすくすることが望まれている。
【課題を解決するための手段】
【0005】
本開示のクリッピング装置は、
音声信号を取得する音声信号取得部と、
周囲音を入力する周囲音入力部と、
前記周囲音入力部に入力した前記周囲音から最も強度が高い周波数または最も強度が高い周波数を含む所定の周波数帯域である騒音の周波数を算出する周波数算出部と、
前記周波数算出部で算出した前記騒音の周波数に応じて、前記音声信号をクリッピングする大きさであるクリッピング量を決定し、決定した前記クリッピング量に基づいて、前記音声信号の振幅をクリッピング制御するクリッピング部と、
クリッピング制御した前記音声信号を出力する出力部と、
を備える、クリッピング装置である。
【0006】
本開示のクリッピング方法は、
音声信号を取得し、
周囲音を入力し、
入力した前記周囲音から最も強度が高い周波数または最も強度が高い周波数を含む所定の周波数帯域である騒音の周波数を算出し、
算出した前記騒音の周波数に応じて、前記音声信号をクリッピングする大きさであるクリッピング量を決定し、決定した前記クリッピング量に基づいて、前記音声信号の振幅をクリッピング制御し、
クリッピング制御した前記音声信号を出力する、クリッピング方法である。
【発明の効果】
【0007】
本開示により、さまざまな騒音環境の中で音声を判別しやすくすることができる。
【図面の簡単な説明】
【0008】
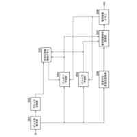
実施の形態にかかるクリッピング装置の構成を示すブロック図である。
実施の形態1にかかるクリッピング方法のフローチャートである。
実施の形態2にかかるクリッピング方法のフローチャートである。
クリッピング量を0%にしたクリッピング無しのオシロスコープとスペクトルアナライザの波形を示す図である。
クリッピング量を10%にしてクリッピングしたオシロスコープとスペクトルアナライザの波形を示す図である。
クリッピング量を20%にしてクリッピングしたオシロスコープとスペクトルアナライザの波形を示す図である。
クリッピング量を50%にしてクリッピングしたオシロスコープとスペクトルアナライザの波形を示す図である。
実施の形態1にかかるクリッピング方法の騒音の周波数のイメージ図である。
実施の形態1にかかる騒音の周波数とクリッピング量の一例である。
実施の形態2にかかるクリッピング方法の騒音の周波数と音声周波数のイメージ図である。
実施の形態2にかかる音声信号の周波数と騒音の周波数の周波数差とクリッピング量の一例である。
【発明を実施するための形態】
【0009】
実施の形態
以下、図面を参照して本発明の実施の形態について説明する。しかしながら、特許請求の範囲にかかる発明を以下の実施の形態に限定するものではない。また、実施の形態で説明する構成の全てが課題を解決するための手段として必須であるとは限らない。説明の明確化のため、以下の記載及び図面は、適宜、省略、及び簡略化がなされている。各図面において、同一の要素には同一の符号が付されており、必要に応じて重複説明は省略されている。
【0010】
(実施の形態にかかるクリッピング装置の説明)
図1は、実施の形態にかかるクリッピング装置の構成を示すブロック図である。図4は、クリッピング量を0%にしたクリッピング無しのオシロスコープとスペクトルアナライザの波形を示す図である。具体的には、音声信号の振幅が100%の状態、すなわち、クリッピング閾値を±0.0でクリッピング無しのときのオシロスコープとスペクトルアナライザの波形を示す図である。図5は、クリッピング量を10%にしてクリッピングしたオシロスコープとスペクトルアナライザの波形を示す図である。具体的には、音声信号の振幅が90%の状態、すなわち、クリッピング閾値を±0.9でクリッピングしたときのオシロスコープとスペクトルアナライザの波形を示す図である。図6は、クリッピング量を20%にクリッピングしたオシロスコープとスペクトルアナライザの波形を示す図である。具体的には、音声信号の振幅が80%の状態、すなわち、クリッピング閾値を±0.8でクリッピングしたときのオシロスコープとスペクトルアナライザの波形を示す図である。図7は、クリッピング量を50%にクリッピングしたオシロスコープとスペクトルアナライザの波形を示す図である。具体的には、音声信号の振幅が50%の状態、すなわち、クリッピング閾値を±0.5でクリッピングしたときのオシロスコープとスペクトルアナライザの波形を示す図である。図1、図4から図7を参照しながら、実施の形態にかかるクリッピング装置を説明する。
(【0011】以降は省略されています)
この特許をJ-PlatPat(特許庁公式サイト)で参照する
関連特許
株式会社JVCケンウッド
駆動制御装置
5日前
株式会社JVCケンウッド
呼気測定装置及び認証方法
7日前
株式会社JVCケンウッド
色補正装置および色補正方法
6日前
株式会社JVCケンウッド
映像記録装置及び映像記録方法
6日前
株式会社JVCケンウッド
映像記録装置及び映像記録方法
6日前
株式会社JVCケンウッド
端末装置及び表示映像決定システム
6日前
株式会社JVCケンウッド
表示装置、表示方法、及びプログラム
今日
株式会社JVCケンウッド
表示装置、表示方法、及びプログラム
今日
株式会社JVCケンウッド
表示装置、表示方法、及びプログラム
今日
株式会社JVCケンウッド
表示装置、表示方法、及びプログラム
今日
株式会社JVCケンウッド
空間共有システムおよび空間共有方法
7日前
株式会社JVCケンウッド
オブジェクト認識制御装置およびオブジェクト認識制御方法
6日前
株式会社JVCケンウッド
動画像符号化装置、動画像符号化方法、及び動画像符号化プログラム、動画像復号装置、動画像復号方法及び動画像復号プログラム
4日前
個人
木管楽器
14日前
個人
管楽器用リガチャ-
今日
株式会社豊田中央研究所
吸音構造体
22日前
本田技研工業株式会社
車室環境制御装置
18日前
株式会社東芝
吸音装置
20日前
積水樹脂株式会社
吸音シート
18日前
株式会社SinasSP
自動騒音低減装置
5日前
カシオ計算機株式会社
減音器具
20日前
カシオ計算機株式会社
減音器具
20日前
トヨタ自動車株式会社
判定装置
7日前
株式会社第一興商
カラオケ装置
18日前
株式会社第一興商
カラオケ装置
22日前
日本軽金属株式会社
遮音壁
12日前
株式会社第一興商
カラオケ装置
12日前
カシオ計算機株式会社
発音装置、発音方法及びプログラム
7日前
中原大學
能動騒音除去機能を持つレンジフード
22日前
ブラザー工業株式会社
カラオケ装置及びカラオケプログラム
12日前
シャープ株式会社
電子機器および電子機器の制御方法
12日前
日本電気株式会社
放送用システムおよび字幕作成方法
14日前
カシオ計算機株式会社
電子鍵盤楽器
18日前
ブラザー工業株式会社
カラオケ用プログラム、及び、カラオケ装置
11日前
株式会社JVCケンウッド
クリッピング装置及びクリッピング方法
22日前
ブラザー工業株式会社
音声録音装置、及び、音声録音用プログラム
11日前
続きを見る
他の特許を見る