TOP
|
特許
|
意匠
|
商標
特許ウォッチ
Twitter
他の特許を見る
10個以上の画像は省略されています。
公開番号
2025156873
公報種別
公開特許公報(A)
公開日
2025-10-15
出願番号
2024059608
出願日
2024-04-02
発明の名称
色補正装置および色補正方法
出願人
株式会社JVCケンウッド
代理人
個人
主分類
G06T
5/50 20060101AFI20251007BHJP(計算;計数)
要約
【課題】色補正を行うための新たな技術を提供する。
【解決手段】本開示の色補正装置は、カメラによって生成された複数の画像を取得し、画像から所定の物体を検出し、画像に含まれる複数の部分領域の中から、物体を含む部分領域を特定し、画像において物体を表す画像領域に対して、その画像においてその物体が含まれる部分領域と、その画像よりも前に生成された1つ以上の画像においてその物体が含まれる部分領域とに基づく色補正を実行する。
【選択図】図1
特許請求の範囲
【請求項1】
カメラによって生成された複数の画像を取得する取得部と、
前記画像から所定の物体を検出する検出部と、
前記画像に含まれる複数の部分領域の中から、前記物体を含む前記部分領域を特定する特定部と、
前記画像において前記物体を表す画像領域に対して、その画像においてその物体が含まれる前記部分領域と、その画像よりも前に生成された1つ以上の前記画像においてその物体が含まれる前記部分領域とに基づく色補正を実行する補正部と、を有する色補正装置。
続きを表示(約 840 文字)
【請求項2】
前記補正部は、前記画像において前記物体が含まれる前記部分領域と、その画像よりも前に生成された1つ以上の前記画像においてその物体が含まれる前記部分領域とに基づいて、色補正に利用される補正係数を決定する、請求項1に記載の色補正装置。
【請求項3】
前記補正部は、
複数の前記部分領域それぞれと基準の補正係数との対応づけを含む部分領域情報を用いて、前記画像において前記物体が含まれる前記部分領域に対応する前記基準の補正係数と、その画像よりも前に生成された1つ以上の前記画像においてその物体が含まれる前記部分領域に対応する前記基準の補正係数とを取得し、
前記色補正に利用される補正係数として、前記取得された複数の前記基準の補正係数の統計値を算出する、請求項1または2に記載の色補正装置。
【請求項4】
前記部分領域情報は、前記画像における各前記部分領域の位置をさらに含み、
前記特定部は、前記部分領域情報を用いて、前記画像において前記物体が含まれる前記部分領域を特定し、
現在の前記カメラの姿勢パラメータと、前回特定された前記カメラの姿勢パラメータとに基づいて、前記部分領域情報に示される各前記部分領域の位置を更新する更新部をさらに有する、請求項3に記載の色補正装置。
【請求項5】
カメラによって生成された複数の画像を取得する取得ステップと、
前記画像から所定の物体を検出する検出ステップと、
前記画像に含まれる複数の部分領域の中から、前記物体を含む前記部分領域を特定する特定ステップと、
前記画像において前記物体を表す画像領域に対して、その画像においてその物体が含まれる前記部分領域と、その画像よりも前に生成された1つ以上の前記画像においてその物体が含まれる前記部分領域とに基づく色補正を実行する補正ステップと、を有する、コンピュータによって実行される色補正方法。
発明の詳細な説明
【技術分野】
【0001】
本開示は、色補正装置および色補正方法に関する。
続きを表示(約 1,700 文字)
【背景技術】
【0002】
画像に対して色補正を行う技術が開発されている。例えば特許文献1は、画像に対して顔検出を行い、顔検出の結果に応じて適切なホワイトバランス補正を行う技術を開示する。
【先行技術文献】
【特許文献】
【0003】
特開2007-312099号公報
【発明の概要】
【発明が解決しようとする課題】
【0004】
特許文献1の技術は、撮影対象が人であることを前提としている。本開示は上記の課題に鑑みてなされたものであり、その目的の一つは、画像に対して色補正を行うための新たな技術を提供することである。
【課題を解決するための手段】
【0005】
本開示に係る色補正装置は、カメラによって生成された複数の画像を取得する取得部と、前記画像から所定の物体を検出する検出部と、前記画像に含まれる複数の部分領域の中から、前記物体を含む前記部分領域を特定する特定部と、前記画像において前記物体を表す画像領域に対して、その画像においてその物体が含まれる前記部分領域と、その画像よりも前に生成された1つ以上の前記画像においてその物体が含まれる前記部分領域とに基づく色補正を実行する補正部と、を有する。
【0006】
本開示に係る色補正方法は、コンピュータによって実行される。当該色補正方法は、カメラによって生成された複数の画像を取得する取得ステップと、前記画像から所定の物体を検出する検出ステップと、前記画像に含まれる複数の部分領域の中から、前記物体を含む前記部分領域を特定する特定ステップと、前記画像において前記物体を表す画像領域に対して、その画像においてその物体が含まれる前記部分領域と、その画像よりも前に生成された1つ以上の前記画像においてその物体が含まれる前記部分領域とに基づく色補正を実行する補正ステップと、を有する。
【発明の効果】
【0007】
本開示によれば、画像に対して色補正を行うための新たな技術が提供される。
【図面の簡単な説明】
【0008】
図1は、色補正装置の動作の概要を例示する図である。
図2は、色補正装置の機能構成を例示するブロック図である。
図3は、色補正装置を実現するコンピュータのハードウエア構成を例示するブロック図である。
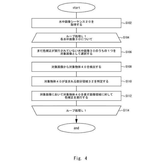
図4は、色補正装置によって実行される処理の流れを例示するフローチャートである。
図5は、部分領域情報を例示する図である。
図6は、図5に示される部分領域情報に基づいて分割されている水中画像を例示する図である。
図7は、基準係数が含まれる部分領域情報を例示する図である。
図8は、色補正装置の機能構成を例示する第2のブロック図である。
図9は、前回の姿勢の水中カメラについて、水中画像と部分領域との位置関係を例示する図である。
図10は、現在の姿勢の水中カメラについて、水中画像と部分領域との関係を例示する図である。
【発明を実施するための形態】
【0009】
以下では、本開示の実施形態について、図面を参照しながら詳細に説明する。各図面において、同一又は対応する要素には同一の符号が付されており、説明の明確化のため、必要に応じて重複説明は省略される。また、特に説明しない限り、所定値や閾値などといった予め定められている値は、その値を利用する装置からアクセス可能な記憶部などに予め格納されている。さらに、特に説明しない限り、記憶部は、1つ以上の任意の数の記憶装置によって構成される。
【0010】
[実施形態1]
<概要>
図1は、色補正装置2000の動作の概要を例示する図である。図1は、色補正装置2000の理解を容易にするために色補正装置2000の動作の一例を概念的に示す図であり、色補正装置2000の動作は図1に示されているものに限定されない。
(【0011】以降は省略されています)
この特許をJ-PlatPat(特許庁公式サイト)で参照する
関連特許
個人
詐欺保険
2日前
個人
縁伊達ポイン
2日前
個人
地球保全システム
15日前
個人
QRコードの彩色
6日前
個人
工程設計支援装置
2か月前
個人
為替ポイント伊達夢貯
1か月前
個人
冷凍食品輸出支援構造
1か月前
個人
携帯情報端末装置
2か月前
個人
農作物用途分配システム
1日前
個人
表変換編集支援システム
1か月前
個人
残土処理システム
8日前
個人
知財出願支援AIシステム
1か月前
個人
結婚相手紹介支援システム
1か月前
個人
知的財産出願支援システム
9日前
個人
AIによる情報の売買の仲介
1か月前
個人
パスワード管理支援システム
1か月前
個人
行動時間管理システム
1か月前
日本精機株式会社
施工管理システム
1か月前
個人
AIキャラクター制御システム
1か月前
個人
海外支援型農作物活用システム
27日前
株式会社キーエンス
受発注システム
14日前
株式会社キーエンス
受発注システム
14日前
個人
システム及びプログラム
28日前
株式会社キーエンス
受発注システム
14日前
個人
パスポートレス入出国システム
1か月前
株式会社アジラ
進入判定装置
1か月前
個人
食品レシピ生成システム
14日前
個人
帳票自動生成型SaaSシステム
9日前
サクサ株式会社
中継装置
1か月前
個人
人格進化型対話応答制御システム
1か月前
個人
冷凍加工連携型農場運用システム
1か月前
個人
音声・通知・再配達UX制御構造
9日前
個人
SaaS型勤務調整支援システム
1か月前
個人
音声対話型帳票生成支援システム
1か月前
大阪瓦斯株式会社
住宅設備機器
1か月前
キヤノン株式会社
表示システム
14日前
続きを見る
他の特許を見る